sinapsi SIN.EQRTUEVO1T M-Bus/Wireless M-Bus
Data Logger User Guide

1. OVERVIEW

– System formation with up to 500 logical M-Bus devices and 2500 wireless devices
– It can be extended with up to 23 gateway, each with up to 500 wireless devices
– The M-Bus network can be extended with up to 6 level converter (SIN.EQLC1, SIN.EQLC250)
– Local and remote reading with PC/browser over Ethernet and Internet
– Meters data acquisition interval from 15′ to 1 month
– Meters reading, reports sending, system remote management
– 24Vac/dc +/-10% power supply
– DIN rail mounting (4 modules)
– 128x128px 262K colors graphic display and onboard I/O
A. Graphic display
B. Navigation keys
C. Power supply led
D. Ethernet Port
E. SMA antenna connector for gateway
F1. Serial connector for M-Bus level converter
F2. M-Bus connector (up to 20 M-Bus loads*)
G. Power supply connector
H. Relay 1 connector
I. Relay 2 connector
L. Digital input connectors
M. For future applications
* An M-Bus load unit ≤ 1.5 mA
2. CONNECTIONS
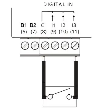
Digital Inputs:
(8) – Common for digital Inputs
(9) – Digital Input 1 (free contact)
(10) – Digital Input 2 (free contact)
(11) – Digital Input 3 (free contact)
Relay Output:
(12) – Common Relay 1
(13) – NO Relay 1 Contact
(14) – Common Relay 2
(15) – NO Relay 2 Contact
Direct connection with meters:
(4) – M1 for connection with M-Bus dev.
(5) – M2 for connection with M-Bus dev.
Power supply:
(16) – Input 1 for device power supply
(17) – Input 2 for device power supply
Other connections:
(1) – A RS232-RX
(2) – B RS232-TX
(3) – C RS232-GND
(ETH) – Ethernet Port for LAN connection (10/100 Mbps)
(USB) – For future applications
(SMA) – Female antenna connector for gateway
3. TECHNICAL DATA



Apply to the device a supply voltage equal to 24Vac/dc +/- 10%
Before making any connections, turn off the power, remove the terminals, complete wiring and then plug terminals with the correct position
FREE VOLTAGE INPUT CONNECTION

RELAY OUTPUT

4. FIRST ACCESS VIA DISPLAY
On first use of the device
Create a new 8-digit PIN code

5. FIRST ACCESS TO THE WEBSERVER
LOCAL ACCESS

- Connect the Ethernet port to the PC or LAN
- Make sure that the PC has an IP address such as 192.168.1.xxx where xxx is a number between 1 and 254 other than 110
Open an internet browser (Chrome, Firefox, Safari or I.Explorer) - On the address bar type 192.168.1.110
- At the authentication request click on “First Access” and follow the instructions given.
REMOTE ACCESS
- Connect the Ethernet port to a modem/router with an internet connection.
- Use the local display to set the device to DHCP. Follow the settings below

3) Open an internet browser (Chrome, Firefox, Safari or Internet Explorer).
4) On the address bar type .net.sghiot.com (e.g. EV12345678.net.sghiot.com)
5) At the authentication request click on “First Access” and follow the instructions provided.
To facilitate access, the procedure referred to in the previous points is also indicated on a label next to the device, showing in full and on QR code the address to be typed to access remotely
TROUBLESHOOTING
- The datalogger does not turn ON:
– Check with the aid of a multimeter that the voltage between the terminals (16) and (17) is 24Vac/dc +/- 10% - The display is off:
– After 10 minutes of inactivity, the display turns off. To turn on again, press any key - Not all wired meters are detected:
– Verify that not detected meters support 2400bps default communication speed and addressing for primary and secondary address
– Verify that the maximum number of allowed wired meters hasn’t been already configured - Not all W. M-Bus are detected:
– Verify that a radio scan of meters has been performed
– Verify that the gateway is connected to the power, supply and that is properly configured
– Make sure that the blue led light is on and does not blink, otherwise verify that ID-Mesh and Mesh channel are correctly set in SIN.EQRTUEVO1T and in the gateway
– Verify that there are no other active Mesh networks with the same ID-Mesh of your system. If so, select another ID-Mesh for all the gateways and for SIN.EQRTUEVO1T of the plant
– Verify that W.M-Bus meters are working and active
– Verify the mode of operation on SIN.EQRTUEVO1T is correctly set in S-Mode, T-Mode o C-Mode.
5) None of the meters is detected:
– Check the M-Bus interface connection to the meter
– Check the connections (4) – M1 and (5) – M2 to the M-Bus slave interface of the SIN.EQLC1 (if present)
– Check for short circuit on M-Bus wiring
6) Unable to access the webserver:
– Verify that your PC has an address in the same network as the datalogger. The datalogger default IP address is 192.168.1.110, then the PC must have a 192.1.168.1. xxx address different from 192.168.1.110
– Ensure that the PC does not have an active DHCP
– Verify that there is no firewall blocking the TCP / IP 80 and 443 port.
7) Cannot access the webserver remotely:
– Check if there is an IP address under the item internet_status which can be reached from the local display through the System Info menu.
Manufactured by SINAPSI SRL – Via delle Querce 11/13 – 06083 Bastia Umbra (PG) – Italy
DOWNLOAD DOCUMENTATION: http://www.sinapsitech.it/en/download-equobox/
















