Frameless WallMounted LED Light Bathroom Mirror
Instruction Manual
Installation and Operating Manual
The clock version
The standard version
WARNING AND SAFETY INSTRUCTIONS
Please make sure that you carefully read through this instruction sheet and refer back to them during installation to ensure your product is fitted safely and correctly before installing your LED Lighted Mirror fixture. Keep these instructions for future use.
WARNING Risk of Fire and Electric Shock
- All fittings must be installed in accordance with current IEE wiring regulations. If in doubt, consult a qualified electrician.
- Switch off the electrical supply at the main circuit board BEFORE installation and maintenance.
- Suitable for indoor use only. This product should be positioned well away from curtains and fabrics. Never cover the mirror.
- Regularly check the cord, the transformer, and all other parts for damage. If any part is damaged the product should not be used.
INSTALLATION SAFETY
- Inspect the product immediately upon receipt for transit damage or missing parts. Handle the product with care and protect against knocks to all sides and edges of the glass.
- Ensure there are no hidden pipes or cables in the wall before drilling.
- Wear suitable eye protection when drilling. Take care of drilling on tiled surfaces in case the drill slips.
CAUTION
The light source of this product is non‐changeable light diodes (LED). Do not disassemble the product, as the light diodes can cause damage to the eyes.
NOTE: The important safeguards and instructions that appear in this manual are not meant to cover all possible conditions and situations that may occur. It must be understood that common sense, caution, and care, are factors that can’t be built into any product. These factors must be supplied by the person(s) caring for and operating the fixture. Do not install this fixture in hazardous locations.
CHECK THE PRODUCT LIST AFTER OPENING THE PACKAGE
| ● LED Lighted Mirror | ‐‐1 | pcs | ● Screws for wall | ‐‐3~6 | pcs |
| ● Mounting bar | ‐‐1 | pcs | ● Type A Plastic Anchor | ‐‐3~6 | pcs |
| ● Installation Manual | ‐‐1 | pcs | ● Type B Plastic Anchor | ‐‐3~6 | pcs |
TOOLS YOU MAY NEED

INSTALLATION MANUAL
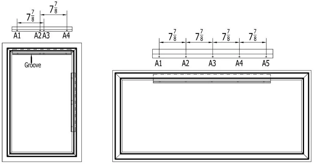
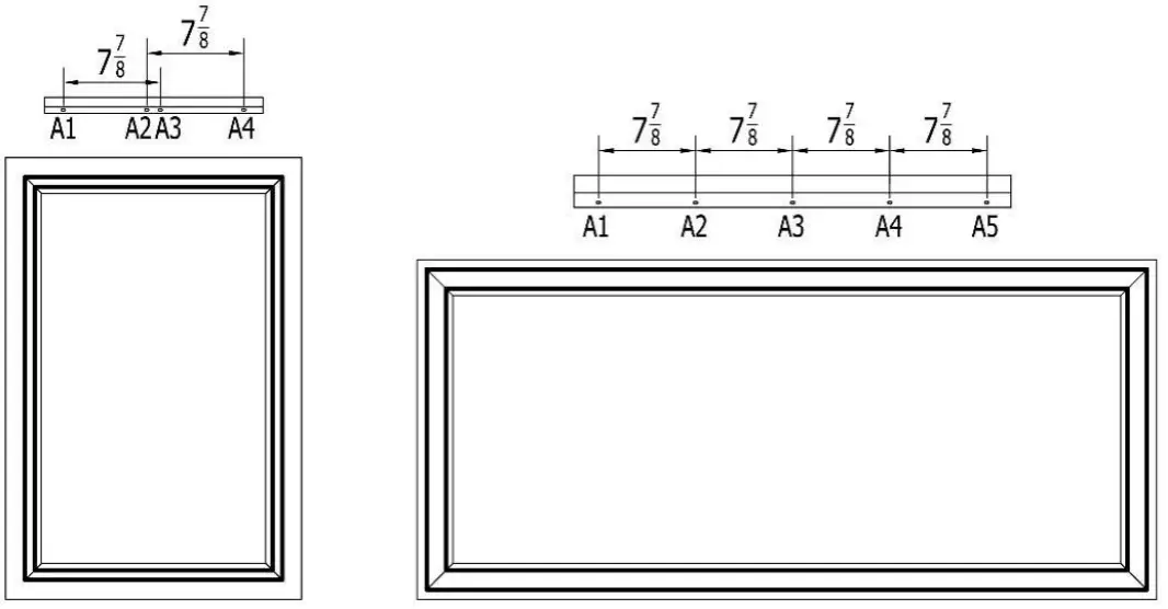
1 Level and mark the location (vertically hanging and horizontally hanging) | |
| Notes: | 1. Fix the mounting bar into the wall firstly with the distance as above drawing; 2. For the mirror with the ON/OFF button on the right bottom side, we have a special design to hang the mirror either vertically or horizontally; 3. The distance between each 2 hanging holes is 7⅞ inch. |
2 Place the mounting bar against the wall and make some marks on the wall | ![]() 3 Drill the holes and place the suitable plastic anchors |
4 Screw the mounting bar onto the wall with the screw | 5 Connect the mirror to the main supply.● We provide plugs with mirrors. ● Optional to cut the plug directly, then connect to electrical wiring if using the wall switch. ATTENTION: PLEASE CUT OFF THE MAIN POWER SUPPLY BEFORE WIRING! |
6 Hang the mirror onto the mounting bar (vertically hanging and horizontally hanging) | |
OPERATION INSTRUCTION
ON/OFF and CCT adjustment![]()
- The button turns blue when connected to the main supply.
- The button is always on as long as connecting to the main supply.
- Short‐touch the button to turn it on/off the mirror.
- Adjusting color temperatures (CCT) between warm white and cool white by long‐touching the button for seconds.
- Finish setting by withdrawing your finger when the color reaches the one you need.
- Optional to be wired to wall switch by ON/OFF memory function.
![]()
Press and hold on for 3‐5 seconds![]()
- Short‐touch the button to turn it on/off the mirror.
- Long touching the button to adjust the brightness (Dimming).
![]()
- The mirror begins to be warm and defog after pressing the defogger button. Press again to quit the anti‐fog function.
- Note: The defogger will stop automatically after 60 minutes of continuous operation to prevent any damage caused by prolonged high temperatures.
| Clock/Temperature (This operation is specific to the clock version) ● Turn off the light to set the clock. ● Long touch button 1 or 2 for seconds, and the Hour will flash, then short‐touch buttons 1 and 2 to set Hour. ● Wait for seconds after setting up the Hour, then it will automatically switch to the Minute flash. ● Short‐touch buttons 1 and 2 to set up the Minute. ● Wait seconds after you finish the time setting, the time will be saved automatically. ● The clock shows for 5s, and shifts to the temperature showing for 2s then goes back to show the clock. | ![]() |
| ● It automatically displays the indoor temperature by auto-sensing through the temperature sensor. ● DO NOT cover the temperature sensor. ● Night light will be auto‐on/off according to the brightness surrounding when the rocker switch is kept turned on. ● If need turns off the nightlight at night, please turn off the rocker switch manually. | |
AFTERCARE INSTRUCTIONS
Clean using a soft dry cloth only when turned off. Never use cleaning agents or abrasive materials. Do not allow moisture to come into contact with the lamp.
THANK YOU FOR YOUR SUPPORT.
We wish you have a wonderful experience with our product. If you have any other needs or queries, please feel free to contact us by email at [email protected], and get replies within 48 business hours.
1 Level and mark the location (vertically hanging and horizontally hanging)
2 Place the mounting bar against the wall and make some marks on the wall
4 Screw the mounting bar onto the wall with the screw
5 Connect the mirror to the main supply.
6 Hang the mirror onto the mounting bar (vertically hanging and horizontally hanging)
















