Beef Eater Discovery 1100 Series Outdoor Kitchen

Content

Main Parts
| Mrk | Qty | description | Car ton |
| 1 | 1 | 1100 Series BBQ with Hood | 1 |
| 2 | 2 | Standard Cabinet | 2 |
| 3 | 2 | Heat Shield spacer | 1 |
| 4 | 1 | Base Shelf | |
| 5 | 1 | Front Guard |
Bolt Pack Content
| Mrk | Qty | description |
| A | 4 | M6 x 30 screw |
| B | 4 | M6 x 12 screw |
| C | 4 | M4 x 10 screw |
| D | 8 | Fiber washer |
| E | 4 | M6 Nut |
| F | 1 | Rubber grommet |
| G | 12 | Medium plastic plug |
| H | 4 | Small plastic plug |
| I | 2 | Large plastic cover |
| J | 1 | Allan Key |
- The image and assembly procedure refers to Basic Outdoor Kitchen configuration. If you have purchased additional modules, continue to page 6 of this manual for instructions on how to put them together and assemble to this Outdoor Kitchen.
- Bolt Pack can be found inside the Base Shelf carton.
1100Series Outdoor Kitchen Assembly Procedure
Important Note: It is easier to do all assembly work while components are lying on their back, so that they do not need to be supported in the air. Once completed, the assembly can be brought back upright, leveled and completed. If choosing to work this way, ensure to remove all loose items from the different parts, and lay back on a padded, flat and level surface, not too far from where you wish the Outdoor Kitchen to stand.
- Step 1
4 x ‘B’, 4 x ‘E’, 8 x ‘D’ Remove the Hood and all other loose items from inside BBQ, and place it on its back. Attached the Heat Shield spacer with 2 short screws to each side using nuts.
- Step 2
4 x ‘A’, 4 x ‘E’, 8 x ‘D’ Position the 2 cabinets on the sides of the BBQ, and attach to the BBQ with 2 screws through the 2 remaining free holes in Heat Shield spacer on each side. Fasten with nuts
- Step 3
4 x ‘D’, 4 x ‘B’, 1 x ‘F’ Connect the base shelf to place. Once done, stand the whole assembly upright. Fit rubber grommet.
- Step 4
4 x ‘C’, Attach the Front Guard. You may reassemble the Hood, burners, Vaporizers, Grills and Plates.
Door Handle
Cabinet handles should be mounted using the bottom and middle holes.
To reverse a door direction
Doors are fully reversible, and can be Right or Left hand opening.
To reverse a door, follow these steps:
- Remove the door by lifting up off the hinge pin, and taking out.
- Remove the hinge blocks from the side panel, turn upside down, and reattach to opposite panel.
- In the door, remove 2 hinge brackets and reattach upside down, on other side of opening.
- Release the handle, turn upside down, and reattach.
- Turn door upside down, and insert to place to re-engage over hinges.

- Holes on the very end panels can be hidden using plugs ‘G’, ‘H’ and ‘I’ supplied.
- Each cabinet is fitted with 4 adjustable feet. The Outdoor Kitchen can be leveled by adjusting these feet up or down, turning with the Allen key supplied from inside the cabinet, through the holes in the corners.
Other Modules and accessories
If you have purchased other, optional modules to be part of your Outdoor Kitchen, here are a few hints on assembly and function.
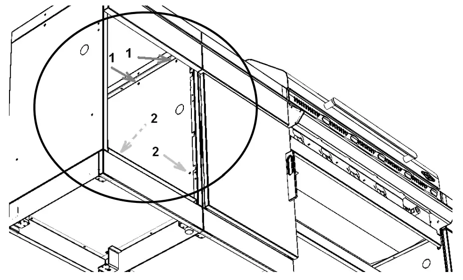
Cabinets
Position each cabinet to be added in its correct position, level it with the Outdoor Kitchen, and then fasten to the near cabinet with the 4 screws included. In position 1 (below), 2 x screw, washers and nuts. In position 2 (below), 2 x special screw – thread through both cabinets and tighten.
Sink Module
The sink module is supplied with a tap, and a drainage hose for sink outlet. The tap is to be positioned in the hole in the bench top, and tightened. All water fittings and connections are the responsibility of the customer.
Drawer Module
To attach the drawer module to the rest of the Outdoor Kitchen, it will be required to remove the drawer altogether, in order to gain access to the holes through which the screws are inserted (see above). To remove the drawer, simply pull out towards you completely.
Side Burner Module
The side burner is to be connected to the Gas supply. BeefEater recommends positioning the side burner as close as possible to the BBQ, and never using a rubber hose to connect longer than 1.5m. Regulator is connected to entry ‘A’ (see below) in the Barbecue. Side Burner connected to entry ‘B’ (see below) – remove cap and connect Side-Burner hose. Ensure to conduct Leak-Test after making gas connections. Refer also to Barbecue book P. 4 for Leak-Test procedure. Ensure every place the hose is crossing the metal, is protected with a rubber grommet. This is very important!
Shelves
If you wish to add shelves to the sides of your Outdoor Kitchen, they are attached with 4 screws each from the inside of the end cabinets. No nuts are required.
Warranty
Warranty terms and condition as listed in Barbecue Instructions book P. 11 apply to this Outdoor Kitchen as well. All parts and workmanship of this Outdoor Kitchen are covered for a period of 1 year from date of purchase.
Technical Information
Note: Do not modify this appliance or any of its parts. Any deviation from factory settings could result in a safety hazard.
- Side Burner manifold inlet thread is 3/8 SAE male flare fitting.
- Input Energy (Side Burner): 15Mj.
- Nozzle sizes: LPG – 1.05mm, NG – 1.7mm
Spare Parts (Basic Cabinet)

Images in this manual are for illustrative purposes only. Due to constant improvement, BeefEater advises that changes to the design, material, specifications and product configuration may occur at any time without notice.






















