ADXM1023K FIREPOWER PRO 23 Gaming RGB Mouse

Product Information
The FIREPOWER PRO 23 is a gaming mouse with RGB lighting that provides different DPI resolutions for a better gaming experience. It has seven programmable buttons, including forward and backward buttons, and a dedicated DPI button to switch between different resolution settings. The mouse also features customizable RGB lighting with seven different modes. The ADX HUB 2 software allows users to customize the mouse buttons, macros, and RGB lighting according to their preferences.
Product Usage Instructions
Safety Warnings
Before using the FIREPOWER PRO 23 gaming mouse, read all the safety instructions carefully and keep the instruction manual for future reference. Never point the optical sensor towards the face, particularly the eyes, to avoid possible injury.
- While the mouse is functioning, the optical light is visible to the naked eye. Avoid looking directly into the emitter hole while the mouse is active.
- Your product complies with CE rules.
- This product has no serviceable parts. Use of controls or adjustments of procedures other than the Instruction Manual may result in danger.
Thank you for purchasing your new product. We recommend that you spend some time reading this instruction manual in order that you fully understand all the operational features it offers. You will also find some hints and tips to help you resolve any issues. Read all the safety instructions carefully before use and keep this instruction manual for future reference.
Product Overview
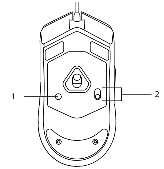
The top view of the mouse has four buttons, including the right button, scroll wheel, left button, and DPI button. The DPI button allows users to switch between different DPI resolutions and the DPI lights show different DPI in different colors. The side view has two buttons, including the forward and backward buttons. The bottom view has two buttons, including the RGB light mode button and RGB on/off button.
Top View
- Right Button
- Scroll Wheel
- Left Button
- DPI Button Press to switch between different DPI resolutions.
- DPI Lights Show different DPI in different colors.
1. Foward Button
2. Backward Button
Bottom View
- RGB light mode Button Press to switch between different RGB light modes.
- RGB ON/OFF Button Press to switch On/Off the RGB light.
DPI Settings
Press the DPI button repeatedly to select the desired resolution. The mouse provides six different DPI settings with different colors, ranging from 800 to 16000.
| Color | DPI |
| Red | 800 |
| Orange | 1600 |
| Yellow | 3200 |
| Green | 6400 |
| Blue | 10000 |
| Purple | 16000 |
RGB Light Settings
Press the RGB light mode button repeatedly to switch between different RGB lighting modes, including Stream (default), Breathing, Static, Pulse, Criss Cross, React, and Random.
Software Installation
To use the ADX HUB 2 software, plug the mouse into the USB port of your computer and download the latest gaming software from https://downloads.adxgaming.com (under ADX HUB 2). Run the software the installer, follow the installation instructions and choose ADX HUB 2.exe from the desktop to start the software.
- Plug the unit into the USB port of your computer.
- Download the latest gaming software from https://downloads.adxgaming.com (under ADX HUB 2).
- Run the software (ADX HUB 2 Setup.exe) installer.
- Follow the installation instruction to complete the installation.
- Choose ADX HUB 2.exe from the desktop to start the software.
User Interface
To customize the mouse buttons, macros, and RGB lighting, select ADX HUB 2.exe from the desktop to launch the software. Select Mouse and then ADXM1023 at the bottom of the connected device list t enter the interface.
- Choose ADX HUB 2.exe from the desktop to launch the software.

- Select “Mouse“ and then “ADXM1023“ at the bottom of the connected device list to enter the interface.
User Interface Customize
- Select Customise to enter the setting page.

- Set your preference for the mouse buttons in the Key Function menu.
- You may save your own preference in the Profile menu.
- Select Apply to implement your settings, or Reset to reset all settings. Some Customise settings may not be supported. Please check the application program of your computer.

Some Customise settings may not be supported. Please check the application program on your computer.
User Interface Light
- Select Light to enter the Light Settings page.
- Choose your preference among the different
- Mode
- Brightness
- Speed
- Select Apply to implement your settings, or Reset to reset all settings.

User Interface Performance
- Select Performance to enter the setting page
- Select the DPI from Level 1 to Level 6, and then set it from 800 to 16000.
- Select the Response Rate between 125 Hz, 250 Hz, 500 Hz, and 1000 Hz.
- Select Apply to implement your settings, or Reset to reset all settings. For MouseParameters, click Open Windows Mouse Properties to open the Mouse Properties menu of your computer.

For Mouse Parameters, click Open Windows Mouse Properties to open the Mouse Properties menu of your computer.
User Interface Macro
- Select Macro and then the + to create a New Macro Command.
- Press Start Recording and record your input command.
- Press Stop Recording, and edit your recorded commands on the right menu
- After recording your input command, press Stop Recording.
- You may edit your recorded commands on the right menu
- Select “Apply“ to implement your settings, or “Reset“ to reset all settings.

User Interface Light Effect
If one more ADX gaming device is connected, you may synchronize its light effect.
- Select the Light Effect and the devices you want to apply the light effect.
- Select your preferred Lighting Settings (Mode, Brightness, and Speed).
- Select “Apply“ to implement your settings.

To reset the setting of a particular device, select a connected device shown in the menu, and then select Reset.
System Requirements
.Operating Systems: Microsoft® Windows® 8 / 10 / 11
Hardware: 1 available USB port
Hints and Tips
- Make sure the USB plug is fully plugged into a USB port and the computer is on or try to use a different USB port.
- If the mouse is moving erratically, change the working surface which the mouse is operating on.
- If the software is not working properly, uninstall it and then reboot the computer. Re-install the software.
- If the unit is not working properly, re-insert the USB plug into the USB port.
Specifications
Features and specifications are subject to change without prior notice.
The symbol on the product or its packaging indicates that this product must not be disposed of with your other household waste. Instead, it is your responsibility to dispose of your waste equipment by handing it over to a designated collection point for the recycling of waste electrical and electronic equipment. The separate collection and recycling of your waste equipment at the time of disposal will help conserve natural resources and ensure that it is recycled in a manner that protects human health and the environment. For more information about where you can drop off your waste for recycling, please contact your local authority, or where you purchased your product. Windows is a registered trademark of Microsoft Corporation in the United States and other countries. All trademarks are the property of their respective owners and all rights are acknowledged. Currys Group Limited (co. no. 504877) 1 Portal Way, London, W3 6RS, UK Currys Ireland Limited (259460) 3rd Floor Office Suite Omni Park SC, Santry, Dublin 9, Republic of Ireland

1. Foward Button

























