Westinghouse WRB5004S Door Reversal Kit

GENERAL WARNINGS
Please read the installation manual carefully and store in a handy place for later reference. Pass the installation manual on to possible new owners of the appliance.
Read the following carefully to avoid damage or injury.
NOTE: You must read these warnings carefully before installing or using the accessory. If you need assistance, contact your Customer Care Department. The manufacturer will not accept liability, should these instructions or any other safety instructions incorporated in this book be ignored.
ENVIRONMENT
Remove and discard any packaging material before using this accessory. Most of the packaging materials are recyclable. Please dispose of those materials through your local recycling depot or by placing them in the appropriate collection containers.
WARNING
Risk of suffocation, injury or permanent disability.
- This accessory is not intended for use by persons (including children) with reduced physical, sensory or mental capabilities, or lack of experience and knowledge, unless they have been given supervision or instructions concerning the use of the appliance by a person responsible for their safety.
- This accessory may contain small parts that are a choking hazard. Not suitable for children under 3 years of age. It is important to use your appliance safely. Check these safety points before using your appliance.
- Do not use or place the accessory near the edge of the table or counter, near hot gas, stove, electric burner or heated oven.
- This accessory is for indoor use only.
- This accessory is intended for domestic use only. Electrolux will not accept any liability for possible damage caused by improper or incorrect use.
- When cleaning, use only a soft cloth with an unscented mild soap and lukewarm water.
- Never use hot water, solvents, commercial kitchen cleaners, aerosol cleaners, metal polishes, caustic or abrasive cleaners, or scourers to clean the accessory, as they may damage it. Many commercially available cleaning products and detergents contain solvents that will damage your accessory.
KIT CONTENTS
WARNING
- It is recommended that the door is reversed by a qualified technician due to the complexity of the process.
- This kit contains parts for various different models. Not all parts will be required to be used.
- Identify the parts required for your application and then put the excess components aside.
- To install the handle, please refer to the Handle Installation instructions.
Top hinge covers
- 1 x LH White
- 1 x RH White
- 1 x LH Grey
- 1 x RH Grey
- Top hinge
- 1 x LH
- 1 x RH
- Bottom hinge
- 1 x LH
- 1 x RH
- Stability foot

- 1 x LH
- 1 x RH
- Cover foot
- 1 x LH White
- 1 x RH White
- 1 x LH Grey
- 1 x RH Grey
- Door closer
- 1 x LH White
- 1 x RH White
- 1 x LH Grey
1 x RH Grey - Grease
- Door handle assembly installation instructions

YOU WILL NEED
8mm (5/16”) hex head socket
Phillips head screwdriver
Flat head screwdriver
Battery drill
GENERAL DESCRIPTION
CABINET TOP
Removing old top hinge
- Unplug appliance from power source
- Ensure appliance is empty of all loose items
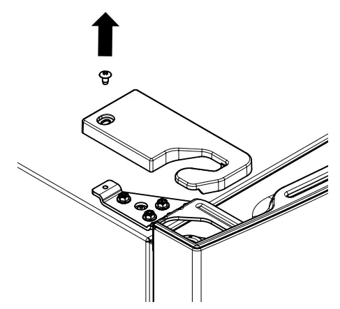
- Remove screw from top hinge cover using Phillips head screw driver
- Retain screw for later

- Retain screw for later
- Remove top hinge cover and discard
- Remove 3 screws from top hinge
- Retain screws for later
- Discard hinge Door is no longer attached to cabinet

- Slightly open the door and lift door vertically off bottom hinge and store in an upright position to prevent damage
- Using a flat screw driver, remove Cover and reposition to other side


CABINET BOTTOM
Removing old bottom hinge
Carefully lay the appliance down on its back on a piece of soft packing material
Your refrigerator is heavy. You may need assistance to lay it down and lift it back up
- Wind height adjusting nut up

- Align slots with screws to allow access to the screws

- Remove 2 (outside) screws with washers using 8mm socket
- Retain screws and washers for later
- Remove roller assembly and put aside for later

- Remove 2 inside screws using 8mm socket
- Retain screws for later
- Remove hinge and discard

Fitting new stability foot
- Select correct handed Stability foot assembly and coloured Foot Cover
- Clip Foot Cover to Stability foot

- Clip Foot Cover to Stability foot
- Fit Stability foot and cover with 2 inside screws using 8mm socket. (Recommended torque 8Nm)

- Clip roller assembly into stability foot
- Secure roller assembly with 2 (outside) screws and washers using 8mm socket, (Recommended torque 8Nm)

- Secure roller assembly with 2 (outside) screws and washers using 8mm socket, (Recommended torque 8Nm)
Removing old stability foot
- Wind height adjusting nut up.

- Align slots with screws.

- Remove 2 (outside) screws with washers using 8mm socket
- Retain screws and washers for later.

- Retain screws and washers for later.
- Remove roller assembly and aside for later.
- Remove 2 inside screws using 8mm socket.
- Retain screws for later.

- Retain screws for later.
- Remove adjusting foot assembly and cover and discard.
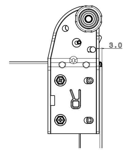
Fitting new bottom hinge
- Select correct handed hinge.
- Align hinge with edge of cabinet and position hinge 3mm from edge of cabinet.

- Fit hinge with 2 inside screws using 8mm socket (recommended torque 8Nm).

- Clip roller assembly into hinge assembly.

- Secure roller assembly with 2 (outside) screws and washers using 8mm socket (recommended torque 8Nm).
- Carefully stand cabinet up.
WARNING
Your refrigerator is heavy. You may need assistance to lay it down and lift it back up.
DOOR PREPARATION
Door preparation – top
- Place door face down on a soft flat surface to prevent damage.

- Remove plug from top of door using flat screw driver and fit to other side.

Door preparation – bottom
- Remove screw from door closer at bottom of door using Phillips head screw driver.
- retain screw

- retain screw
- Remove door closer using flat screw driver and discard.
- Select correct handed and coloured door closer.
- Fit new door closer with screw to other side.

- Apply grease to door closer and hinge pin hole
DOOR TO CABINET ASSEMBLY
- Select correct-handed hinge.
- Place top hinge on top of cabinet.
- Drive rear screw in half way using battery drill with 8mm socket.

NOTE: Tapping plate is not threaded. Screw is a thread-forming screw. - Fit door to bottom hinge pin on cabinet.
- Lift top hinge and insert top hinge pin into door endcap.
- Using 8mm socket finger tighten screw.
- Drive other 2 top hinge screws into place using battery drill with 8mm socket leaving finger tight to allow alignment of door.

- Align door.
- Align handle side of door at top to be flush with cabinet.
- Set door gasket gap (hinge side) to 9mm.

- Tighten all 3 top hinge screws (recommended torque 8Nm).
- Select correct handed and coloured hinge cover.
- Open door and fit top hinge cover.
- Close door and fit top hinge cover screw.

TROUBLESHOOTING GUIDE
Troubleshooting guide


















