TELTONIKA Networks TRB142 Industrial Rugged LTE RS232 Gateway
HARDWARE
FRONT VIEW
BACK VIEW
POWER SOCKET PINOUT
DB9 CONNECTOR PINOUT
- Driver negative signal (D-).
- Receiver negative signal (R-).
- Ground (GND).
- Driver positive (D+).
- Receiver positive signal (R+).
- Power input 9-30 VDC (Vin).

FEATURES




HARDWARE INSTALLATION
- Unscrew two back panel hex bolts and remove the back panel.
- Insert your SIM card into the SIM socket.
- Attach the panel and tighten the hex bolts.
- Attach the mobile antenna (max torque 0.4 N·m / 3.5 lbf·in) and connect the USB cable.

LOGIN TO DEVICE
- Power on the device and connect the USB cable to your computer.
- Allow the gateway to boot up. This might take up to 30 seconds.
- Your computer’s OS should detect the USB device and install the driver.
- To enter the gateway’s Web interface (WebUI), type http://192.168.2.1 into the URL field of your Internet browser.
- Use login information shown in image A when prompted for authentication.
- After logging in pay attention to the Signal Strength indication displayed in the Mobile widget (image B). To maximize the cellular perfor-mance try adjusting the antennas or changing the location of your device to achieve the best signal conditions.

WHAT’S IN THE BOX?
THE STANDARD PACKAGE CONTAINS*
- TRB145
- 4.5 W PSU
- 1 x LTE antenna (magnetic mount, SMA male, 3 m cable)
- Micro-USB cable (0.8 m)
- 1 x hex key
- RS485 connector
- QSG (Quick Start Guide)
- MS Flyer
- Packaging box


STANDARD ORDER CODES
MOUNTING OPTIONS
DIN RAIL KIT


TRB145 SPATIAL MEASUREMENTS & WEIGHT
MAIN MEASUREMENTS
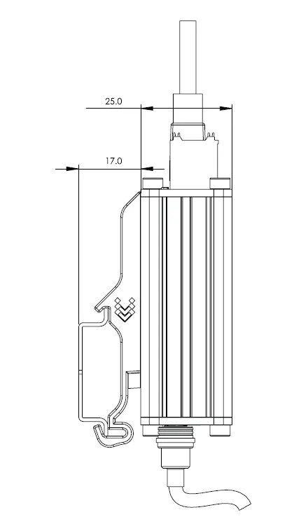
RIGHT VIEW
The figure below depicts the measurements of TRB145 and its components as seen from the right side:
FRONT VIEW
The figure below depicts the measurements of TRB145 and its components as seen from the front:
REAR VIEW
The figure below depicts the measurements of TRB145 and its components as seen from the back:
MOUNTING SPACE REQUIREMENTS
The figure below depicts an approximation of the device’s dimensions when cables and antennas are attached:
DIN RAIL
The scheme below depicts protrusion measurements of an attached DIN Rail:
































