ASKO TD75 Tumble Dryer Instruction Manual

INSTALLATION
WARNING – Risk of fi re. Install the clothes dryer according to the manufacturer’s instructions and local codes. To reduce the risk of of severe injury or death, follow all installation instructions. SAVE THESE INSTRUCTIONS FOR FUTURE REFERENCE.
WARNING – Clothes
dryer installation must be performed by a qualia edh installer.
DRYER PLACEMENT
The dryer can be either freestanding or installed onto a washing machine. The dryer emits heat. Therefore, do not place it in a very small room, as the drying process may be longer due to limited amount of available air. Do not place the dryer in a room where temperature can drop below 0 °C (32 °F), as the machine may not operate correctly at such low temperatures or may freeze, which can result in damage to the machine.
- Install the dryer in a room with adequate ventilation and a temperature between 10 °C (50 °F) and 25 °C (77 °F).
- Do not place the dryer behind lockable or sliding doors, or doors with a hinge on the opposite side of the dryer door hinge. Install the dryer in such way that the door can always be freely opened.
- Never block the air exhaust (evacuation opening).
- At least two persons are required to install the tumble dryer on top of a washing machine.
- Do not place the dryer on a carpet with long fi bores as this may impede air circulation.
- The appliance may not be in contact with a wall or adjacent furniture. For optimum dryer operation, observe the clearance from the wall as shown in the fi guru.
Freestanding appliance
The dryer may be placed adjacent to a washing machine. If the friction between the dryer feet and the fl oar is not so ffi client, the dryer may move during operation. To prevent sliding, use a non-slide mat or install the supplied vacuum feet onto both front feet.

Freestanding appliance
The dryer may be placed adjacent to a washing machine. If the friction between the dryer feet and the fl oar is not so ffi client, the dryer may move during operation. To prevent sliding, use a non-slide mat or install the supplied vacuum feet onto both front feet.

Clearance between the dryer and the wall
- The appliance may not be in contact with a wall or adjacent furniture. For optimum dryer operation, observe the clearance from the wall as shown in the fi guru.
Opening the dryer door (top view)

Stacking on top of a washing machine
To stack the dryer on top of a washing machine, use the extra vacuum feet and the tipping guard (A+B), supplied in the cardboard box in the dryer drum. Tipping guard part B is designed to fi t on ASKO washing machines and it may be hard or impossible to mount on appliances of other brands. If the washing machine and dryer are not of matching dimensions or if you have installed a hidden helper between the two appliances, then binding plates are available as optional accessories at the service unit (available only for HH (accessory Hidden Helpers) and TD75 stacked on top of WM80 or WM85; not intended for any other combinations).

All ASKO washing machines can bear the weight of the dryer.
- Washing machine on which you wish to install the dryer must be able to bear the weight of the dryer (see washing machine’s rating plate or technical information).

How to stack a dryer onto the washing machine (ASKO):
There is a cardboard box in the dryer drum, containing the vacuum feet and the tipping guard.
- The tipping guard consists of two metal parts (A + B).
- Use two screws to attach the A part to the back of the dryer.
- Undo the screw on the back side of the washing machine.
- Use the screw to attach the tipping guard (B part) to the back of the washing machine.
- Level the washing machine by rotating the adjustable feet using a No. 32 (1.26″) spanner. The feet allow levelling by +/- 1 cm (0.39″).
- After adjusting the height of the feet, fi rely tighten the jam nuts using a spanner No 17 (0.67″), by turning them towards the bottom of the washing machine .
- Tighten the jam nuts.
- Set the dryer feet:
- Tighten the front two feet all the way in.
- Undo the back feet by 3.5 turns or 5 mm (0.2″); then, fasten the jam nuts towards the bottom of the appliance .
- Place the dryer onto the washing machine:
- Lift the front part of the dryer by 5 cm (2″) to 10 cm (4″).
- Attach the vacuum feet onto the front feet of the dryer.
- Push the dryer into the tipping guard (so that the B part is inserted into the A part) and release it (See fi guru on previous page).
- Make sure the tipping guard is “locked”!
CHANGING THE DOOR OPENING DIRECTION
To change the direction of door opening, proceed as follows.

- Open the door fully.
- Undo the screws and remove the door.
- Use the screwdriver to remove the door lock cover and undo the screw on the door lock.
- Push the door lock upwards and remove it. Move it to the other side and push it downwards.
- Fasten the screw on the door lock. Replace the door lock cover.

- Undo the door hinge assembly (left) and the door latch assembly (right), switch their positions, and replace the screws (door hinge assembly to the right-hand side, door latch assembly to the left-hand side).
- Use the screwdriver to remove the plastic part more easily.
- Undo the door ring and remove it temporarily.
- Rotate the door glass cover by 90° so that the sign indicating the opening of the door is on the other
- Rotate the door ring by 180°, install it onto the door, and fasten it with screws.
- Replace the door on the door hinge and fasten

ASKO dryers can be installed beneath a cabinet
or worktop with a minimum height of 34″ (864
mm). There must be a gap of about 1/2″ (12 mm)
all around the machine and a minimum gap of 1″
(25 mm) between the rear edge of the machine top panel and the back wall. The opening width must be at least 24-1/2″ (622 mm).
The condensing models work best when they have good air circulation.
Install the dryer so the condensed water will continuously fl ow into a drain or sink. You will need a drain outlet behind the unit. The maximum drain height is 40″ (1016 mm).
- The height adjustment for the dryer is 33- 1/2″ to 34-1/2″ (850 mm to 876 mm). Do not raise it higher than 34-1/2″ (876 mm).
- It is very important to avoid a buildup of heat.
- The warm air that is expelled from the rear of the dryer must be able to dissipate.
- Warm air that cannot dissipate could cause a fault.
A buildup of heat could be avoided by:
- Creating a gap for the dryer in the kitchen furniture plinth facing.
- Creating ventilation gaps in the kitchen unit.
When build under, drying times may be longer.
- The dryer should not be installed next to a refrigeration appliance. The warm air expelled from the rear of the dryer would increase the temperature around the refrigeration appliance heat exchanger
causing the compressor to run continuously. If it is not possible to install the dryer anywhere else, then the refrigeration appliance must be sealed off from the dryer.
Closet Install- Ventilation Requirements ASKO’s front panel controls make it possible to install the washers and dryers in a closet. Make sure there is clearance between units and cabinet or wall and a 1″ (25 mm) minimum clearance between the rear edge of the machine top panel and the cabinet or wall. To ensure proper ventilation, we recommend louvered doors, particularly for condenser dryers. Otherwise there must be ventilation openings in the door. See illustration for minimum ventilation openings below (gray boxes):

- Ensure the dryer door can be opened without hindrance after installation.
- The cool air intake panel at the front of the dryer must not be blocked or covered. Doing so could cause an error.
DRAINING THE CONDENSATE
The moisture from the laundry is extracted in the condenser unit and accumulated in the condensate tank. Condensate tank has to be emptied regularly (see chapter “CLEANING AND MAINTENANCE” in the instructions for use.).
Interruption of the drying cycle due to full condensate tank can be avoided by running the condensate discharge hose found at the back of the appliance directly into a drain.

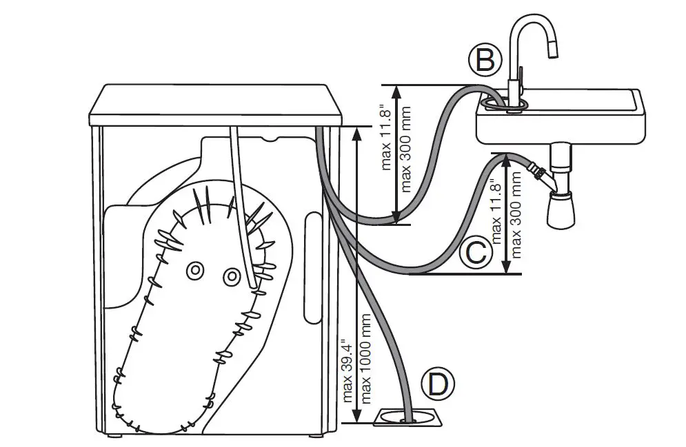
Remove the small short hose from the attachment (A).

Connect the supplied drain hose to the same attachment (A). The supplied drain hose has a length of 78 3/4″ (2000 mm). Run the condensate drain hose into a drain. Tie the hose onto a tap (B) so that it cannot slip during use. The drain hose can also be fed into the washbasin siphon (C) or directly into the floor drain (D). Then, the water is pumped directly into a washbasin, a siphon, or a fl oor drain. Do not pull the drain hose, and make sure it is not under tension, clamped, or bent.
- If you decide to run the condensate drain hose into a drain, siphon, or washbasin, make sure the hose is securely fastened. This will prevent any water spillage which could result in unexpected damage.
- Always use hoses that are supplied with the appliance.
- If the dryer is connected to an air exhaust system already used for another appliance, a non-return valve must be installed. Return fl ow into the dryer could damage the appliance and the non-return valve prevents such flow.
ELECTRICAL INSTALLATION
- The receptacle on the rear of the machine is designed to accommodate ASKO washers ONLY (rated 208–240 V.) To use this receptacle, you must use the ready-fitted plug supplied with the washing machine or an equivalent.
ASKO washers rated 208–240 V have two internal fuses of 15 A each. The machine should only be connected to a grounded wall socket. - This appliance must be properly grounded. Refer to the “Important Safety Instructions” for grounding instructions.
The power supply cord must be grounded. If the machine is to be used in a wet area, the supply must be protected by a residual current device. Connection to a permanently wired supply point must be made only by a qualified electrician. As supplied: Single-phase, 230 V, 60 Hz, 3000W heater rating 30 A circuit required. - Do not connect the machine to the mains electricity supply by an extension lead.

Electrical Connections
Read the Electrical requirements and grounding instructions before connecting the tumble dryer. Electric models of the dryer are manufactured for a 3-wire connection system. The dryer frame is grounded by a link to the neutral conductor on the dryer terminal block. If local codes do not permit grounding through the neutral, the grounding link from the terminal block must be removed and a separate ground wire must be used. Only a 4-conductor cord shall be used when the appliance is installed in a location where grounding through the neutral conductor is prohibited. Grounding through the neutral conductor is prohibited for new branch-circuit installations, mobile homes, recreational vehicles, and areas where local codes prohibit grounding through the neutral conductors. The grounding link on the dryer must be removed for all 4-wire installations.
These Electrical Connection instructions provide for installing the dryer in the following situations:
- wire connections where local codes permit grounding through the neutral, 3-wire connections with a separate grounding connector where local codes do not permit grounding through the neutral, and 4-wire connections. Each of the above connections can be made with an approved power supply cord or by direct wiring. Each connection instruction identifies the appropriate Power Supply Cord and covers requirements for direct wiring. In Canada, the dryer is delivered ready-fitted with a four-prong plug intended for connection to a single-phase supply.
Connecting a 3-wire Power Cord
Before starting this procedure, be sure the power is turned off at the breaker/fuse box.

Power Supply Cord
You will need a 3-wire power supply cord with three No. 10 copper wires and a matching 3-wire receptacle of NEMA Type 10-30R, as illustrated below: To connect a 3-wire power cord to the dryer, follow the steps below.
The numbers in the illustration correlate to the step numbers.
- Turn the power off at the breaker or fuse box.
- Remove terminal block cover.
- Use the strain relief attached below the terminal block opening.
- Loosen or remove center terminal block screw.

- Connect ground (center) wire of power supply cord to the center, silver-colored terminal screw. Tighten screw.
- Connect the other wires to outer screws.
- Tighten the strain relief screws.
- Replace terminal box cover on back of dryer.
- Plug dryer into wall receptacle.
- Turn power on at breaker/fuse box.
Connecting a 4-wire Power Cord
Before starting this procedure, be sure the power is turned off at the breaker/fuse box.

Power Supply Cord
You will need a 4-wire power supply cord with four No. 10 copper wires and a matching 4-wire receptacle of NEMA Type 14-30R, as illustrated below. The fourth wire must be identifi ed with a white cover and the ground conductor by a green cover. To connect a 4-wire power cord to the dryer, follow the steps below.
- The numbers in the illustration correlate to the step numbers.
- Turn the power off at the breaker/fuse box.
- Remove terminal block cover.
- Use the strain relief attached below the terminal block opening.
- Remove center terminal block screw.

- Remove ground wire (green with yellow stripes) from external ground connector screw and remove from center terminal block.
- Connect ground (green) wire of cord to external ground conductor screw.
- Connect neutral (white) wire of cord under center screw of terminal block.
- Connect the other wires to outer screws.
- Tighten the strain relief screws.
- Replace terminal box cover on back of dryer.
- Plug dryer into wall receptacle.
- Turn power on at breaker/fuse box.




















