Caple TDI4000 Integrated Tumble Dryer

Keep these instructions for use with the appliance. If the appliance should be sold or passed on to others, make sure that the instructions are passed on with it. We thank you for taking note of these suggestions before installing and using the appliance. They have been written for your personal safety and the safety of others.
WARNINGS
This product is not designed for commercial use, it is a household appliance only. It is not intended to be used in:
- Staff kitchen areas in shops, offices, and other working environments.
- Bed and breakfast type environments.
- By clients in hotels, motels, and other residential-type environments.
- Your machine is designed for use in a domestic environment. The warranty will be invalid if you use it for commercial purposes.
- This appliance is not intended for use by persons (including children) with reduced physical, sensory or mental capabilities, or lack of experience and knowledge unless they have been given supervision or instruction concerning the use of the appliance by a person responsible for their safety.
- This appliance can be used by children aged 8 years and above and persons with reduced physical, sensory or mental capabilities or lack of experience and knowledge if they have been given supervision or instruction concerning the use of the appliance in a safe way and understand the hazards involved.
- Children shall not play with the appliance.
- Cleaning and user maintenance shall not be made by children without supervision. Children of less than 3, years should be kept away unless continuously supervised.
- Keep the packing materials from your machine away from children to avoid hazards.
- Keep pets away from your machine.
- It could be possible for a child or pet to gain access to the tumble dryer through the porthole door. Therefore, please check the drum before using the appliance.
- DO NOT use the tumble dryer if you suspect that it is damaged in any way. Under no circumstances should you attempt to repair the appliance yourself. Repairs carried
out by inexperienced persons may cause serious injury. Consult your local appointed service engineer and insist on genuine spare parts. - The tumble dryer should be serviced by an appointed service organization and only genuine parts used.
- It is recommended that the dryer be serviced annually by a person competent in service tumble dryers.
- It is dangerous to alter or modify the product in any way other than fitting authorized accessories.
- DO NOT allow fluff to accumulate around the tumble dryer. Risk of fire.
- DO NOT use the product if the fluff filter is not in a position or is damaged; fluff could be ignited.
- Lint and fluff must not be allowed to collect on the floor around the outside of the machine.
- It is important to clean the lint filter after each drying cycle or the restrictions to airflow will extend drying times and could cause the safety cut-out to trip.
- It is important to clean fluff from the window of the dryer and around the door seal after each drying cycle. Failure to do so could result in water leaking.
INSTALLATION WARNINGS

- During transport ensure that the dryer is in an upright position, if it’s necessary you can flip on the side shown.
- If the product is on a different side, wait at least 4 hours so that the oil can flow back into the compressor. Failure to do this could result in damage to the compressor.
- The dryer must be installed by a Registered Installer.\
- Do not install the product in a low-temperature room or in a room where there is a risk of frost occurring. At temperatures around the freezing point, the product may not be able to operate properly: there is a risk of damage if the water is allowed to freeze in the hydraulic circuit (valves, hoses, pumps). For better product performance, the ambient room temperature must be between 5-35°C.
- Please note that operating in cold conditions (between +2 and +5°C) might cause some water condensation and water drops on the floor.
- Never install the dryer near curtains.
- The appliance must not be installed behind a lockable door, a sliding door, or a door with a hinge on the opposite side to that of the tumble dryer.
- Please note it is not recommended that the dryer is placed directly next to ovens or cookers as the performance of the dryer may be affected.
- Do not stack the tumble dryer on top of other appliances.
VENTILATION WARNINGS
- Install the rear of the appliance close to a wall or vertical surface.
- There should be a gap of at least 12mm between the machine and any obstructions. The inlet and outlet arm should be kept clear of obstruction.
- DO NOT block the air inlets at the front and back of your dryer.
- DO NOT block the air inlets at the base and side of your dryer.
- Make sure carpets or rugs do not obstruct the base or any ventilation openings.
- Prevent items from falling or collecting behind the dryer as they may obstruct the air inlet and outlet.
- Adequate ventilation must be provided to avoid back, the flow of gases into the room from appliances burning other fuels, including open fires.
- Exhaust air must not be discharged into a flue that is used for exhausting fumes from appliances burning gas or other fuel.
- The rear of the dryer gets quite hot during use. Position the dryer so that the back is not accessible while in operation, but ensure that the sides have a space available to allow airflow.
LAUNDRY WARNINGS
- Always refer to the laundry care labels for directions on suitability for drying.
- Fabric softeners or similar products should be used as specified by the fabric softener instructions.
- Remove all objects from pockets such as lighters and matches.
- DO NOT exceed the recommended maximum load.
- DO NOT place articles in the dryer if anything other than a water solution has been used in the cleaning process.
- DO NOT dry unwashed items in the tumble dryer.
- DO NOT attempt to dry dripping wet articles.
- Clothes should be spin-dried or thoroughly wrung before they are put into the tumble dryer.
- Under no circumstances should anything other than the recommended articles be placed in the tumble dryer.
- Glass fiber curtains should NEVER be put in this machine. Skin irritation may occur if other garments are contaminated with glass fibers.
- Foam rubber materials can, under certain circumstances, when heated become ignited by spontaneous combustion. Items such as foam rubber (latex foam), shower caps, waterproof textiles, rubber-backed articles, and clothes or pillows fitted with foam rubber pads MUST NOT be dried in the tumble dryer.
- Items that have been soiled with substances such as cooking oil, acetone, alcohol, petrol, kerosene, spot removers, turpentine, waxes, and wax removers should be washed in hot water with an extra amount of detergent before being dried in the tumble dryer.
- When the hot surface symbol is shown, the temperature rise during the operation of the tumble dryer may be in excess of 60°C.
- The drum inside may be very hot. Always allow the dryer to complete the cool-down period before removing the laundry.
- The final part of the tumble-dyer cycle occurs without heat (cool down cycle) to ensure that the items are left at a temperature that ensures that the items will not be damaged.
- Never stop a tumble dryer before the end of the drying cycle unless all items are quickly removed and spread out so that the heat is dissipated.
- Do not lean on the door when loading the machine or use the door to lift or move the machine.
- Do not drink or reuse condensation water collected in the door container. Condensation water might be contaminated with lint; this may be hazardous to health and may cause material damage.
ELECTRICAL WARNINGS
- Do not plug the machine in and switch it on at the mains until the installation is completed.
- The technical details (supply voltage and power input) are indicated on the product rating plate.
- Any electrical work required to install the appliance should be carried out by a qualified person.
- The appliance must not be supplied through an external switching device, such as a timer, or connected to a circuit that is regularly switched on and off by a utility.
- NOT SUITABLE FOR USE WITH CONDENSING BOXES.
- DO NOT use a two-way adaptor or extension lead. The dryer must be connected to its own socket.
- This appliance must be Earthed.
- The socket outlet and the plug on the appliance must be of the same type.
- Do not touch the appliance when hands or feet are damp or wet.
- We recommend that the appliance is unplugged each time after use. It should always be disconnected from the electricity supply for long periods (i.e. weekends, if it is to be left unattended for holidays etc.).
- The special mains cable and plug assembly must only be replaced with a genuine part available from the manufacturer or service agent in order to avoid a hazard.
- Make sure that the electrical system is earthed, complies with all applicable law, and that the (electricity) socket is compatible with the plug of the appliance. Otherwise, seek qualified professional assistance.
- The plug should be accessible for disconnection after the appliance has been installed.
- Always remove the plug before cleaning the appliance.
WARNING: Fire Hazard / Flammable Materials.
- The appliance contains R290, an eco-sustainable refrigerating gas that is flammable. Keep open flames and sources of ignition away from the appliance.
- DO NOT damage the refrigerating circuit.
ENVIRONMENTAL PROTECTION
Waste electrical products should not be disposed of with household waste. Please recycle where facilities exist. Check with your Local Authority or retailer for recycling advice. This appliance is marked according to the European directive on Waste Electrical and Electronic Equipment (WEEE). By ensuring this product is disposed of correctly, you will help prevent potential negative consequences for the environment and human health, which could otherwise be caused by inappropriate waste handling of this product. The symbol on the product indicates that this product may not be treated as household waste. Instead, it shall be handed over to the applicable collection point for the recycling of electrical and electronic equipment. Disposal must be carried out in accordance with local environmental regulations for waste disposal. For more detailed information about the treatment, recovery, and recycling of this product, please contact your local council, your household waste disposal service or the retailer where you purchased the product.
CE DECLARATIONS OF CONFORMITY
This appliance has been manufactured to the strictest standards and complies with all applicable legislation, Low Voltage Directive (LVD) and Electromagnetic Compatibility (EMC).
INSTALLATION

- The tumble dryer is fully compatible with any 600mm deep kitchen units
ADJUST THE HEIGHT OF THE DRYER
The 4 adjustable feet allow the height of the dryer to be adjusted from 825mm to a maximum of 845mm. Once the tumble dryer is in place, you can adjust the height by rotating the adjustable feet, to ensure the machine is level.
NOTE: We suggest to put the dryer at the maximum height possible in order to avoid tilting, leaving at least 5mm from the top of the furniture. Before fixing the hinges it’s necessary to determine the depth of the dryer from the front part of the kitchen according to the depth of the kick plate (see diagram) and choose the right installation option. The distance does not consider the thickness of the kick plate of the kitchen.
MOUNTING THE FURNITURE DOOR TO THE APPLIANCE
When the position of the plinth is set back less than 54mm from the front of the furniture, install it according to the following:
Position the template onto the reverse of the furniture door. It is possible to mount the hinges and closure magnet on the right or left-hand side depending on your requirements. Mark the screw hole positions then drill them out.
NOTE: We suggest mounting the furniture door so that it opens towards the left, same direction as the porthole door.
- Fix the hinges in place (on the door) with the 4 screws provided (1).
- Fix the magnet (2) in place using screw (3).
- If necessary, use the gasket (4) to adjust and achieve the appropriate assembly (downside).

- Mount the plate (5) on the right or left-hand side, depending on your installation requirements.
- Place the plastic support (6) under the plate and fix it in position with a screw (7).

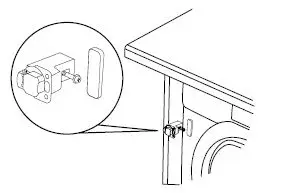
- Mount the furniture door to the front of the dryer using the hinges.
- Fix the spacers (1) in place with the 2 screws (2) and then fix the hinges with 2 screws (3).
PLINTH VENTILATION
The plinth must have ventilation slots (min side/diameter 127mm hole) according to the dimensions on the fixing template. If the plinth is not high enough to accommodate the entire hole, cut only part of it.
- Place the template onto the reverse of the plinth. Mark the screw hole positions, then drill them out.
- Fix the plinth to the kick plate using the 6 screws provided. (J)
NOTE: This is only possible with some types of the kick plate (e.g. wood or plastic). We suggest checking with the kitchen suppliers.
- Fix the kick plate to the dryer.
- When using the full door, the door must have min Ø127mm hole across the slots of the kick plate.

WARNING: Without the airflow ventilation hole in the furniture door/plinth we can not guarantee the correct functionality of the appliance.
PLINTH GRILLE
- When installing the appliance with a 150mm high (or less) plinth, it is possible to purchase a stainless-steel grille (GRILL/SENSE300) for the plinth cut out. To purchase, visit www.caple.co.uk.
ALTERNATIVE INSTALLATION – MOUNTING THE FURNITURE DOOR TO THE CARCASS
When the position of the plinth is set back more than 55 mm from the front of the furniture, install according to the following:
NOTE: Components not supplied:
- Hinges
- Supports
- Doorstop
Firstly, slide the dryer into an opening of the size indicated on page 13.
NOTE: As soon as the hinges are fixed on the furniture is not possible to slide the dryer in and out.
- Fix the door of the furniture with standard] hinges and supports (not supplied) and stop the door with an std hook (not supplied). Pay attention to positioning the bottom hinge 40mm above the kick plate in order to facilitate its removal.
- Fix the hinges on the door furniture.

- Use the Nº4 mount caps (7) to cover all the holes on the front of the dryer.

- If the distance between the top of the dryer and the top of the furniture is more than 10mm, fix the Nº2 L metal brackets (K) to the furniture sides, to avoid possible tilting. A furniture plinth may now be run across the front of the dryer, but it’s height will be dictated by the front kick plate.
OPERATION
Before using the tumble dryer for the first time
- Please read this instruction booklet thoroughly.
- Remove all items packed inside the drum.
- Wipe the inside of the drum and door with a damp cloth to remove any dust which may have settled in transit.
CLOTHES PREPARATION
- Make sure that the laundry you are going to dry is suitable for drying in a tumble dryer, as shown by the care symbols on each item.
- Check that all fastenings are closed and that pockets are empty. Turn the articles inside out. Place cloths loosely in the drum to make sure that they don’t get tangled.
DO NOT TUMBLE DRY
- Silk, Nylon stockings, delicate embroidery, fabrics with metallic decorations, and garments with PVC or leather trimmings.
IMPORTANT
- Do not dry articles which have been treated with a dry cleaning fluid or rubber cloths (danger of fire or explosion).
- During the last 15 minutes, the load is always tumbled in cool air.
ENERGY SAVING
Only put into the tumble dryer laundry which has been thoroughly wrung or spin-dried. The drier the laundry the shorter the drying time thus saving electricity.
Always: Check that the filter is clean before every drying cycle.
Never: Put dripping wet items into the tumble dryer, this may damage the appliance.
DRYING GUIDE
The standard cycle COTTON DRY ( ) is the most energy efficient and best suited for drying normal wet cotton laundry. The table below shows the approximate time and energy consumption of the main drying programs.

SORTING THE LOAD
Sort the load by cares symbols. These can be found on the collar or inside the seam:
![]()
- Suitable for tumble drying
- Tumble drying at a high temperature
![]()
- Tumble drying at low temperature only
- Do not tumble dry
If the item does not have a care label, it must be assumed that it is not suitable for tumble drying.
- By amount and thickness: Whenever the load is bigger than the dryer capacity, separate clothes according to thickness (e.g. towels from sheets).
- By type of fabric cotton/linen: Towels, cotton jersey, bed, and table linen.
- Synthetics: Blouses, shirts, overalls, etc. made of polyester or polyamide, as well as cotton/ synthetic mixes.
QUICK USER GUIDE
- Open the door and load the drum with laundry. Ensure that garments do not hinder the closure of the door.
- Gently close the door pushing it slowly until you hear the door “click” shut.
- Turn the program selector dial to select the required drying program (see program guide).
- Press the
button. The dryer will start automatically and the indicator above the button willbe continuously lit. - If the door is opened during the program to check the laundry, it is necessary to press
to recommence drying after the door has been closed. - When the cycle is nearing completion the machine will enter the cool-down phase, the clothes will be tumbled in cool air allowing the load to cool down.
- Following the completion of the cycle, the drum will rotate intermittently to minimize creasing. This will continue until the machine is switched OFF or the door is opened.
- When the program is complete the LED indicator will light. Do not open the door during the automatic programs in order to obtain a good drying result.
CONTROL PANEL

A: PROGRAMME SELECTOR
- Rotate the knob in either direction to select the desired drying program. To cancel the selections or switch off the dryer, rotate the knob to OFF.
B: DISPLAY DIGIT
- The display shows the remaining time for drying, the time until a drying cycle will start (if delayed start has been activated) and other notifications setting.
C – BUTTONS
START/PAUSE BUTTON
- To start the selected program and/or suspend it.
ANTI CREASE BUTTON
This option allows for activation of an anti-crease movement of the drum pre-cycle in case of activation of the delay and at the end of the drying cycle. It is activated every 10 minutes, up to 6 hours after the end of the drying cycle. To stop the movements, set the knob to OFF. This is useful when it’s not possible to immediately remove the laundry.
RAPID BUTTON
It is possible to switch an automatic program to a RAPID program, up to 3 minutes after the start of the cycle. The progressive pressure increases the time (30-45-59 minutes). After this selection, it is necessary to reset the automatic drying function to switch off the dryer. In case of incompatibility, all LEDs flash quickly 3 times.
DRYING SELECTION BUTTON
This allows you to select the required dryness level, it is possible to choose for up to five minutes after the start of a drying cycle:
![]()
- Ready to Iron: Leaves the garments slightly wet to facilitate ironing.
- Hanger Dry: To make a garment ready to be hung on a coat hanger.
- Wardrobe Dry: For laundry that can be directly stored.
- Extra Dry: To get completely dry garments; ideal for full load.
This appliance is equipped with a Drying Manager Function. On automatic cycles, each level of intermediate drying, prior to reaching the one selected is indicated by a flashing neon light that indicates the degree of dryness that the garments have reached. In case of incompatibility, all LEDs flash quickly 3 times.
DELAY BUTTON
It allows delaying the start of the program from 1 to 24 hours in 1-hour intervals. The delay selected is shown on the display. After pressing the START button the time showed decreases hour by hour. If you open the porthole door with a delayed start set, after re-closing the porthole, the press starts again to resume the counting.
MEMORY BUTTON![]()
This option allows you to store the options set on a cycle. STORAGE When the cycle is running pushes the “memory” button for three seconds. The control light “memory” flashes three times and stores the set options connected to the cycle currently in progress. Recall: After the selection of the cycle, push the button “memory” to recall the stored options (not the cycle).
TIME SELECTION BUTTON
It’s possible to transform a cycle from automatic to programmed, up to 3 minutes after the start of the cycle. The progressive pressure increases the time in 10-minute intervals. After this selection, to reset the automatic drying functioning it is necessary to switch the dryer off. In case of incompatibility, all LEDs flash quickly 3 times.
KEYLOCK![]()
This function allows you to prevent unwanted changes during the drying phase. Activation/ Inactivation: Push buttons 4 and 5 simultaneously for two seconds. The sign “LOC” appears on the display. Unlocking the option, on the display appears the sign “Unl”, once. In the case of opening the ‘porthole’ with an activated key lock, the cycle stops but the lock is kept. To restart the cycle, you must remove the lock and restore Start. When the dryer is off, the option is automatically inactivated. Key lock can be modified at any time of the cycle.
LED
![]()
- Water Tank: Lights up when it is necessary to empty the water tank.
- Filter Cleaning: Lights when the cleaning of the filters is necessary (the door and the lower filter).
- Cooling: Lights up when the cycle is in the final cooling phase.
DRYING PROGRAMMES
| PROGRAMME | PROGRAMME DESCRIPTION | CAPACITY (KG) | DRYING TIME (MIN) |
| COTTON | The cotton programme (hang dry) is the most efficient programme for energy consumption. Suitable for cottons and linens. | Full | * |
| WHITES | To dry cottons, sponges and towels. | Full | * |
| SYNTHETICS | To dry synthetic fabrics that need an accurate and specific treatment. | 3 | * |
| SMALL LOAD | Dedicated to get an even drying for extremely small loads without the risk of overdrying. | 1.5 | * |
| MIX & DRY | To dry different kind of fabrics as mix, synthetics together. | 3 | * |
| JEANS | Dedicated to fabrics like jeans or denim. It’s recommended to turn the garments inside out before drying. | 3 | * |
| SPORT | For technical garments for sport and fitness, drying gently with special care to avoid shrinking and deterioration of elastic fibers. | 3 | * |
| FEATHER | Perfect cycle to dry duvets and quilts, revitalising the smoothness of the feathers. | 3 | * |
| COLOURED | A delicate and specific cycle to dry dark or colour cotton or synthetics garments. | 3 | * |
| SHIRT | This specifics cycle has been conceived to dry shirts minimizing tangles and folds thanks specific movements of the drum. It’s recommended to take out the linens immediately after drying cycle. | 2 | * |
| DELICATES | To dry delicate fabrics that need an accurate and specific treatment. | 3 | * |
|
WOOL | Woolen clothes: the programme can be used to dry up to 1kg of laundry (around 3 jumpers). It is recommended to reverse all clothes before drying. Timing can change due to dimensions and thickness of load and to spinning chosen during washing. At the end of the cycle, clothes are ready to be worn, but if they are heavier, edges can be a bit wet: it is suggested to dry them naturally. It is recommended to unload clothes at the very end of the cycle. Attention: felting process of wool is irreversible; please dry exclusively clothes with symbol (symbol “ok tumble”); this programme is not meant for acrylic clothes. |
1 |
70’ |
| ANTI-ALLERGY | One specifics cycle that dry and in the same time helps to reduce the main allergens as dustmites, pet hair, pollens and residual of powder detergents. | 3 | Max 220˚C |
| PRE-IRON | This is a warm cycle that in only 12 minutes helps to relax folds and creases. | 2 | 12’ |
| REFRESH | The perfect cycle to remove the smells from the linens smoothing creases. | 2 | 20’ |
PROGRAMMES AND OPTIONS COMPATIBILITY
|
PROGRAMMES | SELECTABLE OPTIONS | |||||
|
DELAY |
DRYING SELECTION |
RAPID |
TIME SELECTION |
ANTI-CREASE |
MEMORY | |
| COTTON | ||||||
| WHITES | ||||||
| SYNTHETICS | ||||||
| SMALL LOAD | ||||||
| MIX & DRY | ||||||
| JEANS | ||||||
| SPORT | ||||||
| FEATHER | ||||||
| COLOURED | ||||||
| SHIRT | ||||||
| DELICATES | ||||||
| WOOL | ||||||
| ANTI-ALLERGY | ||||||
| PRE IRON | ||||||
| REFRESH | ||||||
CLEANING AND MAINTENANCE
CLEANING THE DRYER
- Clean the filter and empty the water container after every drying cycle.
- Regularly clean the bottom filter.
- After each period of use, wipe the inside of the drum and leave the door open for a while to allow circulation of air to dry it.
- Wipe the outside of the machine and the door with a soft cloth.
- DO NOT use abrasive pads or cleaning agents.
- To prevent the door from sticking or the build-up of fluff, clean the inner door and gasket with a damp cloth after every drying cycle.
- Frequently check the fluff filter after use and clean if necessary.
- Air outlet (depending on model).
WARNING: The drum, door, and load may be very hot.
IMPORTANT
- Always switch off and remove the plug from the electricity supply before cleaning this appliance.
- For electrical data refer to the rating label on the front of the dryer cabinet (with the door open).
WARNING
- If you open the door mid-cycle, before the cool-down cycle has completed, the handle may be hot.
- Please use extreme caution when attempting to empty the water reservoir during the cycle.
- Clean the filters before every cycle.
- Pay attention that overloading or a bulk load can lead to the door opening. In this case, reduce the load capacity to continue the drying cycle.
WATER CONTAINER
The water removed from the laundry during the drying cycle is collected in a container inside the door of the dryer. When the container is full the indicator on the control panel will light, and the container MUST be emptied. However, we recommend that the container is emptied after each drying cycle.
NOTE: Very little water will collect during the first few cycles of a new machine as an internal reservoir is filled first.
REMOVING THE CONTAINER TANK IN THE DRAWER
- Gently pull out the water container holding the handle. When it is full the water container will weigh about 6kg.
- Tilt the water container to empty the water out through the spout.
- When empty, replace the water container back as shown below.
- First, insert the base of the container into position as shown (1) then gentle push the top into position (2).
- Press
button to restart the cycle.
DOOR AND FILTERS
- Pull on the handle to open the door.
- To restart the dryer, close the door and press the start/pause button
.
WARNING: When the tumble dryer is in use the drum and door may be VERY HOT.
FILTERS

- Pull the filter upwards.
- Open filter as shown.
- Gently remove lint using a soft brush or your fingertips.
- Snap the filter together and push it back into place.
IMPORTANT: To maintain the efficiency of the dryer, check that the fluff filter is clean before each drying cycle.
FILTER CARE INDICATOR
Lights when the filter needs cleaning.- If the laundry is not drying check that the filter is not clogged.
- Clogged filters could increase the drying time and cause damage and expensive cleaning operations. If you clean filters under water, remember to dry them.
CLEANING THE CONDENSER FILTER
![]()
- Remove the kick plate.
- Turn the locking levers ant-clockwise and pull out the front cover.

- Gently remove the filter frame and clean any dust or fluff with a cloth from the filter. Do not use water to clean the filter
- Remove the sponge gently from its place and then wash the sponge by holding it under a running tap and turning it so as to remove any dust or fluff.
- Refit the front cover ensuring it is in the correct way(as indicated by the arrow) and pushed firmly into place.
- Lock the levers by turning them clockwise. Refit the kick plate.
WARNING: Clean the filters before every cycle. Overloading or a bulk load can lead to the door opening. In thiscase reduce the load capacity to continue the drying cycle.
TROUBLESHOOTING
BEFORE CALLING FOR SERVICE
- Reviewing the information below may save you from calling for service.
DRYING TIME IS TOO LONG/CLOTHES ARE NOT DRY ENOUGH ON
- Have you selected the correct drying time/program?
- Were the clothes too wet? Were the clothes thoroughly wrung or spin-dried?
- Does the filter need cleaning?
- Is the dryer overloaded?
THE DRYER DOES NOT OPERATE
- Is there a working electricity supply to the dryer? Check using another appliance such as a table lamp.
- Is the plug properly connected to the mains supply?
- Is there a power failure?
- Has the fuse blown?
- Is the door fully closed?
- Is the dryer switched on, both at the mains supply and at the machine?
- Has the drying time or the program been selected?
- Has the machine been switched on again after opening the door?
THE DRYER IS NOISY ON
- Switch off the dryer and contact Service for advice.
THE FILTER CLEANING INDICATOR IS ON
- Does the filter need cleaning?
THE WATER TANK INDICATOR IS ON
- Does the water container need emptying?
THE HUMIDITY IN THE ROOM INCREASES
- This is not a fault with the product. Humidity and condensation can form in the room when the product is in use. Ensure the room is adequately ventilated.
- If the problem persists or more help is required, please contact our Caple service team on 0117 938 7420 or via email [email protected]
TECHNICAL DATA
Product fiche pursuant to Delegated Regulation (EU) no. 392/2012
| PRODUCT NAME | TDI4000 |
| Brand | Caple |
| Cotton capacity (kg) | 7 |
| Type of dryer | Heat Pump |
| Energy efficiency class | A+ |
| Annual Energy Consumption (kWh) (1) | 269 |
| Automatic dryer | Yes |
| Energy Cons. kW/h cycle full load (2) | 2.25 |
| Energy Cons. kW/h cycle half load (2) | 1.2 |
| Power consumption off mode (W) | 0.4 |
| Power consumption stand by (W) | 0.75 |
| Weighted programme time | 185 |
| Nomative drying time (min) full load | 244 |
| Nomative drying time (min) half load | 140 |
| Condensation efficiency class (from G as min to A as max) | B |
| Weighted condensation efficiency % | 84 |
| Average condensation efficiency % full load | 84 |
| Average condensation efficiency % partial load | 84 |
| Noise level (dB(A) | 67 |
| Built-in / free-standing model | Built-in |
1) based on 160 drying cycles of the standard cotton program at full and partial load, and the consumption of the low-power modes. Actual energy consumption per cycle will depend on how the appliance is used 2) The ‘standard cotton program’ used at full and partial load is the standard drying program to which the information in the label and the fiche relates. This program is suitable for drying normal wet cotton laundry and it is the most efficient program in terms of energy consumption for cotton.
INFORMATION FOR TEST LABORATORY
EN 61121 Programme To Use.
- Standard dry cotton


- Iron dry cotton
Whites - Easy-Care Textile
Synthetics
Caple Service
- ADDRESS: Fourth Way Avonmouth Bristol BS11 8DW
- T: 0117 938 1900
- E: [email protected]
- www.caple.co.uk





















