ASKO TD85 Vented Tumble Dryer

Product Information: TD85 Vented Tumble Dryer
The TD85 Vented Tumble Dryer is a domestic appliance designed to dry clothes. It is a vented dryer, which means it does not have a condensate tank. The handle is fixed and has a decorative purpose only. This product emits heat and requires proper ventilation for safe usage. The dryer can be freestanding or installed onto a washing machine. It has adjustable feet to ensure stability and can be leveled using a spirit level. The product comes with vacuum feet and a tipping guard for stacking it onto an ASKO washing machine.
Product Usage Instructions: TD85 Vented Tumble Dryer
- Carefully read the instructions for use before using the dryer.
- Ensure that the installation is carried out by a qualified person who is familiar with all local codes and ordinances for electrical and plumbing connections.
- Thoroughly check the machine for cosmetic damage upon unpacking it and report any damage to the ASKO dealer within five days from the date of purchase.
- Ensure that the machine is not installed behind a door and that the tumble dryer’s toe kick ventilation is not blocked by a rug or similar item to prevent the risk of fire.
- Do not place the dryer in a very small room, behind lockable or sliding doors, or doors with a hinge on the opposite side of the dryer door hinge.
- Never block the air exhaust (evacuation opening).
- If stacking the dryer onto an ASKO washing machine, use the supplied vacuum feet and tipping guard to ensure stability.
- Place the dryer so that it is stable and level it using a spirit level and a No. 22 (0.87) spanner (max. 15 mm (0.59)). Then, firmly tighten the jam nuts (counter nuts) by rotating them towards the appliance bottom using a No. 17 (0.67) spanner.
- Observe the clearance from the wall and adjacent furniture for optimum dryer operation (100mm or 4 inches).
- Ensure that the washing machine on which you wish to install the dryer can bear its weight (see washing machine’s rating plate or technical information).
INSTALLATION INSTRUCTIONS TD85
Carefully read the instructions for use before using the dryer.
Dear Customer,
Read these instructions carefully and completely before you install the machine. The installation should
be carried out by a qualifi ed person who is familiar with all local codes and ordinances for electrical and plumbing connections. See also the general Safety Instructions in the Use & Care Guide.
Cosmetic damage must be reported to the ASKO dealer within fi ve days from the date of purchase. As soon as you unpack the machine, thoroughly check it for cosmetic damage.
INSTALLATION
WARNING – Risk of fire
- Install the clothes dryer according to the manufacturer’s instructions and local codes.
- Clothes dryer installation must be performed by a qualifi ed installer.
- Do not install a clothes dryer with
- flexible plastic venting materials.
- If fl exible metal (foil type) duct is installed, it must be of a specifi c type identifi ed by the applience manufacturer that is UL approved for use with clothes dryers. Flexible venting materials are known to collapse, be easily crushed, and trap lint. These conditions will obstruct clothes dryer airfl ow and increase the risk of fi re.
- To reduce the risk of of severe injury or death, follow all installation instructions.
- SAVE THESE INSTRUCTIONS FOR FUTURE REFERENCE.
WARNING
- For proper ventilation, the machine should not be installed behind a door. The tumble dryer’s toe kick ventilation must not be blocked by a rug or the like.
DRYER PLACEMENT
- The dryer can be either freestanding or installed onto a washing machine.
- The dryer emits heat. Therefore, do not place it in a very small room, as the drying process may be longer due to limited amount of available air.
- Do not place the dryer in a room where temperature can drop below 0 °C (32 °F), as the machine may not operate correctly at such low temperatures or may freeze, which can result in damage to the machine.
- Install the dryer in a room with adequate ventilation and a temperature between 10 °C (50 °F) and 25 °C (77 °F).
- Do not place the dryer behind lockable or sliding doors, or doors with a hinge on the opposite side of the dryer door hinge. Install the dryer in such way that the door can always be freely opened.
- As this is a vented dryer, it does not have a condensate tank. The handle has solely a decorative purpose and is fi xed; it is not intended for opening. If excessive force is applied, the handle may break.
- Never block the air exhaust (evacuation opening).
- At least two persons are required to install the tumble dryer on top of a washing machine.
- Do not place the dryer on a carpet with long fi bres as this may impede air circulation.
Freestanding appliance
The dryer may be placed adjacent to a washing machine.
If the friction between the dryer feet and the fl oor is not su ffi cient, the dryer may move during operation. To prevent sliding, use a non-slide mat or install the supplied vacuum feet onto both front feet.

Place the dryer so that it is stable. Use a spirit level to level the dryer horizontally and vertically by rotating the adjustable feet using a No. 22 (0.87″) spanner (max. 15 mm (0.59″)). Then, fi rmly tighten the jam nuts (counter nuts) by rotating them towards the appliance bottom using a No. 17 (0.67″) spanner
Clearance around the dryer for optimum operation

The appliance may not be in contact with a wall or adjacent furniture. For optimum dryer operation, observe the clearance from the wall as shown in the fi gure.
Opening the dryer door (top view)
Stacking on top of a washing machine
To stack the dryer on top of a washing machine, use the extra vacuum feet and the tipping guard (A+B), supplied in the cardboard box in the dryer drum. Tipping guard part B is designed to fi t on ASKO washing machines and it may be hard or impossible to mount on appliances of other brands. If the washing machine and dryer are not of matching dimensions or if you have installed a hidden helper between the two appliances, then binding plates are available as optional accessories at the service unit (available only for HH (accessory Hidden Helpers) and TD75 stacked on top of WM80 or WM85; not intended for any other combinations). 
All ASKO washing machines can bear the weight of the dryer.
Washing machine on which you wish to install the dryer must be able to bear the weight of the dryer (see washing machine’s rating plate or technical information).
How to stack a dryer onto the washing machine (ASKO):
There is a cardboard box in the dryer drum, containing the vacuum feet and the tipping guard.

- The tipping guard consists of two metal parts (A + B).
Use two screws to attach the A part to the back of the dryer. - Undo the screw on the back side of the washing machine.
- Use the screw to attach the tipping guard (B part) to the back of the washing machine.
- Level the washing machine so that it is stable.
- Level the washing machine by rotating the adjustable feet using a No. 32 (1.26″) spanner. The feet allow levelling by +/- 1 cm (0.39″).
- After adjusting the height of the feet, fi rmly tighten the jam nuts using a spanner No 17 (0.67″), by turning them towards the bottom of the washing machine .
- Tighten the jam nuts.

- Set the dryer feet:
- Tighten the front two feet all the way in.
- Undo the back feet by 3.5 turns or 5 mm (0.2″); then, fasten the jam nuts towards the bottom of the appliance .
- Place the dryer onto the washing machine:
- Lift the front part of the dryer by 5 cm (2″) to 10 cm (4″).
- Attach the vacuum feet onto the front feet of the dryer.
- Push the dryer into the tipping guard (so that the B part is inserted into the A part) and release it (See fi gure on previous page).
Make sure the tipping guard is “locked”!
CHANGING THE DOOR OPENING DIRECTION
To change the direction of door opening, proceed as follows.

- Open the door fully.
- Undo the screws and remove the door.
- Use the screwdriver to remove the door lock cover and undo the screw on the door lock.
- Push the door lock upwards and remove it. Move it to the other side and push it downwards.
- Fasten the screw on the door lock. Replace the door lock cover.
- Undo the door hinge assembly (left) and the door latch assembly (right), switch their positions, and replace the screws (door hinge assembly to the right-hand side, door latch assembly to the left-hand side).
Use the screwdriver to remove the plastic part more easily. - Undo the door ring and remove it temporarily.
- Rotate the door glass cover by 90° so that the sign indicating the opening of the door is on the other side.
- Rotate the door ring by 180°, install it onto the door, and fasten it with screws.
- 10 Replace the door on the door hinge and fasten the screws.

BUILT-IN

ASKO dryers can be installed beneath a cabinet or worktop with a minimum height of 34” (864 mm). There must be a gap of about 1/2” (12 mm) all around the machine, including between the rear edge of the machine and the back wall. The opening width must be at least 24-1/2” (622 mm). The height adjustment for the dryer is 33-1/2” to 34-1/2” (850 mm to 876 mm). Do not raise it higher than 34-1/2” (876 mm). Hole measurements are from center of hole.
Closet Install- Ventilation Requirements
ASKO’s front panel controls make it possible to install the washers and dryers in a closet. Make sure there is clearance between units and cabinet or wall and a 1″ (25 mm) minimum clearance between the rear edge of the machine top panel and the cabinet or wall. To ensure proper ventilation, we recommend louvered doors. Otherwise there must be ventilation openings in the door. See illustration for minimum ventilation openings below (gray boxes):
- Ensure the dryer door can be opened without hindrance after installation.
- The cool air intake panel at the front of the dryer must not be blocked or covered. Doing so could cause an error.
AIR EXHAUST
The tumble dryer must only be operated when it is correctly fi tted with exhaust duct.
Connecting the exhaust duct to the dryer
You will need to purchase a UL-CSA-approved 4″ ridged metal exhaust duct. The dryer is delivered with the stub pipe attached to the rear exhaust outlet, though the exhaust duct can be attached to either the left or the right exhaust outlet.
To connect the exhaust duct to the left or right side outlet, follow the steps below:
- Using a fl at-head screwdriver, turn the exhaust outlet cover you plan to use to the right or left to align the tabs holding the cover in place.
- Remove the exhaust outlet cover.
- Remove the stub pipe from the rear exhaust outlet and place it in the outlet you plan to use.
- Use the exhaust outlet cover you removed from the to cover the rear exhaust outlet.

The duct must not be assembled with screws or other fasteners that extend into the duct and catch lint.
To connect the exhaust duct to the outlet, follow the steps below:
- Push the duct onto the stub pipe and secure it with a clamp.
- After you push the dryer into place, check for kinks in the duct.
- Excessive duct length and too many bends can impede drying performance. We recommend that you cut off any excess exhaust duct and run the duct with as few bends as possible. Make any necessary bends as gentle as possible.
- Maximum duct length of 60 feet. A maximum of 4 elbows may be used, but 4 feet of duct must subtracted from the total vent length for every 90° elbow used.
- To reduce the risk of fi re, this appliance must be exhausted OUTDOORS or the equivalent. Never cover the end of the dryer stub or exhaust duct with anything to catch lint, except for UL approved vent basket.
Connecting to a ventilation duct
You will need a UL-CSA-approved, 4-inch ridged metal exhaust duct. If a fl exible duct is used, it must comply with the Outline for Clothes Dryer Transition Duct. Subject 2158A and maximum length of 2.4 m (8 feet).
The more bends and the longer the duct, the less air will circulate through the machine, which will impede drying performance. We recommend that you cut off any excess exhaust duct and run the duct with as few bends as possible. And make any necessary bends as gentle as possible.
Maximum duct length of 60 feet. A maximum of 4 elbows may be used, but 4 feet of duct must subtracted from the total vent length for every 90° elbow used.
When installing in warm climates (77° F and above) with high humidity levels, do not route the air exhaust duct upwards. 
To connect the exhaust duct to a ventilation outlet, follow the steps below:
- Connect the exhaust duct to a ventilation exhaust fi tting or to a discharge through the wall.
- Secure the duct joint to the outlet stub on the machine.
- Run the duct with as few bends as possible to the point of discharge.

This appliance shall not be exhausted into a chimney, a wall, a ceiling, an attic, a crawl space
or a concealed space of a building. Only a rigid or
fl exible metal duct shall be used for exhausting. Only a metal ventilation grill shall be used. If the duct is taken to a wall outlet, a ventilation grill shall be fi tted to prevent reverse fl ow of cold air. Fit the ventilation grill to the outside of the wall.
Avoid:
- very long exhausting systems
- too many corners
- tight corners
These reduce e ffi ciency and increase time and energy consumption.
Risk of Fire.
A clothes dryer produces combustible lint. The dryer must be connected to an exhaust to the outdoors. Regularly inspect the outdoor exhaust opening and remove any accumulation of lint around the outdoor exhaust opening and in the surrounding area.
ELECTRICAL INSTALLATION
The receptacle on the rear of the machine is designed to accommodate ASKO washers ONLY
(rated 208–240 V.) To use this receptacle, you must use the ready-fi tted plug supplied with the washing machine or an equivalent.
- ASKO washers rated 208–240 V have two internal fuses of 15 A each.
- The machine should only be connected to a grounded wall socket.
- This appliance must be properly grounded. Refer to the “Important Safety Instructions” for grounding instructions.
- The power supply cord must be grounded. If the machine is to be used in a wet area, the supply must be protected by a residual current device. Connection to a permanently wired supply point must be made only by a qualifi ed electrician. As supplied: Single-phase, 208–240 V, 60 Hz, 3000W heater rating 30 A circuit required.
- Do not connect the machine to the mains electricity supply by an extension lead.

Electrical Connections
Read the Electrical requirements and grounding instructions before connecting the tumble dryer.
Electric models of the dryer are manufactured for
a 3-wire connection system. The dryer frame is grounded by a link to the neutral conductor on the dryer terminal block. If local codes do not permit grounding through the neutral, the grounding link from the terminal block must be removed and a separate ground wire must be used.
Only a 4-conductor cord shall be used when the appliance is installed in a location where grounding through the neutral conductor is prohibited. Grounding through the neutral conductor is prohibited for new branch-circuit installations, mobile homes, recreational vehicles, and areas where local codes prohibit grounding through the neutral conductors. The grounding link on the dryer must be removed for all 4-wire installations.
These Electrical Connection instructions provide for installing the dryer in the following situations:
3-wire connections where local codes permit grounding through the neutral, 3-wire connections with a separate grounding connector where local codes do not permit grounding through the neutral, and 4-wire connections.
Each of the above connections can be made
with an approved power supply cord or by direct wiring. Each connection instruction identifi es
the appropriate Power Supply Cord and covers requirements for direct wiring.
In Canada, the dryer is delivered ready-fi tted with a four-prong plug intended for connection to a single-phase supply.
Connecting a 3-wire Power Cord
Before starting this procedure, be sure the power is turned off at the breaker/fuse box.

Power Supply Cord
You will need a 3-wire power supply cord with three No. 10 copper wires and a matching 3-wire receptacle of NEMA Type 10-30R, as illustrated below:
To connect a 3-wire power cord to the dryer, follow the steps below.
The numbers in the illustration correlate to the step numbers.
- Turn the power off at the breaker or fuse box.
- Remove terminal block cover.
- Use the strain relief attached below the terminal block opening.
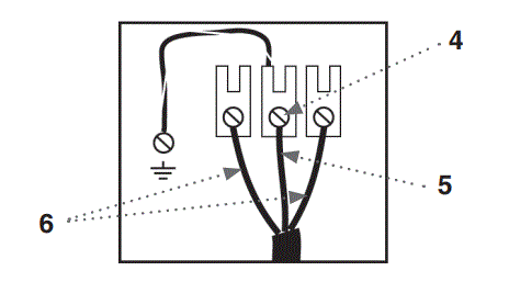
- Loosen or remove center terminal block screw.

- Connect ground (center) wire of power supply cord to the center, silver-colored terminal screw. Tighten screw.
- Connect the other wires to outer screws.
- Tighten the strain relief screws.
- Replace terminal box cover on back of dryer.
- Plug dryer into wall receptacle.
- Turn power on at breaker/fuse box.
Connecting a 4-wire Power Cord
Before starting this procedure, be sure the power is turned off at the breaker/fuse box.

Power Supply Cord
You will need a 4-wire power supply cord with
four No. 10 copper wires and a matching 4-wire receptacle of NEMA Type 14-30R, as illustrated below. The fourth wire must be identifi ed with a white cover and the ground conductor by a green cover. To connect a 4-wire power cord to the dryer, follow the steps below.
The numbers in the illustration correlate to the step numbers.
- Turn the power off at the breaker/fuse box.
- Remove terminal block cover.
- Use the strain relief attached below the terminal block opening.
- Remove center terminal block screw.

- Remove ground wire (green with yellow stripes) from external ground connector screw and remove from center terminal block.
- Connect ground (green) wire of cord to external ground conductor screw.
- Connect neutral (white) wire of cord under center screw of terminal block.
- Connect the other wires to outer screws.
- Tighten the strain relief screws.
- Replace terminal box cover on back of dryer.
- Plug dryer into wall receptacle.
- Turn power on at breaker/fuse box.
CONTACT INFORMATION
We reserve the right to modifi cations. TD85 SPO DOM US/CA






















