Continental Edison CEFC260DB 260 L Bottom Freezer Fridge Instructions

⚠ Safety information









Overview

This illustration is only for hinting, the detail please check your appliance.
TECHNICAL CHARACTERISTICS

The product information sheet, according to EU Regulation No. 2019/2016 on the energy labelling of refrigeration appliances, can be viewed via the link below or by scanning the QR code on the energy label of the product:
CEFC260DB: https://eprel.ec.europa.eu/qr/451029
CEFC260IX : https://eprel.ec.europa.eu/qr/451030

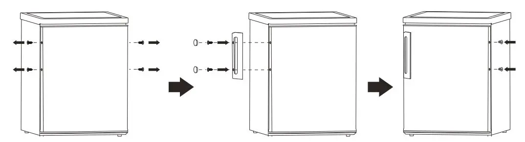
Reverse Door
Tool required: Philips screwdriver, Flat bladed screwdriver, Hexagonal spanner.
- Ensure the unit is unplugged and empty.
- To take the door off, ii is necessary to tilt the unit backwards. You should rest the unit on something solid so that it will not slip during the door reversing process.
- All parts removed must be saved to do the reinstallation of the door.
- Do not lay the unit flat as this may damage the coolant system.
- It’s better that 2 people handle the unit during assembly.







Installation
Install door external handle (if external handle is present)

Space Requirement
- Keep enough space of door open.

Levelling the unit

Positioning
Install this appliance at a location where the ambient temperature corresponds to the climate class indicated on the rating plate of the appliance: for refrigerating appliances with climate class:
– extended temperate: this refrigerating appliance is intended to be used at ambient temperatures ranging from 10 °C to 32 °C; (SN)
– temperate: this refrigerating appliance is intended to be used at ambient temperatures ranging from 16 °C to 32 °C;(N)
– subtropical: this refrigerating appliance is intended to be used at ambient temperatures ranging from 16 °C to 38 °C;(ST)
– tropical: this refrigerating appliance is intended to be used at ambient temperatures ranging from 16 °C to 43 °C;(T)
Location
The appliance should be installed well away from sources of heat such as radiators, boilers, direct sunlight etc. Ensure that air can circulate freely around the back of the cabinet. To ensure best performance, if the appliance is positioned below an overhanging wall unit, the minimum distance between the top of the ca bi-net and the wall unit must be at least 50 mm. Ideally, however, the appliance should not be positioned below overhanging wall units. Accurate leveling is ensured by one or more adjustable feet at the base of the cabinet.
This refrigerating appliance is not intended to be used as a built-in appliance;
⚠ Warning! It must be possible to disconnect the appliance from the mains power supply; the plug must there fore be easily accessible after installation.
Electrical connection
Before plugging in, ensure that the voltage and frequency shown on the rating plate correspond to your domestic power supply. The appliance must be earthed. The power supply cable plug is provided with a contact for this purpose. If the domestic power supply socket is not earthed, connect the appliance to a separate earth in compliance with current regulations, consulting a qualified electrician. The manufacturer declines all responsibility if the above safety precautions are not observed. This appliance complies with the E.E.C. Directives.
Daily Use
First use
Cleaning the interior
Before using the appliance for the first time, wash the interior and all internal accessories with lukewarm water and some neutral soap so as to remove the typical smell of a brand new product, then dry thoroughly.
Important! Do not use detergents or abrasive powders, as these will damage the finish.
Temperature Setting
- Plug on your appliance. The internal temperature is controlled by a thermostat. There are 8 settings. 1 is warmest setting and ?is coldest when set is 0, the appliance is switched off. When set is max, compressor will not stop
- The appliance may not operate at the correct temperature if it is in a particularly hot or if you open the door often.

Daily use
Position different food in different compartments according to be below table

Temperature setting recommendation

- Information above give users recommendation of temperature setting.
Impact on Food Storage
- Under Recommended setting, the best storage time of fridge is no more than 3 days.
- Under Recommended setting, the best storage time of freezer is no more than 1 month.
- The best storage time may reduce under other settings.
The interior temperature of the refrigerator is influenced by several factors such as the ambient temperature of the room, the amount of food stored and how often the door is opened. Take these factors into account when setting the temperature.
For the proper conservation of food in your refrigerator and in particular in the coldest area, make sure that the temperature indicator appears “OK”.
⚪
If “OK” does not appear, the temperature of the zone is too high.
Set the thermostat to a higher position. Wait at least 12 hours before readjusting the thermostat. After loading fresh food into the appliance or after repeated openings (or extended opening) of the door, it is normal for the temperature indicator not to display “OK”.
Freezing fresh food
- The freezer compartment is suitable for freezing fresh food and storing frozen and deep-frozen food for a long time.
- Place the fresh food to be frozen in the freezer compartment.
- The maximum amount of food that can be frozen in 24 hours is specified on the rating plate.
- The freezing process lasts 24 hours: during this period do not add other food to be frozen.
Storing frozen food
When first starting-up or after a period out of use, before putting the product in the compartment let the appliance run at least 2 hours on the higher settings.
Important! In the event of accidental defrosting, for example the power has been off for longer than the value shown in the technical characteristics chart under “rising time”, the defrosted food must be consumed quickly or cooked immediately and then re-frozen (after cooked).
Thawing
Deep-frozen or frozen food, prior to be used, can be thawed in the fridge compartment or at room temperature, depending on the time available for this operation.
Small pieces may even be cooked still frozen, directly from the freezer. In this case, cooking will take longer.
Door open alarm
If miss to close fridge door for 60s, the LED light will flash 3 times and then light for 5s, repeating this cycle until the door is closed.
Ice-cube
This appliance may be equipped with one or more ice-cube to produce ice.
Accessories
Movable shelves
The walls of the refrigerator are equipped with a series of runners so that the shelves can be positioned as desired.

Positioning the door balconies
To permit storage of food packages of various sizes, the door balconies can be placed at different heights. To make these adjustments proceed as follows: gradually pull the balcony in the direction of the arrows until it comes free, then reposition as required.

Helpful hints and tips
To help you make the most of the freezing process, here are some important hints:
- the maximum quantity of food which can be frozen in 24 hrs. is shown on the rating plate;
- the freezing process takes 24 hours. No further food to be frozen should be added during this period;
- only freeze top quality, fresh and thoroughly cleaned, foodstuffs;
- prepare food in small portions to enable it to be rapidly and completely frozen and to make it possible subsequently to thaw only the quantity required;
- wrap up the food in aluminium foil or polythene and make sure that the packages are airtight;
- do not allow fresh, unfrozen food to touch food which is already frozen, thus avoiding a rise in temperature of the latter;
- lean foods store better and longer than fatty ones; salt reduces the storage life of food;
- water ices, if consumed immediately after removal from the freezer compartment, can possibly cause the skin to be freeze burnt;
- it is advisable to show the freezing in date on each individual pack to enable you removal from the freezer compartment, can possibly cause the skin to be freeze burnt;
- it is advisable to show the freezing in date on each individual pack to enable you to keep tab of the storage time.
Hints for storage of frozen food
To obtain the best performance from this appliance, you should:
- make sure that the commercially frozen foodstuffs were adequately stored by the retailer;
- be sure that frozen foodstuffs are transferred from the food store to the freezer in the shortest possible time;
- not open the door frequently or leave it open longer than absolutely necessary.
- once defrosted, food deteriorates rapidly and cannot be re-frozen;
- do not exceed the storage period indicated by the food manufacture.
Hints for fresh food refrigeration
To obtain the best performance:
- Do not store warm food or evaporating liquids in the refrigerator
- Do cover or wrap the food, particularly if it has a strong flavour
- Make (all types): wrap in polythene bags and place on the glass shelves above the vegetable drawer.
- For safety, store in this way only one or two days at the most.
- Cooked foods, cold dishes, etc … : these should be covered and may be placed on any shelf.
- Fruit and vegetables: these should be thoroughly cleaned and placed in the special drawer(s) provided.
- butter and cheese: these should be placed in special airtight containers or wrapped in aluminum foil or polythene bags to exclude as much air as possible.
- Milk bottle: these should have a cap and should be stored in the balconies on the door.
- Bananas, potatoes, onions and garlic, if not packed, must not be kept in the fridge.
Cleaning
For hygienic reasons the appliance interior, including interior accessories, should be cleaned regularly.
⚠ Caution! The appliance may not be connected to the mains during cleaning. Danger of electrical shock! Before cleaning switch the appliance off and remove the plug from the mains, or switch off or turn out the circuit breaker or fuse. Never clean the appliance with a steam cleaner. Moisture could accumulate in electrical components, danger of electrical shock! Hot vapours can lead to the damage of plastic parts. The appliance must be dry before it is placed back into service.
Important! Ethereal oils and organic solvents can attack plastic parts, e.g. lemon juice or the juice form orange peel, butyric acid, cleanser that contain acetic acid.
Clean drain hole
To avoid defrost water overflowing into the fridge, periodically clean the drain hole at back of fridge compartment. Use a cleaner to clean the hole as showed in right picture.

- Do not allow such substances to come into contact the appliance parts.
- Do not use any abrasive cleaners
- Remove the food from the freezer. Store them in a cool place, well covered.
- Switch the appliance off and remove the plug from the mains, or switch off or turn out the circuit breaker of fuse.
- Clean the appliance and the interior accessories with a cloth and lukewarm water. After cleaning wipe with fresh water and rub dry.
- After everything is dry place appliance back into service.
Defrosting of the freezer
The freezer compartment, however, will become progressively covered with frost. This should be removed.
Never use sharp metal tools to scrape off frost from the evaporator as you could damage ii. However, when the ice becomes very thick on the inner liner, complete defrosting should be carried out as fellows:
- pull out the plug from the socket;
- remove all stored food, wrap it in several layers of newspaper and put it in a cool place;
- keep the door open, and placing a basin underneath of the appliance to collect the defrost water;
- when defrosting is completed, dry the interior thoroughly
- replace the plug in the power socket to run the appliance again.
Replace the lamp
- The internal light is a LED type. To replace the lamp, please contact qualified technician.

Troubleshooting
⚠ Caution I Before troubleshooting, disconnect the power supply. Only a qualified electrician or competent person must do the troubleshooting that is not in this manual.
Important! There are some sounds during normal use (compressor, refrigerant circulation).

Guarantee
Your refrigerating appliance is guaranteed by the manufacturer during a period of 24 months from the purchasing date (The dated invoice as proof).
Exclusions of guarantee : The guarantee do not cover the normal wear of the product, nor the problems or damages resulting from :
(1) superficial deteriorations due to the normal wear of the product ;
(2) defect or deteriorations due to contact with food or liquids and due to the corrosion generated by rust ;
(3) any incident, abuse, misuse, modification, disassembly or unauthorized repairs ;
(4) any wrong maintenance operation, use not conforming to the instruction for use of the product and connection to an unproperly power supply ;
(5) any use of not initially provided accessories or approved by the manufacturer.
Information : The guarantee won’t be applicable in case of missing rating plate or/and product serial number. repairs Services In case of malfunction during the guarantee period of the manufacturer: any repairs request must be addressed to the professional retailer you purchase your product to. After the expiry of the manufacturer guarantee period : refer to the document « Spare parts and repairs » in the documentation related to your refrigerating appliance available on the website HYPERLINK
“www.continentaledison.ext” Spare parts
The necessary spare parts for your product repairs are available at least 7 years, in conformity with the European regulation related to the eco-design of refrigerating appliances.
Refer to the document « spare parts and repairs » inside the documentation related to your refrigerating appliance, available on the website HYPERLINK
“www.continentaledison.ext” , it will inform you about :
– the availability for each spare part;
– the spare parts purchasing terms;
– some professional repairs services.
DISPOSAL
This device bears the selective sorting symbol for waste electrical and electronic equipment (WEEE). This means that this product must be taken into a selective collection system in accordance with European Directive 2012 /19 / EU so that it can either be dismantled or be recycled , and thus reduce the impact on the environment.
For more information , you can contact your local ( town hall) or regional administration.
Electronic products that have not been sorted are potentially dangerous for the environment due to the presence of hazardous substances.
When this device reaches the end of its useful life, you must take it to a selective collection center for it to be destroyed and / or recycled.
Under no circumstances should you throw this device on the public highway.
IMPORTE PAR AMC
123 quai Jules Guesde
94400 VITRY SUR SEINE
FRANCE
Continental Edison
120-126 quai de Bacalan
CS 11584
33000 Bordeaux

www.continentaledison.fr
CKCEN-T02 ![]()



















