beko CNA28520 Refrigerator Freezer

Product Information
Refrigerator – Freezer
The Refrigerator – Freezer is a household appliance that is designed to keep food and drinks fresh by maintaining a cool temperature. The product uses R600a refrigerant, which is completely environmentally friendly and flammable only under certain conditions. The product comes with a user manual that contains important information and safety instructions that should be read and followed carefully before using the product.
Important Safety Warnings
The user manual contains important safety warnings that should be read and followed carefully to ensure safe usage of the product. Some of the important safety warnings include:
- Do not hinder the free circulation of air around the appliance.
- Do not use mechanical devices to accelerate defrosting, other than those recommended by the manufacturer.
- Do not destroy the refrigerating circuit.
- Do not use electric appliances inside the food keeping compartment, other than those that might have been recommended by the manufacturer.
Product Usage Instructions
Before using the Refrigerator – Freezer, read the user manual carefully and make sure to follow all safety instructions. The following are some usage instructions:
Installation
When installing the product, make sure to:
- Read the installation instructions carefully before starting.
- Ensure that the product is placed in a location where there is free circulation of air around it.
- Connect the product to an electrical outlet that is properly grounded.
- Dispose of the packaging properly.
- Adjust the legs of the product to ensure that it is level and stable.
Preparation
Before using the product, make sure to:
- Set the thermostat to the desired temperature.
- Use the dual cooling system if available.
- Reverse the doors if needed.
- Freeze fresh food according to the instructions.
Using Your Refrigerator
When using the Refrigerator – Freezer, make sure to:
- Preserve food and drinks in the product according to the recommendations provided.
- Use the product’s water dispenser safely (if available).
- Ensure child safety around the product.
- Dispose of the waste product according to the WEEE regulation.
- Follow energy-saving tips to reduce energy consumption.
- By following these usage instructions and safety warnings, you can ensure safe and effective usage of your Refrigerator – Freezer.
- Please read this user manual first!
Dear Customer,
- We hope that your product, which has been produced in modern plants and checked under the most meticulous quality control procedures, will provide you an effective service.
- Therefore, read this entire user manual carefully before using the product and keep it as a reference. If you handover the product to someone else, give the user manual as well.
- The user manual will help you use the product in a fast and safe way.
- Read the manual before installing and operating the product.
- Make sure you read the safety instructions.
- Keep the manual in an easily accessible place as you may need it later.
- Read the other documents given with the product.
- Remember that this user manual is also applicable for several other models. Differences between models will be identified in the manual.
Explanation of symbols
Throughout this user manual the following symbols are used:
- Important information or useful tips.
- Warning against dangerous conditions for life and property. Warning against electric voltage.
WARNING!
- In order to ensure a normal operation of your refrigerating appliance, which uses a completely environmentally friendly refrigerant the R600a (flammable only under certain conditions) you must observe the following rules:
- Do not hinder the free circulation of the air around the appliance.
- Do not use mechanical devices in order to accelerate the defrosting, others than the ones recommended by the manufacturer.
- Do not destroy the refrigerating circuit.
- Do not use electric appliances inside the food keeping compartment, other than those that might have been recommended by the manufacturer.
- Please scan the QR code to find all the information relating to the packaging and how to manage the packaging waste
INFORMATION
Die Modellinformationen, wie sie in der Produktdatenbank gespeichert sind, können durch Eingabe der folgenden Web- site und Suche nach Ihrer Modellkennung (*) auf dem Ener- gieetikett erreicht werden. https://eprel.ec.europa.eu/
Your refrigerator
- Setting knob and interior light
- Fresh Food fan
- Adjustable Cabinet shelves
- Cover glass
- Salad crispers
- Ice tray
- Compartment for quickly freezing
- Compartments for frozen froods keeping
- Adjustable front feet
- Shelf for jars
- Shelf for bottles
- Freezer fan
Figures that take place in this instruction manual are schematic and may not correspond exactly with your product. If the subject parts are not included in the product you have purchased, then it is valid for other models.
Important Safety Warnings
- Please review the following information. Failure to observe this information may cause injuries or material damage. Otherwise, all warranty and reliability commitments will become invalid.
- Original Spare parts will be provided for 10 years, following the product purchasing date.
Intended use
- This product is intended to be used.
- indoors and in closed areas such as homes;
- in closed working environments such as stores and offices;
- in closed accommodation areas such as farm houses, hotels, pensions.
- It should not be used outdoors.
General safety
- When you want to dispose/scrap the product, we recommend you to consult the authorized service in order to learn the required information and authorized bodies.
- Consult your authorized service for all your questions and problems related to the refrigerator. Do not intervene or let someone intervene to the refrigerator without notifying the authorised services.
- For products with a freezer compartment; Do not eat cone ice cream and ice cubes immediately after you take them out of the freezer compartment! (This may cause frostbite in your mouth.)
- For products with a freezer compartment; Do not put bottled and canned liquid beverages in the freezer compartment. Otherwise, these may burst.
- Do not touch frozen food by hand; they may stick to your hand.
- Unplug your refrigerator before cleaning or defrosting.
- Vapor and vaporized cleaning materials should never be used in cleaning and defrosting processes of your refrigerator. In such cases, the vapor may get in contact with the electrical parts and cause short circuit or electric shock.
- Never use the parts on your refrigerator such as the door as a means of support or step.
- Do not use electrical devices inside the refrigerator.
- Do not damage the parts, where the refrigerant is circulating, with drilling or cutting tools. The refrigerant that might blow out when the gas channels of the evaporator, pipe extensions or surface coatings are punctured causes skin irritations and eye injuries.
- Do not cover or block the ventilation holes on your refrigerator with any material.
- Electrical devices must be repaired by only authorised persons. Repairs performed by incompetent persons create a risk for the user.
- In case of any failure or during a maintenance or repair work, disconnect your refrigerator’s mains supply by either turning off the relevant fuse or unplugging your appliance.
- Do not pull by the cable when pulling off the plug.
- Place the beverage with higher proofs tightly closed and vertically.
- Never store spray cans containing flammable and explosive substances in the refrigerator.
- Do not use mechanical devices or other means to accelerate the defrosting process, other than those recommended by the manufacturer.
- This product is not intended to be used by persons with physical, sensory or mental disorders or unlearned or inexperienced people (including children) unless they are attended by a person who will be responsible for their safety or who will instruct them accordingly for use of the product.
- Do not operate a damaged refrigerator. Consult with the service agent if you have any concerns.
- Electrical safety of your refrigerator shall be guaranteed only if the earth system in your house complies with standards.
- Exposing the product to rain, snow, sun and wind is dangerous with respect to electrical safety.
- Contact authorized service when there is a power cable damage to avoid danger.
- Never plug the refrigerator into the wall outlet during installation. Otherwise, risk of death or serious injury may arise.
- This refrigerator is intended for only storing food items. It must not be used for any other purpose.
- Label of technical specifications is located on the left wall inside the refrigerator.
- Never connect your refrigerator to electricity-saving systems; they may damage the refrigerator.
- If there is a blue light on the refrigerator, do not look at the blue light with optical tools.
- For manually controlled refrigerators, wait for at least 5 minutes to start the refrigerator after power failure.
- This operation manual should be handed in to the new owner of the product when it is given to others.
- Avoid causing damage on power cable when transporting the refrigerator. Bending cable may cause fire. Never place heavy objects on power cable.
- Do not touch the plug with wet hands when plugging the product.

- Do not plug the refrigerator if the wall outlet is loose.
- Water should not be sprayed on inner or outer parts of the product for safety purposes.
- Do not spray substances containing inflammable gases such as propane gas near the refrigerator to avoid fire and explosion risk.
- Never place containers filled with water on top of the refrigerator; in the event of spillages, this may cause electric shock or fire.
- Do not overload the refrigerator with food. If overloaded, the food items may fall down and hurt you and damage refrigerator when you open the door.
- Never place objects on top of the refrigerator; otherwise, these objects may fall down when you open or close the refrigerator’s door.
- As they require a precise temperature, vaccines, heat-sensitive medicine and scientific materials and etc. should not be kept in the refrigerator.
- If not to be used for a long time, refrigerator should be unplugged. A possible problem in power cable may cause fire.
For products with a water dispenser;
- Pressure of water mains should be minimum 1 bar. Pressure of water mains should be maximum 8 bars.
- Use only potable water.
Child safety
- If the door has a lock, the key should be kept away from reach of children.
- Children must be supervised to prevent them from tampering with the product.
Compliance with the WEEE Regulation and Disposing of the Waste Product
- The symbol on the product or on packaging indicates that this product may not be treated as household waste. Instead it shall be handed over to the applicable collection point for the recycling of electrical and electronic equipment. By ensuring this product is disposed of correctly, you will help prevent potential negative consequences for the environment and human health, which could otherwise be caused by inappropriate waste handling of this product. For more detailed information about recycling of this product, please contact your local city office, you household waste disposal service or the shop where you purchased the product.
Package information
- Packaging materials of the product are manufactured from recyclable materials in accordance with our National Environment Regulations. Do not dispose of the packaging materials together with the domestic or other wastes. Take them to the packaging material collection points designated by the local authorities.
- Do not forget…
- Any recycled substance is an indispensable matter for nature and our national asset wealth.
If you want to contribute to the reevaluation of the packaging materials, you can consult to your environmentalist organizations or the municipalities where you are located.
HCA warning
- If your product’s cooling system contains R600a:
- This gas is flammable. Therefore, pay attention to not damaging the cooling system and piping during usage and transportation. In the event of damage, keep your product away from potential fire sources that can cause the product catch a fire and ventilate the room in which the unit is placed.
- Type of gas used in the product is stated in the type label which is on the left wall inside the refrigerator.
- Never throw the product in fire for disposal.
Things to be done for energy Saving
- Do not leave the doors of your refrigerator open for a long time.
- Do not put hot food or drinks in your refrigerator.
- Do not overload your refrigerator so that the air circulation inside of it is not prevented.
- Do not install your refrigerator under direct sunlight or near heat emitting appliances such as ovens, dishwashers or radiators. Keep your refrigerator at least 30 cm away from heat emitting sources and at least 5 cm from electrical ovens.
- Pay attention to keep your food in closed containers.
- For products with a freezer compartment; You can store maximum amount of food items in the freezer when you remove the shelf or drawer of the freezer. Energy consumption value stated for your refrigerator has been determined by removing freezer shelf or drawer and under maximum load. There is no harm to use a shelf or drawer according to the shapes and size of food to be frozen.
- Thawing frozen food in fridge compartment will both provide energy saving and preserve the food quality.
- In case the information which are given in the user manual are not taken into account, manufacturer will not assume any liability for this.
Installation
Points to be paid attention to when the relocation of the refrigerator
- Your refrigerator should be unplugged.Before transportation of your refrigerator, it should be emptied and cleaned.
- Before it is re-packaged, shelves, accessories, crisper, etc. inside your refrigerator should be fixed with adhesive tape and secured against impacts. Package should be bound with a thick tape or sound ropes and the transportation rules on the package should be strictly observed.
- Original packaging and foam materials should be kept for future transportations or moving.
Before you start the refrigerator
Check the following before you start to use your refrigerator:
- Clean the interior of the refrigerator as recommended in the “Maintenance and cleaning” section.
- Connect the plug of the refrigerator to the wall socket. When the fridge door is opened, fridge internal lamp will turn on.
- When the compressor starts to operate, a sound will be heard. The liquid and gases sealed within the refrigeration system may also give rise to noise, even if the compressor is not running and this is quite normal.
- Front edges of the refrigerator may feel warm. This is normal. These areas are designed to be warm to avoid condensation.
Electrical connection
Connect your product to a grounded socket that is protected by a fuse with the appropriate capacity.
Important:
- The connection must be in compliance with national regulations.
- The power plug must be easily accessible after installation.
- Electrical safety of your refrigerator shall be guaranteed only if the earth system in your house complies with standards.
- The voltage stated on the label located at left inner side of your product should be equal to your network voltage.
- Extension cables and multi plugs must not be used for connection.
- A damaged power cable must be replaced by a qualified electrician.
- Product must not be operated before it is repaired! There is the risk of electric shock!
Disposing of the packaging
- The packing materials may be dangerous for children. Keep the packing materials out of the reach of children or dispose of them by classifying them in accordance with the waste instructions stated by your local authorities. Do not throw away with regular house waste, throw away on packaging pick up spots designated by the local authorities.
- The packing of your refrigerator is produced from recyclable materials.
Disposing of your old Refrigerator
- Dispose of your old refrigerator without giving any harm to the environment.
- You may consult your authorized dealer or waste collection center of your municipality about the disposal of your refrigerator.
Before disposing of your refrigerator, cut out the electric plug and, if there are any locks on the door, make them inoperable in order to protect children against any danger.
Placing and Installation
If the entrance door of the room where the refrigerator will be installed is not wide enough for the refrigerator to pass through, then call the authorized service to have them remove the doors of your refrigerator and pass it sideways through the door.
- Install your refrigerator to a place that allows ease of use.
- Keep your refrigerator away from heat sources, humid places and direct sunlight.
- There must be appropriate air ventilation around your refrigerator in order to achieve an efficient operation. If the refrigerator is to be placed in a recess in the wall, there must be at least 5 cm distance with the ceiling and at least 5 cm with the wall. Do not place your product on the materials such as rug or carpet.
- Place your refrigerator on an even floor surface to prevent jolts.
Changing the illumination Lamp
- To change the Bulb/LED used for illumination of your refrigerator, call your Authorized Service.
- The lamp(s) used in this appliance is not suitable for household room illumination. The intended purpose of this lamp is to assist the user to place foodstuffs in the refrigerator/freezer in a safe and comfortable way.
- The lamps used in this appliance have to withstand extreme physical conditions such as temperatures below -20°C.
Adjusting the legs
If your refrigerator is unbalanced;
- You can balance your refrigerator by turning its front legs as illustrated in the figure. The corner where the leg exists is lowered when you turn in the direction of black arrow and raised when you turn in the opposite direction. Taking help from someone to slightly lift the refrigerator will facilitate this process.

Preparation
- Your refrigerator should be installed at least 30 cm away from heat sources such as hobs, ovens, central heater and stoves and at least 5 cm away from electrical ovens and should not be located under direct sunlight.
- The ambient temperature of the room where you install your refrigerator should at least be 10°C. Operating your refrigerator under cooler conditions is not recommended with regard to its efficiency.
- Please make sure that the interior of your refrigerator is cleaned thoroughly.
- If two refrigerators are to be installed side by side, there should be at least 2 cm distance between them.
- When you operate your refrigerator for the first time, please observe the following instructions during the initial six hours.
- The door should not be opened frequently.
- It must be operated empty without any food in it.
- Do not unplug your refrigerator. If a power failure occurs out of your control, please see the warnings in the “Recommended solutions for the problems” section.
- Original packaging and foam materials should be kept for future transportations or moving.
Using your refrigerator
Thermostat setting button
The interior temperature of your refrigerator changes for the following reasons;
- Seasonal temperatures,
- Frequent opening of the door and leaving the door open for long periods,
- Food put into the refrigerator without cooling down to the room temperature,
- The location of the refrigerator in the room (e.g. exposing to sunlight).
- You may adjust the varying interior temperature due to such reasons by using the thermostat.
- Operating temperatures are controlled by the thermostat knob and may be set at any position between MIN and MAX (the coldest position).
- The average temperature inside the fridge should be around +5°C (+41°F). Therefore adjust the thermostat to obtain the desired temperature. Some sections of the fridge may be cooler or warmer (such as salad crisper and top part of the cabinet) which is quite normal. We recommend that you check the temperature periodically with a thermometer to ensure that the cabinet is kept to this temperature. Frequent door openings cause internal temperatures to rise, so it is advisable to close the door as soon as possible after use.
Dual cooling system:
- Your refrigerator is equipped with two separate cooling systems to cool the fresh food compartment and freezer compartment. Thus, air in the fresh food compartment and freezer compartment do not get mixed.
- Thanks to these two separate cooling systems, cooling speed is much higher than other refrigerators. Odors in the compartments do not get mixed. Also additional power saving is provided since the defrosting is performed individually.
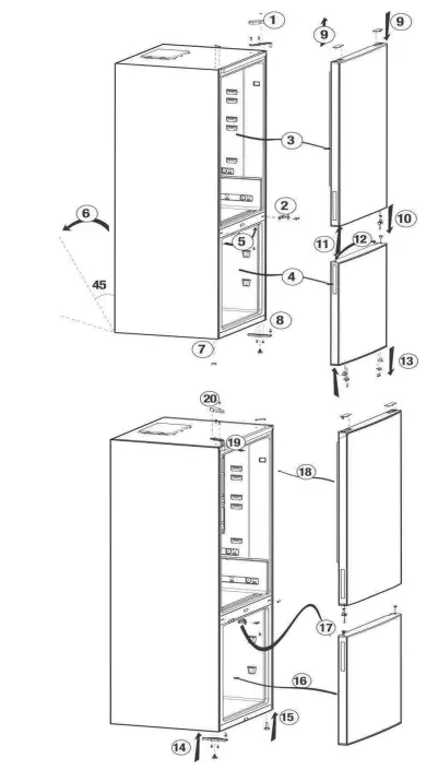
Reversing the doors
Proceed in numerical order
Freezing fresh food
- Wrap or cover the food before placing them in the refrigerator.
- Hot food must cool down to the room temperature before putting them in the refrigerator.
- The foodstuff that you want to freeze must be fresh and in good quality.
- Foodstuff must be divided into portions according to the family’s daily or meal based consumption needs.
- Foodstuff must be packaged in an airtight manner to prevent them from drying even if they are going to be kept for a short time.
- Materials to be used for packagings must be resistant to cold and humidity and they must be airtight. The packaging material of the food must be at a sufficient thickness and durability. Otherwise the food hardened due to freezing may puncture the packaging. It is important for the packaging to be closed securely for safe storage of the food.
- Frozen food must be used immediately after they are thawed and they should never be re-frozen.
- Placing warm food into the freezer compartment causes the cooling system to operate continuously until the food is frozen solid.
- Please observe the following instructions to obtain the best results.
- Do not freeze too large quantities of food at one time. The quality of the food is best preserved when it is frozen right through to the core as quickly as possible.
- Take special care not to mix already frozen food and fresh food.
- Make sure raw foods are not in contact with cooked foods in the fridge.
- Maximum frozen food storage volume is achieved without using the drawers provided in the freezer compartment. Energy consumption of your appliance is declared while the freezer compartment is fully loaded on shelves without the use of the drawers.
- It is recommended that you place foodstuffs on top shelf of freezer for initial freezing.
| Freezer Compartment Setting | Fridge Compartment Setting | Explanations |
| -18°C | 4°C | This is the normal recommended setting. |
| -20, -22 or -24°C | 4°C | These settings are recommended when the ambient temperature exceeds 30°C. |
| Quick Freeze | 4°C | Use when you wish to freeze your food in a short time. If is recommended to be used to maintain the quality of meat and fish products. |
| -18°C or colder | 2°C | If you think that your fridge compartment is not cold enough because of the hot conditions or frequent opening and closing of the door. |
|
-18°C or colder |
Quick Fridge | You can use it when your fridge compartment is overloaded or if you wish to cool down your food rapidly. It is recommended that you activate quick fridge function 4-8 hours before placing the food. |
Recommendations for preservation of frozen food
- Pre-packed commercially frozen food should be stored in accordance with the frozen food manufacturer’s instructions in a frozen food storage compartment.
- To ensure that the high quality supplied by the frozen food manufacturer and the food retailer is maintained, following points should be noted:
- Put packages in the freezer as quickly as possible after purchase.
- Ensure that contents of the package are labeled and dated.
- Do not exceed “Use By”, “Best Before” dates on the packaging.
Defrosting
The freezer compartment defrosts automatically.
Placing the food
| Freezer compartment shelves | Various frozen food such as meat, fish, ice cream, vegetables and etc. |
| Egg holder | Egg |
| Fridge compartment shelves | Food in pans, covered plates and closed containers |
| Fridge compartment door shelves | Small and packaged food or drinks (such as milk, fruit juice and beer) |
| Crisper | Vegetables and fruits |
| Fresh zone compartment | Delicatessen products (cheese, butter, salami and etc.) |
Deep-freeze information
- Food must be frozen as rapidly as possible when they are put in the freezer in order to keep them in good quality.
- The TSE norm requires (according to certain measurement conditions) the refrigerator to freeze at least 4.5 kg of foodstuff at 32°C ambient temperature to -18°C or lower within 24 hours for every 100-liters of freezer volume.
- It is possible to preserve the food for a long time only at -18°C or lower temperatures.
- You can keep the freshness of food for many months (at -18°C or lower temperatures in the deep freeze).
WARNING!
- Foodstuff must be divided into portions according to the family’s daily or meal based consumption needs.
- Foodstuff must be packaged in an airtight manner to prevent them from drying even if they are going to be kept for a short time.
Materials necessary for packaging:
- Cold resistant adhesive tape
- Self-adhesive label
- Rubber rings
- Pen
- Materials to be used for packaging the foodstuff must be tear-proof and resistant to cold, humidity, dour, oils and acids.
Foodstuff to be frozen should not be allowed to come in contact with the previously frozen items to prevent their partial thawing. Thawed out food must be consumed and must not be frozen again.
Recommendations for the fresh food compartment optional
- Do not allow the food to touch the temperature sensor in fresh food compartment. To allow the fresh food compartment keep its ideal storage temperature, sensor must not be hindered by food.
- Do not place hot foods in the product.

Maintenance and cleaning
- Never use gasoline, benzene or similar substances for cleaning purposes.
- We recommend that you unplug the ppliance before cleaning.
- Never use any sharp abrasive instrument, soap, household cleaner, detergent and wax polish for cleaning.
- Use lukewarm water to clean the cabinet of your refrigerator and wipe it dry.
- Use a damp cloth wrung out in a solution of one teaspoon of bicarbonate of soda to one pint of water to clean the interior and wipe it dry.
- Make sure that no water enters the lamp housing and other electrical items.
- If your refrigerator is not going to be used for a long period of time, unplug the power cable, remove all food, clean it and leave the door ajar.
- Check door seals regularly to ensure they are clean and free from food particles.
- To remove door racks, remove all the contents and then simply push the door rack upwards from the base.
- Never use cleaning agents or water that contain chlorine to clean the outer surfaces and chromium coated parts of the product. Chlorine causes corrosion on such metal surfaces.
Protection of plastic surfaces
- Do not put the liquid oils or oil-cooked meals in your refrigerator in unsealed containers as they damage the plastic surfaces of your refrigerator. In case of spilling or smearing oil on the plastic surfaces, clean and rinse the relevant part of the surface at once with warm water.
Troubleshooting
Please review this list before calling the service. It will save your time and money. This list includes frequent complaints that are not arising from defective workmanship or material usage. Some of the features described here may not exist in your product.
The refrigerator does not operate.
- The plug is not inserted into the socket correctly. >>>Insert the plug into the socket securely.
- The fuse of the socket which your refrigerator is connected to or the main fuse has blown out. >>>Check the fuse.
- Condensation on the side wall of the fridge compartment (MULTIZONE, COOL CONTROL, and FLEXI ZONE).
- Ambient is very cold. >>>Do not install the refrigerator in places where the temperature falls below 10°C.
- The door has been opened frequently. >>>Do not open and close the door of the refrigerator frequently.
- Ambient is very humid. >>>Do not install your refrigerator in highly humid places.
- Food containing liquid is stored in open containers. >>>Do not store food with liquid content in open containers.
- The door of the refrigerator is left ajar. >>>Close the door of the refrigerator.
- The thermostat is set to a very cold level. >>>Set the thermostat to a suitable level.
The compressor is not running
- The protective thermic of the compressor will blow out during sudden power failures or plug-out plug-ins as the refrigerant pressure in the cooling system
of the refrigerator has not been balanced yet. The refrigerator will start running approximately after 6 minutes. Please call the service if the refrigerator does not startup at the end of this period. - The fridge is in defrost cycle. >>>This is normal for a full-automatically defrosting refrigerator. Defrosting cycle occurs periodically.
- The refrigerator is not plugged into the socket. >>>Make sure that the plug is fitted into the socket.
- Temperature settings are not made correctly. >>>Select the suitable temperature value.
- There is a power outage. >>>Refrigerator returns to normal operation when the power is restored.
The operation noise increases when the refrigerator is running.
- The operating performance of the refrigerator may change due to changes in the ambient temperature. It is normal and not a fault.
- www.beko.com
- 4578336856/AD EN-D-SQ-SL-UA



















