R SLE 25448 Universal BBQ LED Handle Light Instruction Manual
Dear RÖSLE customer,
Congratulations! You have opted for a high-quality LED handle light from RÖSLE. You have made a good choice and an investment in quality and durability. These operating instructions are part of this product. They contain important information on safety, usage and disposal. Prior to using the product, read all operating and safety notes carefully.
IMPORTANT SAFETY INSTRUCTIONS
Please observe the following warnings and instructions in order to avoid any safety risks, prevent damage to the machine and make a contribution to environmental protection.
Read through all safety notes carefully before you use the device. Keep the operating instructions in case you have questions later on. The manufacturer cannot be held liable for any damage due to improper handling and non-observance of the safety notes.
All specifications in these operating instructions must be strictly adhered to.
ATTENTION!
Not suitable for babies and children!
Keep batteries out of reach of children. Children might put batteries in their mouth and swallow them. This can cause serious harm. If this happens, call a doctor immediately! Keep batteries in a place where small children cannot creach them.
Improperly inserted batteries can lead to an explosion!
Normal batteries may not be charged, reactivated by other means, disassembled, heated or thrown into an open fire (risk of explosion!).
Do not expose batteries to any extreme conditions. Do not place on top of heating units, and do not expose to direct sunlight! Leaky or damaged batteries can cause corrosive burns in case of skin contact. Use appropriate protective gloves when handling such batteries. Use a dry cloth to clean the battery compartment.
SAFETY INSTRUCTIONS
- Keep packaging (plastic bag, cardboard, polystyrene etc.) out of reach of children. Children must not be allowed to play with plastic bags. There is a risk of suffocation!
- The device is not a toy any must always be stored in such a way that it cannot be reached by babies and children. There is a risk of small parts being swallowed by children.
- The handle light is made out of heat-resistant material. Grease fires or using the grill with an open lid for a longer period of time may cause damage to the handle light. In addition, also protect the handle light against hot surfaces and excessive radiant heat.
- Handle this device with care. Blows, impacts, or drops, even from a low height, can lea to damage.
- If you do not use the device or leave it unattended for a longer period of time, switch it off and store it in a location where it is protected against the influences of the weather.
INTENDED USE
The device is designed to illuminate the grill surface of the grill when the lid is opened. For that purpose, the handle light is attached to the lid handle without direct exposure to heat.
Any warranty and liability claims against the manufacturer shall lapse in case of improper or unintended use and changes to the device.
COMMISSIONING
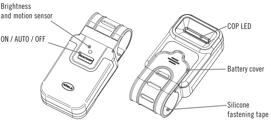
THE LED HANDLE LIGHT IN DETAIL

INSERTING THE BATTERY
- Remove the fastening screws with a suitable tool and remove the cover of the battery compartment.
- Insert the new batteries according to the symbols provided.
- Ensure that the seal of the battery compartment fits properly.
- Put the cover of the battery compartment on again and fasten it with the screws again.
ATTACHING THE HANDLE LIGHT TO THE LID HANDLE

HANDLING
SWITCHING ON, SWITCHING OFF, AUTO MODE
The pushbutton allows you to switch between three different modes:
- ON Normal operation
- AUTO AUTO-mode (brightness and motion sensor)
- OFF Off
When you switch the handle light on, it is automatically in normal operation/normal operating mode. If you press the button again, the AUTO mode is activated. The LED lamp briefly flashes twice, indicating that the brightness and motion sensor is active.
To switch the device off, press the ON/AUTO/OFF button again. The light then flashes again, indicating that the light is switched off.
AUTO MODE
The RÖSLE LED handle light features an AUTO mode. Thanks to the brightness and motion sensor integrated in the handle light, the brightness in the surrounding area and the movements of the lid are automatically monitored. Once it gets dark enough, and when the lid is opened, the light switches on automatically. This function offers maximum convenience with regard to lighting when the grill is used. It also prolongs the service life of the device.
CHANGE BATTERY
When replacing batteries, always use batteries of the correct type and model number (see “Technical data“). Replace dying batteries without delay.
Clean battery contacts and device contacts before inserting.
- Make sure that the handle light is switched off.
- Remove the fastening screws with a suitable tool and remove the cover of the battery compartment.
- Remove the used batteries from the battery compartment.
- Insert the new batteries according to the symbols provided.
- Ensure that the seal of the battery compartment fits properly.
- Put the cover of the battery compartment on again and fasten it with the screws again.
CLEANING AND DRYING
If the LED handle light was used in a humid/moist environment, take out the batteries and dry it. If your LED handle light has become dirty, for example due to splashes of grease, clean it with a damp cloth and let it dry. Prevent the LED handle light from coming into contact with chemical products.
NOTE ON THE DISPOSAL OF BATTERIES
You must not dispose of empty batteries with household waste. Used batteries may contain harmful substances which may be harmful to health and to the environment. Please return the batteries to a retail store or hand them over to a recycling centre in your township or city. Returning used batteries is free of charge and is prescribed by law. Please only throw discharged batteries into the containers provided for that purpose. All batteries are recycled. That way, valuable raw materials such as iron, zinc or nickel can be reused. The recycling of batteries is essential for environmental protection. For further information on disposing of batteries in an environmentally friendly way, please contact your local authority.
DISPOSAL
Your new device has been protected by its packaging on its way to you. All packaging materials used are environmentally friendly and recyclable. Together we can help separate waste and dispose of packaging in an environmentally friendly way. For information on current disposal methods please contact your nearest dealer or your local collection point.
The “crossed-out dustbin” symbol on the product indicates that this electrical or electronic device must not be disposed of with household waste when it reaches the end of its life but must be brought to a collection point for the recycling of electronic devices. Free collection points for used electrical devices are available in your vicinity, as well as other collection points for recycling the devices. You can obtain the addresses of collection points from your city or local government. In case of old electrical or electronic devices containing personal data, the customer is responsible for deleting the data before recycling the device. Old devices are not valueless waste. Through environmentally friendly disposal, valuable raw materials can be recovered.
GENERAL INFORMATION AND WARRANTY
This item is covered by the statutory warranty. The warranty applies to deficiencies of the article caused by a material and/or manufacturing defect. The statutory warranty period commences from the date shown on the invoice/receipt. Please keep your invoice/receipt in a safe place for proof of warranty. In case of questions or doubts, please contact the merchant from whom you purchased the product. Keep these operating instructions for future reference.
SERVICE AND CONTACT
For questions or suggestions, please use our contact form at:
www.roesle.com/service
TECHNICAL DATA
Model: 25448
IP: 44
Power:
DC 4,5 V 70mA
Batteries: 3x Type AAA. R03, LR03, 1,5V
Lamp: COB LED / 100lm
We reserve the right to make technical modifications as well as changes to the visual appearance of the device within the framework of product improvement.
DECLARATION OF CONFORMITY
The manufacturer/distributor declares that this product conforms to the relevant regulations of Directive 2015/30/EU on the harmonisation of the laws of the member states relating to electromagnetic compatibility as well as the other EU directives on harmonisation that have been applied.
We hope you enjoy your new RÖSLE product.
Your RÖSLE team from Marktoberdorf
RÖSLE GmbH & Co. KG
Johann-Georg-Fendt-Straße 38
87616 Marktoberdorf
Deutschland / Germany / Allemagne
Tel. +49 8342 912 0
Fax +49 8342 912-190
www.roesle.com


















