ZURN XT Water Thermal Expansion Tank

Application
Designed for installation on potable water lines between the backflow preventer or pressure-reducing valve and the water heater to protect against water thermal expansion. When system pressure increases, water enters the tank’s polypro-pylene-lined water chamber which expands a diaphragm into a pre-charged air chamber, keeping system pressure below the relief valve setting.
Standards Compliance
- IAPMO® Listed
- Water Quality Association – Certified to NSF/ANSI 61 & 372* *(0.25% MAX. WEIGHTED AVERAGE LEAD CONTENT)
Materials
- Outer shell Carbon Steel
- Coatings Epoxy finish (outer shell)
- Connection Stainless Steel
- Liner Polypropylene
- Diaphragm Butyl Rubber
Features
- Sizes (liters): 8, 18, 35
- Maximum Supply Pressure: 80 PSI
- End connections Threaded NPT ANSI B1.20.1
- Factory Pre-charge (adjustable) 40 PSI
Accessories
- NR3XL – Water pressure reducing valve
- TP1100A – Temperature & pressure relief valve
- P1000AXL – Pressure relief valve
- P3000CI – Pressure relief valve
- P3000BR – Pressure relief valve
- 975XL2 – Reduced pressure backflow preventer
- VR10XL – Vacuum relief valve
Note: Model XT tanks are certified to NSF 61 domestic hot, but are suitable for temperatures up to 200° F.
Note: Not suitable for use on fire sprinkler systems as required by NFPA 13 or 13D.
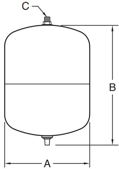
Dimensions & Weights

| TANK DIMENSIONS AND CAPACITIES | ||||||||
| MODEL NUMBER | MAXIMUM SUPPLY PRESSURE psi | TANK VOLUME (gallons) | MAXIMUM ACCEPTANCE VOLUME (gallons) | FACTORY PRE-CHARGE psi | DIMENSIONS | WEIGHT lbs. | ||
| DIAMETER A | HEIGHT B | SYSTEM CONNECTION C | ||||||
| XT-8 | 80 | 2.1 | 1.0 | 40 | 8 | 10 1/2 | 3/4NPT | 5.5 |
| XT-18 | 80 | 4.8 | 2.4 | 40 | 11 | 13 1/2 | 3/4 NPT | 10 |
| XT-35 | 80 | 9.0 | 4.25 | 40 | 12 1/2 | 17 1/4 | 3/4 NPT | 15.5 |
Sizing Chart
| Supply Pressure (PSIG) | Tank Pre-Charged (PSIG) | WATER HEATER CAPACITY (U.S. gal) | ||||||||||
| 20 | 30 | 40 | 50 | 60 | 80 | 100 | 120 | 150 | 175 | 200 | ||
| 40 | 40 | 8 | 8 | 8 | 8 | 8 | 18 | 18 | 18 | 35 | 35 | 35 |
| 50 | 50 | 8 | 8 | 8 | 8 | 8 | 18 | 18 | 18 | 35 | 35 | 35 |
| 55 | 55 | 8 | 8 | 8 | 8 | 8 | 18 | 18 | 18 | 35 | 35 | 35 |
| 60 | 60 | 8 | 8 | 8 | 8 | 18 | 18 | 18 | 18 | 35 | 35 | 35 |
| 70 | 70 | 8 | 8 | 8 | 18 | 18 | 18 | 18 | 35 | 35 | 35 | 35 |
| 80 | 80 | 8 | 8 | 18 | 18 | 18 | 18 | 35 | 35 | 35 | 35 | 35 |
| Based upon 100° temperature rise (40°F to 140°F) and 150 PSI maximum allowable tank pressure | ||||||||||||
Typical Installation
Local codes shall govern installation requirements. Unless otherwise specified, the assembly shall be mounted on the cold water supply and at least 18” from the cold water inlet to the heater. Note: Pre-charge should be adjusted to match incoming water pressure (adjust pre-charge with no water pressure in tank). Maximum allowable pre-charge in this expansion tank is 80 PSI. A properly sized pressure relief valve set at a maximum of 150 PSI must also be installed in the system. For installations that have a supply pressure above 80 PSI, a properly sized pressure-reducing valve should be installed on the system.

Specifications
The Water Thermal Expansion Tank’s outer shell shall be carbon steel. The diaphragm shall be FDA-approved butyl rubber and, the water chamber shall be polypropylene lined to preclude water contact with the shell interior. The assembly shall have an NPT Stainless steel system connection and a 0.301”-32 charging valve connection (standard tire valve) to facilitate the on-site charging of the tank to meet system requirements. The tank shall be IAPMO® listed and certified to NSF/ANSI 61& 372. The Water Thermal Expansion Tank shall be a ZURN WILKINS Model XT.
Zurn Industries, LLC | Wilkins
1747 Commerce Way, Paso Robles, CA U.S.A. 93446 Ph. 855-663-9876, Fax 805-238-5766
In Canada | Zurn Industries Limited
7900 Goreway Drive, Unit 10, Brampton, Ontario L6T 5W6, 877-892-5216
www.zurn.com


















