User Manual
GIRAFFE 312 G
Instruction manual![]()
Podadora de Altura
TRANSLATION OF THE ORIGINAL INSTRUCTIONS
Ref.:GDGIRAFFE312GV21M0421V2
DATE OF PUBLICATION: 05/06/2021
DATE OF REVISION: 07/06/2021
INTRODUCTION
Thank you for choosing this Garland machine. We are sure that you will appreciate the quality of the machine and that the machine will help you to carry out its required functions for a long period of time. Remember that this machine comes with a large and expert after-sales network to which you can take your machine for maintenance, repair, or to purchase spare parts and accessories.
Attention! Read all the security warnings and the instruction manual. Noncompliance could result in fire and/or serious injury. Before using the machine read the manual carefully and especially that related to secure and correct start-up.
When using this trimmer, cut only wood. Do not use the chainsaw for other purposes not provided. For example: do not use the chainsaw to cut plastic materials, bricks, or building materials other than wood. The use of the chainsaw for operations other than those planned may cause dangerous situations.
Keep all the warning signs and the manual for future reference. If you sell the machine, remember to pass on the manual to the new owner.
The expression switch to position “open” means offline and to position “close” means connected.
Remember user is the responsible for danger and accidents caused to other people or things. The manufacturer will not be liable for damages caused by inadequate or incorrect use of the machine.
SAFETY RULES AND PRECAUTIONS
To avoid incorrect manipulation of this machine, read the instruction manual before using the machine for the first time. All information included in this manual is relevant and important for your security as well as for the security of other people, animals, and objects surrounding you. Should you have any doubts with respect to the information contained in this manual, please ask a specialist or visit your local dealer where you purchased the machine.”
The next danger and precautions list include the most probably situations that can happen while the machine is being used. If you are in a nonlisted situation in this manual use your common sense to use the machine in the safety way possible or, if you feel danger, don’t use the machine.
2.1. USERS
This machine has been designed to be used by people over 18 who have read and understood the instruction manual. This machine can not be used by persons (including children) with reduced physical, psychological or mental capabilities, or lack of experience or knowledge.
Attention! Do not allow underage people to use the machine.
Attention! Do not allow people who have not understood this manual clearly to use this machine.
The cutting device of this machine is sharp. Using this machine improperly is dangerous.
Before using this machine, familiarise yourself with all the controls, security devices, and how these are used. If you are not an expert user, we strongly recommend that you practice firstly with some simple chores preferably in the presence of an expert user.
If you are not a professional user, we strongly recommend that you start by performing some simple tasks and if possible, in front of a professional user.
Attention! Only lend this machine to people familiarised with the use of this type of machine. Always lend the machine with the instruction manual so that this new user reads it in detail and understands it. This machine is dangerous if used by untrained hands.
This machine is dangerous in hands of untrained users.
2.2. PERSONAL SECURITY
Be alert and vigilant when using this machine and use common sense.
Avoid inhaling exhaust fumes. This machine produces hazardous gases such as carbon monoxide than could cause dizziness, fainting, or death.
Do not use this machine if tired or under the influence of drugs, alcohol, or medicines. One moment of distraction could cause severe personal injuries. Never operate the machine with defective guards, or without safety devices.
Do not modify the machine controls or regulations of the speed motor.
Clear the workplace of tools and keys prior to starting up. If the machine comes into contact with a key or tool in the workplace, this could be propelled causing personal damage.
Do not overstretch. Maintain your feet well placed on the floor and maintain a good equilibrium at all times. Always maintain proper foot support and run the machine only when standing on a fixed surface, safe and stable. Or unstable sliding surfaces may cause loss of balance or control of the machine.
Keep all parts of the body away from the cutting elements when the machine is running. Before start-up, make sure that the cutting element is not in contact with any object. One small lapse in attention can cause your clothes or any body part to be caught by the cutting device.
Be extremely careful when cutting shrubs and young trees. Thin materials can be projected towards the end-user or could make you lose your equilibrium. If you are a novice user, we recommend you have a minimum practice on a flat surface
If the machine vibrates abnormally stop the engine, inspect the machine look for the possible cause, and repair it.If you don’t find the reason take your machine to your service. Do not touch the exhaust of the machine with the engine running or just after it has been stopped. The exhaust of this machine reaches high temperatures during the operation of the engine and is kept some minutes after the stop thereof.
Do not leave the machine running unattended. If you must leave the machine unattended shut off the engine, wait until the cutting device stops, and unplug the spark plug wire.
When transporting the machine, make sure it is hooked to the harness and with your hands on the handles, with the engine stopped, with the blade protector, and at a distance from your body parts. When transporting or storing the machine, always cover the blade. Appropriate use of the machine will greatly reduce the risk of accidental contact with
the cutting elements.
Do not attempt to remove cut material from the work area or the cutting device when it is in motion. Be sure the machine is off when you perform cleaning debris.
Do not handle the machine with the cutting device. The cutting device has sharp edges that can hurt you.
Store the machine well away from children.
Never use the machine if the protections are defective or without all security devices in proper working order. Do not modify the machine controls or the engine speed.
2.2.1.WORKING CLOTHES AND SECURITY EQUIPMENT
Dress adequately. Do not wear loose clothing or jewels. Maintain your hair, clothes, and gloves well away from all moving parts. When using this tool wear the next safety equipment:
– Security glasses or protective mask.
– Ear protection.
– Working gloves.
– Nonslippery boots.
– Long trousers.
The use of additional working and security equipment will reduce the risk of personal injury.
The noise of the machine is uncomfortable. Always use ear protection. If you use this machine very often, visit your doctor regularly to check up on your hearing capacity.
Attention! As you are working with ear protectors, you must pay more attention to visual warnings as you will hear less because of the ear protectors.
You must always carry:
– Tooling
– Signalling tape to limit work area.
– Mobile phone (for use in case of an emergency)
2.2.2. VIBRATIONS
The prolonged use of the machine exposes the client to vibrations that in extreme cases and through many hours of use of the machine could cause the ¨white finger syndrome¨ also known as the Raynaud phenomenon. This causes a reduction in the tact of the fingers and their capacity to regulate temperature generating a lack of sensibility. This sickness could in extreme cases cause problems with the nerve endings.
Exposure to vibrations is the cause of white finger syndrome. To minimize this effect as much as possible, follow the following recommendations:
– Always use gloves
– Always have your hands warm
– Ensure that the cutting device is always sharp.
– Take frequent breaks
– Always hold the machine tightly by the handles
If you detect any of the symptoms of white finger syndrome, consult immediately with your doctor.
2.3. SECURITY IN THE WORKPLACE
Do not work with the machine in areas with an explosive atmosphere or near inflammable liquids, gases, or dust.
Do not start the machine in a closed area. The exhaust fumes and the vapors of petrol all contain carbon monoxide and other dangerous chemical substances.
In case of gas concentration due to insufficient ventilation, eliminate from the work area everything that impedes the correct flow of air and does not work in this area again until it is well ventilated and the gas concentration does not happen again.
The area included in a 15m radius around the machine must be considered a risk zone and nobody should be there while the machine is working, when necessary, a cord and warning signals must be used around the working area Maintain children and passers-by well clear when working with the machine. Distractions can cause a lack of control. When work is to be performed simultaneously by two or more persons, always check for the presence and location of others so as maintain a distance between each person sufficient to ensure safety.
2.4. SECURITY WHEN USING FUEL
IMPORTANT: The fuel used is highly inflammable. If the fuel or the machine catches fire, fight the flames with a dry dust fire extinguisher.
Always avoid eye contact with the fuel and the oil. If petrol or oil were to come into contact with your eyes, clean these immediately with clean water. If your eyes are still irritated, visit the doctor immediately.
Do not refill the machine in a closed area.
The petrol and oil vapors all contain dangerous chemical substances. In case of gas concentration due to insufficient ventilation, eliminate from the work area everything that impedes the correct flow of air and does not work in this area again until it is well ventilated and the gas concentration does not happen again.
Gasoline and oil are extremely flammable and explosive under certain conditions. Do not smoke while preparing or refueling. Do not approach any flame or hot element to the URL. Do not smoke when handling fuel, when refilling or when working.
Do not refill fuel in areas where flames, sparks, or hot sources are. Refill only in ventilated areas with the engine off. Do not overfill the fuel to try to overfill the fuel tank. In case of fuel leakage, eliminate these before starting the machine, do not attempt to start the engine but move the machine away from the area of spillage and avoid creating any source of ignition until petrol vapors have dissipated.
Refill fuel before starting the machine. Do not unscrew the combustible tank cap while the engine is running or the engine is hot.
Make sure the gas cap is properly closed while operating the machine. Be sure to properly close the gas cap after refueling. Store fuel in a bottle or tank homologated and according to current regulations.
2.5. SAFETY IN THE USE OF OILS
IMPORTANT: The oil used for this machine is highly flammable. If the oil or machine ignites, turn off the heat with a dry powder extinguisher.
The oil is dangerous, avoid contact with the oil on the skin and eyes. Do not inhale or ingest it. If you drink oil, go to your doctor quickly. If you come in contact with the oil, clean it with plenty of soap and water as soon as possible. If you later feel irritated eyes or skin, consult a doctor immediately.
The oil is extremely flammable and explosive under certain conditions.
Do not smoke and do not bring flames, sparks, or sources of heat to the machine. Do not smoke while transporting oil, when refilling the tank, or when working.
Make sure the oil cap is properly closed while using the machine. Be sure to properly close the oil cap after refueling.
Always store the oil in approved containers that comply with European regulations.
2.6. USE AND CARE OF THIS MACHINE
This pruner has been designed for tree pruning (branches in height). Use this machine exclusively for this purpose. Do not use the machine to cut trees, chop wood, or cut products other than wood.
Cut only wood. Do not use the machine for other purposes not provided. For example: do not use the machine to cut plastic materials, bricks, or building materials other than wood. The use of the machine for operations other than those planned may cause dangerous situations.
Use this machine, accessories, tools, etc. in accordance with these instructions and in a planned manner taking into account the working conditions and the work to be carried out. The use of this machine for applications other than those intended may cause a dangerous situation.
Check that all security elements are installed and in good condition. Remember that the machine operator is responsible for the dangers and accidents caused to other people
or things. The manufacturer will not be liable for any case for damages caused by improper or incorrect use of this machine. The cutting tool is very sharp. If you do not follow the instructions it can cause severe damage.
Keep your body away from the cutting tool while using the machine.
Do not force this machine. Use this machine for the correct application. Using the correct machine for the type of work to be done will allow you to work better and safer. Keep this machine. Check that the moving parts are not misaligned or locked and that there are no broken parts or other conditions that may affect the operation of this machine.
Whenever this machine is damaged, repair it before use. Many accidents are caused by poorly maintained machines.
Keep cutting instruments sharp and clean. Properly maintained cutting instruments with sharp cutting edges are less likely to lock and easier to control. Follow the instructions regarding greasing, tensioning, and chain-changing accessories. A chain whose tension and greasing are incorrect can break and increase the risk of recoil. Keep the handles of this machine dry and clean. The greasy or oiled handles are sliding and cause a loss of control over the machine.
Turn off the machine, disconnect the spark plug and make sure that the cutting device is stopped before making any adjustments, refueling, changing accessories, cleaning, transporting, or storing this machine. Such preventive safety measures reduce the risk of accidentally starting this machine. If the machine starts to vibrate strangely, turn it off and examine it to find the cause. If you do not detect the reason, take your machine to the technical service.
Vibrations are always an indication of a problem in the machine.
Stop the engine every time you leave the machine.
Reduce the engine speed when the engine is to shut down, if the engine is equipped with a fuel shut-off valve, cut the fuel when the engine has stopped.
2.6.1. IMPROVED REACTION FORCES WHILE WORKING WITH THE MOWER
Always keep your attention while cutting with the mower and be aware of possible unforeseen reaction forces. The unforeseen reaction forces that occur in a mower are rebound and recoil. These forces can unbalance the user and cause dangerous situations.
2.6.1.1. REBOUND
A rebound of the mower may occur if an object is touched with the cutting chain in the area of the tip of the bar while it is running. The contact of the chain at the tip of the bar can cause an unexpected reaction force that can drive the tip of the bar backward generating a movement in the rotary mower that can cause loss of control of the machine and cause severe body damage.
2.6.1.2. FORWARD PULL
A “forward pull” can occur when the chain stops abruptly when it is caught in the cutting area with a foreign body that is in the wood or because it is not cut properly. The chain, when stopped, pushes the mower forward which, if it is not properly secured, produces an unexpected pull that can cause the user to lose control of the mower, cause it to all forward, and cause severe bodily damage. To avoid this “forward pull”, the full gas cutting will begin and will always keep the machine at full speed during the cutting by gripping the machine firmly with both hands.
2.6.1.3. RECOIL
The imprisonment of the saw chain on the top of the sword can quickly push the sword back toward the operator. The chain, when stopped, pushes the mower backward (Recoil) which, if it is not correctly held against the branch produces an unexpected push that can cause the user to lose control of the mower, make it fall back, and cause severe bodily damage.
Any of these reactions can cause you to lose control of the saw which could lead to a serious bodily accident. Do not rely exclusively on the safety devices integrated into your mower. As a mower user, you should take steps to eliminate the risk of accidents or injuries in your cutting work.
These reaction forces result from the misuse of the tool and/or improper operating procedures or conditions and can be avoided by taking the appropriate precautions specified below:
- Hold the saw firmly with both hands with your thumbs and fingers enclosing the grip of the saw and position your body and arms to allow it to resist unexpected forces. Unexpected forces can be controlled by the operator, if proper precautions are taken. Do not release the chainsaw.
- Do not extend your arms too far. This helps prevent involuntary contact with the limb and allows better control of the mower in unforeseen situations.
- Always be aware of where the tip of the chain bar is.
- Pay attention so that the tip of the bar does not touch any object.
- Do not cut branches with the tip of the bar.
- Ensure that there is no nail or piece of metal in the cutting area and pay special attention to nails or pieces of iron that may be around the cutting area. Be careful also when cutting hardwoods where the chain can be caught causing the chain to lock and produce rebound.
- Start cutting at full gas and always keep the machine at full speed during cutting.
- Cut a single branch or piece of wood at a time.
- Be extremely cautious when introducing the mower chain into a cut already started to continue.
- Do not make cuts with the mower until you are familiar with the cutting technique.
- Do not make cuts on branches or pieces of wood that may change position during cutting or that may close the cut while it is being practiced.
- Keep the chain in good condition.
- Work only if the chain is well-sharpened and correctly tensioned.
- Never put yourself in the mower’s cutting plane.
- Use only spades and replacement chains specified by the manufacturer. Spare swords and replacement chains can cause chain breakage and/or recoil.
- Follow the manufacturer’s instructions regarding the sharpening and maintenance of the saw chain. A decrease in the level of the depth gauge can lead to an increase in setbacks.
2.7. SERVICE
Have your machine checked periodically by a qualified repair service using only identical replacement parts. This will ensure that the safety of this machine is maintained.
WARNING SYMBOLS
Warning labels indicate the required information for the use of the machine.
| Danger attention! | |
| Read this manual carefully before starting the machine. | |
![]() | Wear non-slip safety boots. |
![]() | Wear appropriate safety gloves. |
| Wear hearing protection, safety glasses, and a helmet. | |
| Keep people away a minimum distance of 15 meters from the work area. | |
| Keep your feet, hands, and clothing away from the blades. | |
| Dispose of your appliance in an environmentally friendly way. Do not throw it into household garbage containers. | |
![]() | Complies with CE directives. |
| Guaranteed sound power level LwA, dB (A). | |
| Keep a minimum distance of 10 meters from power lines. The danger of death from electric shock. | |
| Attention !: Hot surface. |
MACHINE SYMBOLS
In order to ensure safe operation and maintenance of the machine are the following symbols in the machine.
Fuel tank. Located in the combustible tank cap. Mix 2-stroke oil and gasoline.
Air positions:
| Open = Normal operating position. Located at the top of the filter. | |
| Open = Normal operating position. Located at the top of the filter. | |
| Position for starting the machine in cold. Located on the air filter cover. | |
| Position for starting the machine in cold. Located on the air filter cover. | |
| The positions start switch is located on the right handle of the machine. “O” = Off (The machine doesn´t work) “I”= On (The machine is ready to work) | |
| Never use only fuel or fuel in a bad state. Mix unleaded fuel grade 95 and synthetic oil for 2-stroke engines to 2.5% (40:1). |
START Starter handle
Oil tank chain. Located in the oil tank cap of the chain.
Chain oil flow adjustment.
MACHINE DESCRIPTION
5.1. CONDITIONS OF USAGE
Use this machine only for the uses for which it has been designed. Any other type of use could be dangerous and is at your own risk. The use of this machine for operations other than those planned may cause dangerous situations. Use this machine outdoors, in dry environments and temperatures between 5ºC and 45ºC.
Remember user is the responsible for danger and accidents caused to other people or things. The manufacturer will not be liable for damages caused by an inadequate or incorrect use of the machine.
5.2. DETAILED DESCRIPTION OF THE PRODUCT

| 1. Chain bar 2. Cutting chain 3. Oil tank cap 4. Pole 5. Telescopic adjustment 6. Harness hook 7. Throttle Trigger 8. Security switch | 9. Rear handle 10. Front handle 11. Fuel tank 12. Starter 13. Air filter cover 14. Air choke 15. Primer |
The images and drawings represented in this manual are indicative and may not correspond to the actual product.
5.3. TECHNICAL CHARACTERISTICS
| Brand | Garland |
| Model | Giraffe 312 G-V21 |
| Type of motor | 2 stroke |
| Displacement (cm3) | 26 |
| Idle speed (min-1) | 3000±300 |
| Maximum engine speed (min-1) | 11000 |
| Rated power (kW / min-1) | 0,7/7500 |
| Maximum power (kW / min-1) | 0,7/7500 |
| Maximum torque (Nm (min-1) | 1,02/5500 |
| Clutch engagement speed (min-1) | 4150-4400 |
| Engine fuel | 40:01:00 |
| Specific consumption of the machine at rated engine power (g / h) | 382 |
| Specific consumption of the machine at maximum engine power (g / h) | 382 |
| Specific consumption of the machine at maximum torque (g / h) | 375 |
| Chain lubrication type | Pump |
| Fuel tank capacity (cm3) | 700 |
| Chain Oil Tank Capacity (cm3) | 300 |
| Sprocket teeth | 15 |
| Bar length (“/ cm) | 12”/ 30 cm |
| String pitch (“) | 3/8 lp |
| Chain thickness (“) | 0,050 |
| No. of links | 44 |
| Maximum chain speed (m / s) | 12,4 |
| Post extension length (min-max) | 3000mm-4100mm |
| Vibration level at the front handle (m / s2) (K = 4,4) | 10,9 |
| Vibration level at the rear handle (m / s2) (K = 4,4) | 5,5 |
| Average sound pressure level LpA dB (A) (K = 3) | 93 |
| Average sound power level LwA dB (A) (K = 3) | 104 |
| Guaranteed sound power level LwA dB (A) | 111 |
| Dry weight (kg) | 9,5 |
The technical characteristics can be modified without notice.
START-UP INSTRUCTIONS
6.1. LIST OF MATERIALS
This machine includes the following elements that you will find inside the box:
- Machine.
- Tools.
- Sword protector
- Sword.
- Chain.
- Harness.
- Manual.

Ensure that all elements listed above are included with the machine. Thanks to the quality control checks at the factory it is highly unlikely that any elements will be missing. If you were to find any element missing, do not use the machine until the defect has been repaired or the machine is complete.
Using a machine with defective parts or without all the elements can cause severe personal damage.

6.2. MOUNTING
6.2.1. MOUNTING THE CHAINSAW ON THE TRANSMISSION 
6.3. BAR AND CHAIN INSTALLATION
ATTENTION! Do not forget to always wear safety gloves when handling the chain to avoid accidentally cutting yourself. The mower chain has very sharp teeth.
ATTENTION!: Never touch, adjust or sharpen the chain while the engine is running. Unplug the machine before handling the chain.
Never start the machine before installing the chain, bar, chain cover, and chain cover nut.
Without these pieces, there may be a risk of personal injury.
The chain bar and chain are supplied separately. To install them follow the following steps:
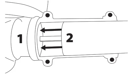
- Unscrew the nut from the chain cover (1).
- Remove the chain cover (2).

- Place the chain on the bar.
Before mounting the guide bar with the chain, check the cutting direction of the teeth. The direction of rotation
is marked on the machine, under the attack pinion (A).
The correct position of the chain will have the cutting edges of the teeth in the direction of rotation of the chain:
- Monte la barra con la cadena instalada insertando el perno de tensado en el orificio de la barra (B) y colocando la cadena alrededor del piñón de ataque.

- Place the chain cover ensuring that the tensioning bolt continues in the hole in the bar.
- Place the cap nut and lightly tighten it with your fingers.
- Tighten the chain, to do this turn the chain tensioning screw clockwise to tighten or counterclockwise to loosen the chain until the chain tension is correct. (More information in point 6.3.1).

- Tighten the cap nut tightly with the supplied wrench.
- Verify that the chain slides along the bar while maintaining adequate tension when you move it by hand. If necessary repeat the tensioning procedure until the chain is correctly installed.
New chains have a certain expansion when they start to be used. Check and regulate chain tension regularly. An incorrectly tensioned chain will wear quickly and wear the chain bar guide.
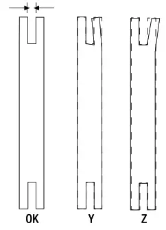
6.3.1. CHAIN TENSIONING
- Make sure the chain is inside the guide groove of the bar.
- Loosen the nut of the chain cover.
- Turn the chain tensioning screw (1) clockwise to tighten or counterclockwise to loosen the chain until the chain tension is correct.

a. Example (A) corresponds to a strained chain.
b. Example (B) corresponds to a chain that is too loose.
- Tighten the chain cap nut.
NOTES: The chain expands with heat. When the chain is cold the tension will be greater than hot.
If the chain is tensioned when it is cold, you should check the tension after some cuts (the chain will have reached its working temperature) since it will expand and loosen when it is heated, and there is a danger that it will leave the guide. Re-tension the chain if necessary.
If the chain is re-tensioned when it is hot, the tension should be checked when it cools and slightly loosen if necessary since the contraction that occurs when the chain cools could cause excessive chain tension and damage it.
New chains require a rolling period during which their links are adjusted by slightly modifying the distance of the chain, this shooting period is a couple of minutes of cutting. If you work with a new chain, remember to check the tension of the chain after these first minutes.
6.3.2. CHAIN OIL
Use only special oil for chainsaw chains. Do not use any oil other than chainsaw chains as it may damage the machine’s oil pump.
Chain oil must be introduced into the chain oil reservoir. The oil tank cap is indicated in chapter 3. “Symbols on the machine”.
To prevent dirt from entering the interior of the tank, clean the oil tank cap before opening it. Close the oil level cap by tightening it and cleaning it if the oil has spilled out of the tank.
Check the contents of the oil tank by looking at the oil-level window.
Note: The service life of chainsaw chains and guide bars depends largely on the quality of the lubricant used. Do not use used oil!
6.4. FUEL
IMPORTANT: The fuel used is highly inflammable. If the fuel or the machine catches fire, fight the flames with a dry dust fire extinguisher.
Do not smoke while preparing or refueling. Do not approach any flame or hot element to the fuel.
Use unleaded fuel of 95° and synthetic oil for 2-stroke engines.
Motor Fuel: Mixture (Gasoline 40: Oil 1) 2.5%.
Mix gasoline and oil in a bottle homologated for this use. If you will mix more combustible just prepare the amount you will use in the short term. Do not use fuel that has been stored for over two months. The fuel stored for long periods loses its characteristics making it harder to start the engine and giving a poorer performance.
FILLING THE FUEL TANK
- Choose an open area to perform this situation
- Stay away from the area where you have made the preparation of the mixture.
- Remove the combustible tank cap and fill it with fuel.
- Close tightly the fuel cap and remove all traces of fuel that have been spilled with a rag.
WARNINGS:
- Always switch off the engine before refueling.
- Do not start the machine in a closed area. The exhaust fumes and the vapors of petrol all contain carbon monoxide and other dangerous chemical substances. In case of gas concentration due to insufficient ventilation, eliminate from the work area everything that impedes the correct flow of air and does not work in this area again until it is well-ventilated and the gas concentration does not happen again.
- Do not refill fuel in areas where flames, sparks, or hot sources are. Refill only in ventilated areas with the engine off. Do not overfill the fuel to try to overfill the fuel tank. In case of fuel leakage, eliminate these before starting the machine, do not attempt to start the engine but move the machine away from the area of spillage and avoid creating any source of ignition until petrol vapors have dissipated.
- Stay away at least 3 meters from the zone where you have refueled before starting the machine.
- Refill fuel before starting the machine. Do not unscrew the combustible tank cap while the engine is running or the engine is hot.
- Do not use fuel with ethanol or methanol because will damage the engine.
6.5. START UP
6.5.1. CHECK POINTS BEFORE STARTING
Do not use this machine if it becomes damaged or wrongly regulated.
Use this machine for the purpose for which it was designed. Any other use may be dangerous for the user of the machine and for people, animals, and things you may have around.
Verify that :
- The machine completely and look for loose parts (screws, nuts, etc.) and damages.
- The protector is properly attached to the machine.
- There are not fuel leaks.
- Verify that the disk or head is not damaged.
- Check the air filter is clean. Clean the filter if necessary.
Press, repair, or replace everything you need before using the machine.
Do not use attachments on this machine out of our recommendations because their use may cause serious injury to the user, the machine, and the people, animals, and things close to the machine.
Before starting the machine, remove the guard protecting the cutting unit. Before starting the machine make sure that all moving parts of the machine are not in contact with any object.
Place the machine on a flat, stable surface to start it.
6.5.2. START UP IN COLD
- Move the air lever (E) to the cold start position
N - Set switch (A) to position “I” (start).
- Squeeze the primer (F) several times (7-10 times) until the fuel reaches the carburetor.
- Pull the starter rope until you hear an engine explosion or the engine starts.
- Move the air lever (E) to the position (normal working position).
- If the engine only made an explosion and did not start, pull the starter rope again until the engine starts.
Let the engine warm up for a minute before starting work with the machine.

STARTING THE MACHINE FROM HOT
- Move the switch (A) to the “I” position.
- Move the lever (E) to the
position. - Pull the start rope until the machine starts.
If the machine does not start after pulling at the rope a few times, please refer to the cold start up section.
ENGINE STOPPAGE
- Let go of the accelerator (C) and let the engine run at idle speed for a few seconds.
- Stop the engine by displacing the switch from the (A) position to the ¨O¨ position (stoppage).
POINTS TO BE VERIFIED AFTER MACHINE STARTS
It is neccesary to pay attention to posible loosening or overheating of parts of the machine. If you detect any anomalies stop inmediatly the machine and check it carefully. In case of failure take the machine to the repair service. In any case you should continue working if you feel that the performance is not correct.
Do not use the machine if it is damaged or incorrectly regulated.
CHECKING THE CLUTCH
After starting up and the engine is hot, the cutting tool must not be moved if the engine is idle. If the cutting tool turns with the engine running and without accelerating, it will be necessary to regulate the idling regime of the engine. To do this, turn the carburetor nut “T” until the engine stops.
If you are unable to regulate the idling regime to stop the cutting tool, because the engine stalls, please contact the customer service for help.
The regulation of the screws (H) and (L) must only be carried out by an official technical servicer.
CHAIN AUTOMATIC LUBRICATION CHECK
After starting the engine, accelerate the machine until the chain rotates at a medium speed and check if the machine greases the chain, for this it will be worth observing that when placing the machine as in the figure at medium speed oil is fired.

Be sure to refill the chain oil tank every time you refuel.
MACHINE USAGE
Only use this machine for those jobs for which it has been designed. The use of this machine for other uses is dangerous and could cause damages to the user and/or the machine.
Do not start the machine in a closed area.
The exhaust fumes, the vapours of the petrol and oil, all contain carbon monoxide and other dangerous chemical substances. In case of gas concentration due to insufficient ventilation, eliminate from the work area everything that impedes the correct flow of air and do not work in this area again until it is well ventilated and the gas concentration does not happen again.
Mow only at daylight or in good artificial light. Do not use this machine at night, with fog and with reduced visibility. Always make sure that you can clearly see all the working area.
Avoid operating the equipment in wet grass, where feasible. Take special care when using this machine in the rain or after rain because the ground is slippery and you can slip.
If you slip or fall stop accelerating and move the switch to “O” (Off).
Do not bring any cutting elements near when the machine is in use and the engine running.
Do not rely solely on the warning signs on the machine. Be always alert.
It is neccesary to pay attention to posible loosening or overheating of parts of the machine. If you detect any anomalies stop inmediatly the machine and check it carefully. In case of failure take the machine to the repair service. In any case you should continue working if you feel that the performance is not correct.
Remember to always use the machine with clean hands and without petrol and oil.
Clean the work area and eliminate any obstacles that could cause accidents. Check the working area and remove any objects that could cause the cutting tool of the machine to get tangled on. Also remove any parts that the cutting tool could violently hit causing these to move in the direction of the user or other people and/or animals.
Do not allow any other person into the work area.
All other people must be at least at a distance of 15 metres as it is a dangerous area.
Never leave this machine unattended.
It is imperative that the engine is turned off when carrying the machine from one working area to another.
Never touch elements that can be hot during the start up or operating the machine, for example, the escape,sparks or high voltage cables.
Do not use accessories except those recommended by our company as otherwise the use of other non original accessories could cause severe damages to the end user, to passers-by and to the machine.
Always follow the safety rules stated in this manual.
HOLDING OF THE MACHINE AND GUIDANCE
Put on the fastening tape as shown in the figure and hook it to the machine by the ring.

Hold the machine in the harness, your hands on the handlebar with your right hand positioned so that you can act on the controls (throttle and safety switch).
Attention !: In order to reduce the risk of loss of control and possible damage (even fatal) to the user or to nearby persons, never use this machine with one hand.
CUT WITH THE PRUNER
Always keep the body on the left side of the pole.
Keep the pole at a maximum angle of 60 ° from the ground and maintain an appropriate safety distance
from the branch you are cutting.

Keep a safe distance from the branch to be cut. Think about where the branch you are cutting will fall and make sure it is not located in that area. The safety distance must be at least twice the length of the branch to be cut.
CHAIN SHARPENING
The chainsaw chain is dull as cuts are made. If you observe any of the following symptoms it is time to sharpen the chain:
- More effort is needed to make the cut.
- The cutting path is not straight.
- Increase vibrations.
- When cutting, sawdust is produced instead of chips.
To sharpen the chain follow the instructions in section
“Sharpening the chain cutting teeth”.
CUT WITH THE PRUNER
We recommend that you train with small branches in an easy position to gain experience before undertaking more complicated cuts.
Always follow the safety rules indicated in this manual.
Use this machine exclusively for cutting wood. It is forbidden to cut any other type of material.
Do not use this machine to move objects.
While cutting, use the machine gently. Only lightly press down while keeping the machine at full power.
The machine’s own weight will be sufficient to make the cut. If the chain is locked, do not attempt to pull the machine while it is running. Stop the mower and use a wedge to release the mower.
CUTTING A BRANCH OF A TREE
To cut a branch of a tree that does not touch the ground always start with a cut of ¼ of the diameter of the branch from below (1) and then cut the rest from above (2).
In this way you will facilitate the opening of the cut and that the branch is broken by damaging the tree.
Cut the long branches into several pieces starting from the outside of the branch (part furthest from the center of the tree).
If you have to cut different branches of a tree, first cut the low branches so that they leave room to access the high branches.
Recommendation: It is convenient not to make the last cut with the weight of the branch. It is recommended to cut the branch and leave for the final one last cut “end cut” (3). Between the last “normal” cut and the “end cut” there must be a distance of 5-10 cm. The end cutting will be done from top to bottom slowly to prevent the wood from cracking.
MAINTENANCE AND SERVICE
Make periodic inspections of the machine to ensure that the machine is correct. For a thorough inspection take the machine to your dealer.
It is necessary to stop the engine and to check that the cutting tool is stopped before cleaning or transporting the machine.
Before performing any maintenance or repair the machine make sure the engine is off and remove the spark plug cap. Perform all maintenance of the machine when is set on a flat and clear surface.
Never try adjustments in the machine if it is running and/or attache to the user by the harness. Perform all maintenance of the machine when is set on a flat and clear surface.
Warning! Do not modify the machine or change the cutting elements. An inadequate use of these elements can cause serious personal damages and can even be fatal.
Use only suitable spares to get a proper performance for this machine. This replacement can be found on the official distributor of the machine. Using other sparks may causes risks, damage to the user or people around the machine.
Carburetor adjustment is complicated and should be done only by the service. Carburetor regulation is complicated and should only be carried out by a service agent. An incorrect regulation of the carburetor can cause damages to the engine and is sufficient motive to cancel the warranty.
The removal of security devices, an improper maintenance, the substitution of elements with non original elements can cause corporal damages.
CARE AND MAINTENANCE AFTER USE
Carry out the following operations when you have finished the work to ensure that the machine is kept in a perfect condition.
GENERAL MAINTENANCE
Keep clean the machine, especially the fuel tank area and areas near the air filter.
Maintain your machine clean and in good conditions.
Clean the covers with a humid towel. Never use petrol or other flammable products to clean the machine.
CHAIN OIL OUTPUT
Remove the rod and verify that the lubrication hole (1) is not clogged.

SHARPENING OF CHAIN CUTTING TEETH
ATTENTION !: An incorrectly sharp chain increases the risk of rebound of the mower, vibrations increasing the risk of accident!
So that the mower cuts correctly and safely, keep the cutting teeth sharp. In addition the cutting teeth should be sharpened if:
- You have to make more effort than usual to cut.
- The cutting path is not straight.
- The vibrations increase.
- When cutting sawdust is produced instead of wood chips.
Do not forget to always wear safety gloves when sharpening the chain.
Make sure the mower chain is securely fixed when sharpening the chain.
Make sure the engine is off when sharpening the chain.
Use a special chainsaw file suitable for your chainsaw chain.
Place the file on the edge of the cutting tooth between points (A) and (B) and push forward always keeping an angle of 30º. Sharpen all the teeth of a face always sharpening with outward movements and maintaining the 30o angle. When finished, change sides and perform the same operation.
Check the safety height (C), this height must be approximately 0.6 mm. A height (C) that is too high will cause the chain to bite too much demanding a lot of effort from the engine and a small height will not allow the chain to cut.

Check the length of the cutting teeth. All teeth must maintain the same length. If necessary, file the lengths of the teeth until all of them are identical.
PERIODIC MAINTENANCE
Perform periodic inspections on the machine to ensure efficient operation of the machine.
For complete maintenance we recommend that you take the machine to your technical service.
Always use proper replacement in order to obtain adequate product performance and avoid damage and risks to the machine and the user. Spare parts must be purchased at the distributor’s technical service.
The use of unofficial spare parts
It can cause risks of accident, personal injury to the user and breakage of the machine.
Perform the following maintenance at the frequency indicated in the following table:
| Operation | Each 2 petrol deposits | Each 10 petrol deposits | Once a year |
| Air filter | • | ||
| Petrol filter | • | ||
| Spark plug | • | ||
| Cylinder fins | • | ||
| To grease the Gearbox | • |
AIR FILTER
The dirt in air filter will cause a reduction in machine performance.
Check and clean this element. If you notice damage or alterations replace it with a new filter.
To clean the filter:
- Remove the protecting cover.
- Remove the filter.
- The dust accumulated on the outside of the filter can be removed using your hands or against a hard object.
- Clean the filter with soapy water.
- Rinse the filter with abundant water.
- Allow the filter to dry.
- Once dry, place two drops of oil (do not put too much oil as otherwise the machine will not start).
- Reinstall the air filter.
- Replace the protecting cover.
Note: The engine should never started without the air filter being in place.
FUEL FILTER
The fuel tank is equipped with a filter. It is at the end of the suction pipe and can be removed with the help of a hook of wire.
Check the fuel filter regularly. Do not allow dirty in the fuel tank to prevent the filter is dirty. A dirty filter will make it more difficult to start the engine and cause malfunctions or stop it.
Check fuel. If you see dirty replace.
If the inside of the fuel tank is dirty you can clean it with gasoline.
CHECK THE SPARK
The most common problems when starting a machine are produced by a dirty spark plug or bad. Clean spark plug and check it regularly. Check the electrode gap is correct (0,6 – 0,7 mm).

CLEANING THE CYLINDER FINS
The fins of the cylinder are in charge of refrigerating the engine thanks to these being in contact with the air. These fins should always be clean and without any material that prevents the air flow. If the fins are not clean and blocked with dirt, the engine will overheat and could even break. Check these fins on a regular basis.

MOTOR VENTILATION DUCTS
Remove dirt from the ventilation ducts, so as not to damage the engine and avoid a possible fire.
MAINTAINING THE CHAIN BAR
Reverse the mower bar every time you spend 10 fuel tanks to prevent wear on only one side. The bar guide should always keep his profile. Verify that it keeps the thickness constant throughout the bar. Replace the bar if necessary.

Check that there are no cracks and the level of bearing clearance. If you notice that the clearance is important, any damage or fissure replace it.
When you disassemble the bar, take the opportunity to remove the remains of wood and sawdust in the area of the lubrication hole (1) and the guide (2).

DROP PINION
The drive pinion is subject to high wear. Check the drive pinion and if it detects signs of deep wear or loss of material in any tooth, send your machine to the technical service for replacement.
TROUBLESHOOTING
Depending on the symptoms that you might observe, you can detect the probable cause and solve the problem:
If the machine does not start, check the engine compression and the spark from the spark plug.
Depending on the symptoms, we attach a table with probable causes and solutions:
| Cylinder compression normal | Spark plug works | Probable cause | Corrective action |
| Yes | Yes | No petrol in deposit | Put petrol in deposit |
| Petrol filter is dirty | Clean the filter | ||
| There is water in the petrol mix | Replace the petrol | ||
| Petrol used is not adequate | Change the petrol used | ||
| The carburetor is dirty | Take the machine to your nearest official service agent | ||
| Yes | No | Switch is in the Off position | Place the switch on the On or “I” position |
| Spark plug is dirty | Limpie la bujia | ||
| The connecting pipe to the spark plug is not well connected | Connect the pipe correctly | ||
| Not enough compression | Yes | Spark plug is loose | Tighten |
| Piston and segments are worn out | Take your machine to your nearest official service agent | ||
| Cylinder deteriorated | Take your machine to your nearest official service agent. | ||
| Engine does not turn | Engine burnt out | Take your machine to your nearest service agent |
If the engine does not work correctly (lacks power, no load speed not stable etc), we attach a series of symptoms, the probable cause, and its solution:
| Symptom | Probable cause | Corrective action |
| Machine vibrates | Worn out segments | Take the machine to official service agent |
| Worn out piston | Take the machine to official service agent | |
| Crankshaft looseness | Take the machine to official service agent | |
| Clutch looseness | Take the machine to official service agent | |
| The engine heats up | Too much-uninterrupted use | Pause every 10 minutes and allow the engine too cool |
| Exhaust dirty | Take the machine to official service agent | |
| Petrol is not adequate | Substitute the petrol | |
| The engine does not run smooth | Dirty carburetor | Take the machine to official service agent |
| Air filter dirty | Clean the filter | |
| Petrol filter dirty | Clean the filter | |
| The engine stops or does not hold the no load speed | Carburetor not well regulated | Take the machine to official service agent |
Should you not be able to solve the problem, please take the machine to an official service agent.
To find out your nearest official after sales service agent please contact the shop where you bought the machine from.
TRANSPORT
Never pick up or carry the machine while the engine is running. It is always neccesary too to turn off the motor before transporting the machine between work locations.
Wait 5 minutes before switching off the motor to transport the machine.
Always carry the machine with the motor off, with the machine hanging from the harness and use the blade guard installed keeping the machine always high so it does not touch the ground.
If you are going to transport the machine in a vehicle, make sure you secure the machine safely to avoid the machine from sliding or falling over from side to side.
STORING
Wait 5 minutes after the turned off for it to cool before storing or transporting the machine. The exhaust pipe of the machine will remain hot after the motor shutdown. Do not ever store the machine closer to flammable material (dry grass, wood…) gas, or fuel.
Store this machine out of the reach of children’s, where nobody is at risk, in a safe, clean, dry place where temperature is between 0ªC and 45ºC.
Before storing the machine follow the points on storing included in the maintenance chapter.
Always set the blade guard.
If you are going to store the machine in a closed place drain the fuel of the deposit because the steam could contact with a flame or a hot element and swollen. If the fuel tank has to be drained this should be done outdoors and following the recycling normative.
To reduce fire hazard, keep the engine, silencer, and petrol tank area free of cutted material and grease.
RECYCLING OR DISPOSAL OF YOUR MACHINE
Protect the Environment. Recycle used oil by this machine and take it to a recycling or follow local recommendations. Do not empty into drains, soil, rivers, lakes or seas.
Dispose of your machine in an ecological manner. We should not get rid of the machine with our domestic rubbish. Its plastic and metal components can be reclassified and can be recycled.
Packing materials used for this machine are recyclable. Please do not dispose of these with your domestic litter. Dispose of these materials in sites officially placed for collection of these residues.
WARRANTY CONDITIONS
WARRANTY PERIOD
- According to the following described terms
(1999/44 CE) the warranty period is 2 years from the purchase date, and it will cover faulty pieces owing to an incorrect manufacture.
EXCLUSIONS
Garland warranty will not cover:
- Pieces worn out due to wear and tear.
- Bad use, negligence, lack of maintenance.
- Failures that turn out because of an incorrect use of the product, Garland will not be responsible if the replaced parts of the machine are not from
Garland and if the machine has been modified in any way.
TERRITORY
- Garland warranty covers the country.
IN CASE OF INCIDENCE
- The warranty should be correctly filled in with all the information requested, and the invoice or the purchase ticket should be attached.
WARNING!
TO GUARANTEE THE CORRECT FUNCTIONING OF THE MACHINE AND MAXIMUM SECURITY, WE ASK YOU TO READ THE INSTRUCTION MANUAL FULLY AND CAREFULLY PRIOR TO USING THE MACHINE.
DECLARACIÓN DE CONFORMIDAD CE
Who has signed below, Carlos Carballal, authorised by Productos McLand S.L., with the following address C/La Fragua 22, 28933, Móstoles, España, declares that the brand of the product Garland models Giraffe 312G-V21 with serial number of year 2021 on (the year of manufacture is clearly indicated on the tool identification plate, followed the serial number) and whose function is “A power-driven tool designed to cut wood with a saw chain and consisting of an integrated compact unit of handles, power source, and cutting attachment, designed to be supported with two hands.”, comply with all the requirements stated by the Directive 2006/42/EC of the European Parliament and of the Council of 17 May 2006 on machinery, and amending Directive 95/16/EC.
Power (kW)= 0,7
Measured sound power level dB(A) = 104
Guaranteed sound power level dB(A) [K= 3] = 111

Carlos Carballal
Product manager
Móstoles 7/6/2021
NOTES
___________________
WARRANTY REGISTRATION CARD
| TYPE OF MACHINE | MODEL |
| CUSTOMER NAME | DATE OF PURCHASE |
| ADDRESS | COUNTRY |
| DEALER | |
| PRICE PAID | Is this your first toll of this type? |
SEE YOUR SERVICE MANUAL FOR FULL WARRANTY DETAILS
MODEL
C/L Fragua, 22 P.I Los Rosales
28932 MOSTOLES (Madrid) ESPANA




Before mounting the guide bar with the chain, check the cutting direction of the teeth. The direction of rotation
The correct position of the chain will have the cutting edges of the teeth in the direction of rotation of the chain:






















