
Quick Start Guide
Overview


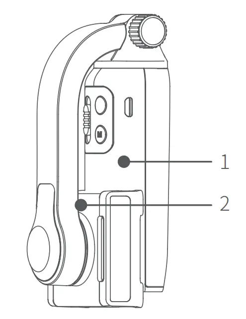
| 1. Handle (Built-in battery) | 6. Micro-USB port |
| 2. Position lock | 7. 1/4 inch thread hole |
| 3. Smartphone holder | 8. Tripod |
| 4. Vertical arm | 9. Shutter button (Indicator) |
| 5. Extendable bar | 10. Focus button |
| (Extendable range 0~183mm) | 11. Mode button |
* The gimbal does NOT include a smartphone.
Download the Feiyu ON App
![]() | ![]() https://cdn1.feiyu-ech.com/dl/app/Feiyu_On.apk |
Tutorial
The tutorial videos can be watched at FeiyuTech official website or scan the QR code.
https://www.feiyu-tech.com/play/
TIPS
- Unlock position lock before powering on the gimbal.
- Please fully charge the gimbal before power on for the first time.
- Install smartphone in landscape mode.
- If the power is too low, the indicator will flash red for three times every five seconds.It is recommended to charge it immediately.
- When not in use for a long time, please turn off the gimbal.
Unfold and fold

Unlock and Lock
There is a position lock behind the smartphone holder, rotate it with a little strength to unlock it. Rotate it in the reverse direction to lock.

Charging
When charging with a Micro-USB cable, the indicator keeps solid red. When fully charged, the indicator keeps solid green.

Smartphone Installation
It is recommended to remove the smartphone case before installation. Keep the logo of the smartphone holder upward. Keep the smartphone holder in the center. If the smartphone tilts after being installed the smartphone, please slide the smartphone to the left or right to balance.

Extend and Reset the Handle
- Hold the handle with one hand, hold the upper grip with another hand.
- Extending: Pull the extendable bar out to a suitable length (Extendable range 0~183mm). Reset: Push upper grip to make the extendable bar down to handle part.

Bluetooth Connection
Turn on the gimbal.
Method one: Download and install Feiyu ON App, run the App, follow the prompts to turn on and connect with the Bluetooth.
Method two: Turn on the smartphone Bluetooth, Connect the gimbal Bluetooth in the setting of the phone, e.g. FY_VB01_xx. (If the Bluetooth can’t be found, please turn off Feiyu ON App in the background.)
Common Operation

- Shutter Button
Single tap: Take photo/video
Long press: Switch between video/photo mode
Double-tap: Switch the front and rear camera
Indicator:Power on Greenlight changes to blue Power off Red light turn off Normal working status Constant blue light Red light flashes three times Low power Red light keeps flashing Low power and then power off Greenlight flashes twice Bluetooth connected Constant green light Fully charged Constant red light Charging (other status are not indicated) - Mode Button
TIP: Unlock the position lock before powering on the gimbal.
Single tap: Enter/quit role follow mode Long press: Power On/Off Double-tap: Switch between landscape and portrait mode Five taps: Initialize the gimbal
Roll Follow Mode
The single tap function button then the smartphone moves according to the movements of the handle. Tap again to quit.

Power On/Off
Long time press the function button and release it when you hear the tone.
Landscape & Portrait Mode Switching
Double click the function button or manually rotate the smartphone holder (according to the picture below) to switch between landscape and portrait mode.

Kindly Reminder:
Do not make the anti-clockwise rotation in landscape mode, Do not make the clockwise rotation in portrait mode.
Focus Button
Slide up and down to adjust focus. Slide up (T direction): Zoom in Slide down(W direction): Zoom out

Tripod
The tripod is connected to the bottom of the main unit in a rotating manner. According to the needs of shooting and storage, choose whether to install it.

Specifications
Roll Range: 323°
Theoretical Battery Life: 6h(For different smartphone you installed, it’s slightly different)
Net gimbal Weight: 186g (Not including tripod)
Payload: 250g (Well-balanced)
Adapter Smartphones: iPhone and Android phones (The width of the phone is between 41~89mm)
Disclaimer
Thanks for using Feiyu Gimbal. The information in this document affects your safety and your legal rights and responsibilities. Read the entire document carefully to ensure proper configuration before use, Failure to read and follow instructions and warnings in this document may result in serious injury to yourself or others, or damage to your products or damage to other objects in the vicinity.
By using this product, you hereby signify that you have read this disclaimer and warning carefully and that you understand and agree to abide by the terms and conditions herein. You agree that you are solely responsible for your own conduct while using this product, and for any consequences thereof. You agree to use this product only for purposes that are proper and in accordance with all applicable laws, rules, and regulations and all terms, precautions, practices, policies and guidelines FeiyuTech has made and may make available. FeiyuTech accepts no liability for damage, injury or any legal responsibility incurred directly or indirectly from the use of the product.
FeiyuTech will not provide any service for any product obtained from abnormal channels.
Notice
- Make sure motor spinning is not blocked by external force when gimbal is power on.
- DO NOT contact the gimbal with water or other liquid if the gimbal is not marked waterproof or splash-proof. Waterproof and splash-proof product DO NOT contact seawater or other corrosive liquid.
- DO NOT disassemble the gimbal except marked detachable. It need send to FeiyuTech after-sales or authorized service center to fix it if you accidentally disassemble it and cause abnormal work. The relevant costs are borne by user.
- Prolonged continuous operation may cause the motor surface temperature to rise, please operate carefully.
- DO NOT drop or strike the gimbal. If the battery is abnormal contact Feiyu After-sales support.
Storage and Maintenance
- Keep the gimbal out of the reach of children and pets.
- DO NOT leave the gimbal near heat sources such as a furnace or heater. DO NOT leave the gimbal inside of a vehicle on hot days.
- Please storage the gimbal in dry environment.
- DO NOT overcharge or overuse the battery, otherwise it will cause damage to the battery core.
- Never use the gimbal when the temperature is too high or too low.
List: Gimbal x1 Micro-USB cable x1 Manual x1

Guilin Feiyu Technology Incorporated Company
For more information, please visit our official website www.feiyu-tech.com
E-mail: [email protected]
Tel: +86 773 2320865
Due to software and hardware improvements, your actual product might differ from the descriptions and pictures in this user manual. You can get the latest user manual from the official website.























