EnviroLite ST8L117DMD40 870W Equivalent Integrated LED

MODEL ST8L117DMD40
INSTALLATION INSTRUCTIONS
Please read carefully and save these instructions. Failure to do so may lead to electrical shock or fire, which may cause injury or death.
CAUTION
WARNING RISK OF FIRE: Turn off the main power at the circuit breaker before installing the fixture, changing lamps, or performing other maintenance in order to prevent possible shock
GENERAL
All electrical connections must be in accordance with local, and national electrical codes.
Prior to installation remove all protective plastic film covering from the fixture.
Tools needed for installation: Phillips screwdriver, pliers.
ASSEMBLY AND INSTALLATION
- Center the fixture on the outlet box. Mark the location of the keyhole slots of the fixture onto the ceiling. Remove the fixture from the ceiling.
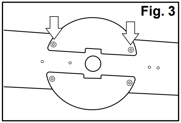
Note: If the fixture does not sufficiently cover the outlet box, screw in the semi-circular junction box covers on the back of the fixture. (Fig. 3)
- Align the ceiling anchors to the keyhole slot markings on the ceiling and screw a mounting screw into the center opening. Then repeat with the second ceiling anchor 88.5 inches away. (Fig.1)

- Place the fixture over the outlet box and slide the fixture so that the ceiling anchor snaps into the narrow ends of the keyhole slots and is secured flush against the ceiling. (Fig. 2)

- Pull the power supply wires out from the outlet box. Connect the black supply wire to the black fixture wire using a wire nut. Connect the white supply wire to the white fixture wire using a wire nut. Connect the fixture ground wire and the supply ground wire together using a wire nut. Wrap all wire connections with electrical tape for a more secure connection. (Fig. 4)

DIMMING
- Pull wires from light fixture hole, the dimming wires will be wrapped around the power supply wires. (Fig. 6) Connect the purple and pink/grey fixture wires to corresponding wires of the wall dimmer. (Fig. 5)


For up-to-date list of compatible dimmers, look up the item number at www.envirolite-LED.com.






















