NVS-30050001MP/NVS-30060001MP
/NVS-30070001MP
Wireless Microphone Set
User Manual
Thank you for using our public address system. Please read this User Manual carefully to make better use of this equipment

Attention
This equipment is not waterproof. To prevent fire or electric shock, please do not place any liquid filled containers (such as vases or flowerpots) near the equipment or expose the equipment to dripping, splashes, rain, or moisture.
Please hold the plug when moving the power cord. Do not pull the power cord when pulling out the power plug. Do not touch the power cord when your hands the device, please be sure to place it on a horizontal and stable surface.
Please keep this User Manual in good custody for future use.
To assure the finest performance, please use or operate the product in accordance with corresponding instructions.

Ambient Factors
This NVS product adopts radio frequency transmission and is susceptible to outside wireless signals interference. Our all products are qualified products which passed strict testing. If instantaneous frequency-loss occurred in the installation and application, in most cases, the system frequency of the product is affected by the interference of the external ambience. If it happens, please carefully check the interference of external and internal installation ambient factors listed below and make appropriate settings and adjustment on ambient and system.
- Whether there is television tower, large cell phone launch base station or other strong jamming signals around the site.
- Whether there is a mobile phone signal amplifier installed in the site.
- Whether high frequency wireless intercom system is used in the site, and other brands of wireless microphone systems is installed.
- Whether there are other metal objects that may block or attenuate wireless signals around the system.
- Whether the receiver antenna is too close to the computer, the computer or other radio frequency interference machine.
- Whether there is an obvious obstacle between the receiver and the transmitter.
- Whether the surrounding environment is too humid.
CAUTION
When you encounter the above situations, please adjust the system reception signal by mproving the internal ambient and adjusting the host frequency receiving or call local uthorized agents for technical support.
Product Specifications
1.1 System Parameters
| Model | NVS-30050001MP/ NVS-30060001MP/ NVS-30070001MP |
| Working frequency | 640-690MHz |
| Modulation Broadband | FM |
| Number of channels | 200 |
| Channel interval | 250KHz |
| Frequency stability | Within ±0.005% |
| Dynamic range | 100dB |
| Frequency response | 50Hz–19KHz (±3dB) (The frequency of the entire system depends on the microphone unit) |
| Comprehensive SNR | >105dB |
| Composite distortion | 0.5% 01000Hz |
| Working distance | 1.About 200 meters. 2.If the use space or the electromagnetic field environment is complicated, the working distance will be shortened. (The working distance depends on many variables, including absorption, reflection, and interference of RF signals.) |
| Working temperature | -10°C–4-50% |
| Package size (mm) | 590x320x115 |
| Gross weight | 5kg |
1.2 Receiver Index
| Receiver mode | Double conversion superheterodyne |
| Mid-range frequency | 110MHz, 10.7MHz |
| Antenna access | BNC/500 |
| Sensitivity | 12d13[tV (80dB S/N) |
| Spurious suppression | 75dB |
| Audio output level: balanced output | +10 dB (XLR) |
| Audio output level: unbalanced output | +4 dB(1/4″, 6.3mm Jack socket) |
| Power supply mode | DC12V”13.5V / 500mA-2000mA input |
| Spurious suppression | >75dB |
| Audio output | 200mV |
| Output impedance | XLR: 2000 %” : ‘KO |
| Distortion | <0.1% |
| Function display | LCD |
| Machine size | 484x210x44mm |
| Net weight | 1.95kg |
1.3 Transmitter Index
| Microphone | Dynamic Microphone |
| Antenna | Handheld microphone with a spiral antenna, wearable transmitter with % wavelength whip antenna |
| Output power | High power 20mW, Low power 7mW |
| Transition power | 10mV |
| Spurious suppression | >50dB |
| Power supply | 2 AA 1.5V alkaline batteries |
| Battery service life | 9 hours at 20mW, 13 hours at 7mW |
| Function display | LCD |
| Net weight | 0.45kg |
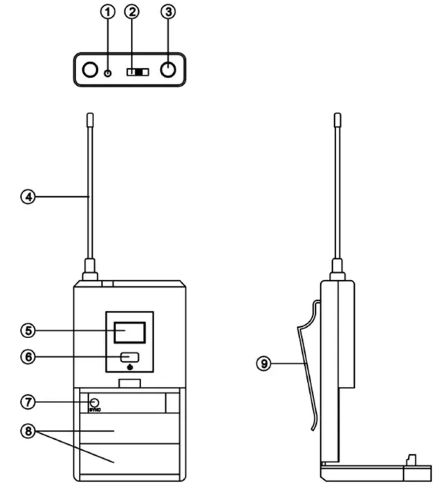
Receiver Functions

- LCD display (Display frequency, channel, squelch, and electrical level, etc.)
- Volume control
- Infrared frequency pairing point (Coordinate with the “SYNC” button to transfer the channel parameters to the transmitter)
- UP (▲)
- DOWN (▼)
- SYNC Press the “▲”“▼” and you can change or select frequency and Press “SYNC” to confirm.
- Power switch (When the power switch opens, the LCD is on. Press the power for 3 seconds and the receiver power will be off)
- AF output (Mix two signals together to output)
- DC power socket (12-18V DC power input stocket. The center electrode of the socket is connected to the positive voltage)
- AF output (XLR interface, signal of two channels are output respectively)
- 10 radio frequency display: displays the received radio frequency state
- 10 audio level display: Display audio signal state
- Frequency menu display Display current working frequency
Receiver Instructions
- Power output connection
Connect the port of AC/DC to the DC input socket of the receiver’s rear panel, connect the other port to AC output socket. - Audio output connection
Connect one port of AF output line to the AF output port of the panel at the back of the receiver; Connect the other port to the input jack of the mixer or amplifier; with balanced XLR output and unbalanced 6.3 mm output. Please choose correctly according to the situations. - Turn off the transmitter before turning on the receiver, and turn the receiver volume down to the minimum.
- Observe radio frequency (RF) and audio frequency (AF) signals in level display, if the interference is greater, the channel should be switched to avoid interference points, can also increase the squelch level to enhance the anti-interference ability.
- Then turn on the transmitter power, and after pairing the channel well, the level meter should display the radio frequency (RF) signal, adjust the receiver volume to the appropriate level and speak to microphone, then the audio (AF) signal of the receiver level would change according to the volume under normal condition. If there is no sound output and no change in the level meter, it indicate that the system is not working properly and must be repaired
- Please unplug the receiver and remove the battery from the transmitter to avoid damage if it isn’t used for a long time.
- Use the most advanced Auto Scan feature to automatically search and fast lock undisturbed working channels. This automatically selects the clean frequency point in the environment, thus avoiding the entry of interference signal and realizing fast and accurate automatic locking of the launch and reception channel.
- Automatic selection setting and frequency matching operation method.
1. Press“▲”“▼” to choose frequency. Press SYNC on the left and the screen will show IR=====flash. It will stop after a few seconds and display the current working frequency.
2. Turn on the power switch on microphone handheld, and align the frequency point (the display) of microphone positively to Red SYNC frequency point at the upper left corner of the receiver to automatically match frequency. Stay for 5 seconds, and infrared data will transmit receiver channel parameters to the transmitter. After the frequency matching is completed, the display RF will appear 10 black signal frame. The MUTE mark disappears at the same time when the setting is successful. The SYNC key on the right corresponds to the display on the right, and the operation method is as described above. If there is no black signal frame or Mute mark is still in, it is indicated that the frequency matching fails and receiver cannot work.
Receiver System Settings
Note : All functions should be confirmed by the “SET” button after the change of selection, otherwise the LCD screen will continuously blink for reminding.
4.1 Channel/Frequency Settings

Press “▲“▼to change the channel and frequency parameters
4.2 Frequency Pairing

Method is the same as item 8 of the receiver usage method.
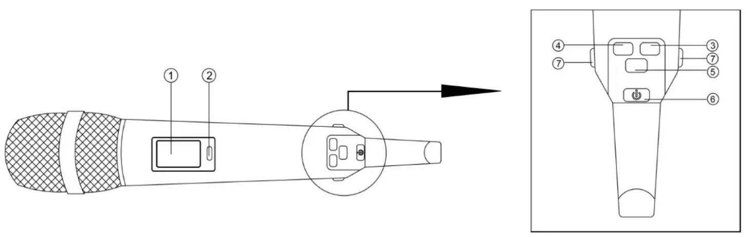
Transmitter Function

- LCD display (display group, channels and battery power)
- Infrared frequency pairing point:Cooperate with the receiver “SET” button to transmit the channel parameters to the transmitter.
- Up (to set volume, switch between high and low power, and lock switch)
- Down (to set volume, switch between high and low power, and lock switch)
- Menu (could adjust volume VOLO4, PA reception enhancement, LOCK to lock three function interfaces and use Up and Down to adjust parameters of current function.)
- Light touch power switch (in the state of shutdown, hold down for 3 seconds to boot; in the boot state, hold down for 3 seconds for shutdown)
- Battery Card Spring button (Press the buttons on both sides at the same time by your left hand, and pull the bottom of the microphone slightly hard in the right hand. The battery could be pull out. )
Transmitter Instructions
- Pull the transmitter’s battery compartment out as shown in Figure 1 below (Method refers to transmitter function introduction item 6). Insert two AA (1.5V) battery into it and put battery compartment into microphone.

- Power switch: when power off, press it on. When power on, press it and hold for 3 seconds to turn off.
- To prevent the sound of the boot, the Mute function shuts down automatically 3 seconds after booting.

- Volume adjustment: press menu key and display will show “VOLO1” as shown in Figure 2. Figure 3 is the current volume. Press Up to turn up volume and Down to turn down volume. Adjustment range is VOLO1-VOLO8.

- Transmitter power settings: press the menu key continuously. “PA H/L” shown on the display is the current power. Press Up and Down to switch between high (H) and low (L) power. Under high power, transmission signal is strong and under low power, transmission signal is weak. (as shown in Figure 4)

- Lock function adjustment: press the menu key continuously until “LOCK” is shown on the display. Press Up and Down to turn on and turn off lock function. When there is “
” on the display, all functions are locked and cannot be adjusted.
- Turn off transmitter after using. If you do not use it for a long time, remove the transmitter’s battery in case of damage.
6.1 Portable Transmitter Function
- Status indicator (When the power switch is placed on the “on”, the indicator light shines, indicating that the battery is normal. If it does not shine, the battery is notpowered or installed. If the light is always on, it means that the battery is running out of power and must be replaced)
- Gain Control
- MIC input
- Antenna (1/4 wave length whip antenna)
- LCD display.(Show current working channel and battery power)
- Power switch
- Infrared frequency pairing (Cooperate with the receiver “SET” button to transmit the channel parameters to the transmitter.)
- Battery holder
- Waist clip (used to hold the mini microphone to belt.)
6.2 Battery Replacement
- The battery holder is in front of the transmitter.
- Hold down the 2 ends and it will open.
- Insert two batteries and notice the correct electrode.
- Insert to the right place.
6.3 Portable Transmitter
- Insert two 1.5V batteries into the battery rack.
- Push the power switch to the open position.
- Frequency pairing: match the receiver “SYNC” key to transmit the channel parameters to the transmitter Channel Display Mode

6.4 Use with Headset Microphone

- Microphone
- Hose
- Neck rack
- Mini XLR
- Windproof sponge
Hang the headset microphone on the ears from the back of the head and raises the rack to match the sound source.
It is about 1.5 to 2 inches away from the mouth. Insert the small XLR and place the MIC line into the “MIC in”hole of the carry-on transmitter.
6.5 Use with Collar Microphone

- Mini XLR Plug
- Clip
- Microphone
- Windproof sponge
Hang on clothes, ties, lapel and other position which is suitable for picking up the sound.
Insert the small XLR and place the MIC line into the “MIC in” hole of the carry-on transmitter.
6.6 Directional Antenna and Antenna Distributor
- The use of directional antennas with antenna distributor mainly increases the receiving distance. 1 antenna distributor can be used with 4 receivers at the same time (as shown in connection mode 1).
- If you only need to increase receiving distance of 1 machine, the directional antenna can be connected directly to the “ANT A” and “ANT B” ends of the receiver (as shown in connection mode 2). However, the receiving distance in this way is less than that of combined use of directional antenna and antenna distributor.
- Directional antenna needs to be aligned to the direction of the microphone
- Antenna distributor can supply power for each receiver host.
Method 1: 1 antenna distributor can be used for 4 non-true diversity receivers or 2 true diversity receivers at the same time.

Method 2: Use directional antenna with receiver.

System Installation
Installation note
Before installing this system, please read the guidelines of “Ambient factors” to preclude the external and internal interference signal source which may influence the effect of wireless signal receiving.
Placing requirements
- To ensure that the system is in optimum working condition and reduce the reflected dead angle, the receiver should be placed at least one meter away from the ground, the surrounding walls, and metal surfaces. (Please see the picture)
- The transmitter and receiver should be kept at a proper distance, preferably at least two meters
- Try to reduce the obstacles between transmitter and receiver.
- When multiple receivers are used at the same time, the frequency of the receiver should be kept in reasonable space, preferably at a frequency interval of 10MHz.
- This antenna is put into the two antenna plug in the back of the receiver, and placed in “L” vertical angle for best reception state, other state of any Angle and screw down the mast is would abate signal receiving, any other angles and the screw down the antennas will weaken the signal reception.
- Connect the power adapter to the receiver’s power input socket (The power adapter adapts to the working voltage automatically

Common Failures and Solutions
| Symptoms | Causes | Solutions |
| The microphone goes dead | · Power switch in the OFF state · Amplifier power do not switch on · Receiver power do not turn on ·MIC volume of power amplifier is in the the minimum · Speaker do not connected properly or working improperly · The microphone battery is died | · Switch the power to the ON state · Turn on the receiver power · Turn on the volume · Checking the speaker and connecting wire,and keep performance in good state · Change battery |
| Microphone output is noisy | · Speaker do not connected properly or working improperly · The mouth is close to the microphone · Amplifier is working improperly or tuning failure · The microphone is disturbed by strong external signals. | · Checking the speaker and connecting wire,and keep performance in good state · The distance between the mouth and microphone should be between 10 and 20 cm and with the angle of 45 degree, the frequency response is better. · Checking the amplifier and tuning according to the situations · Find the interference sources and adjust the system accordingly. |
| The microphone soundis distorted | · The receiver works well while the microphone fallen or be collided. · The transmitter is with high sensitivity · Receiver audio output is too high | · Check whether the battery is normal or not, and then check MIC again. If the sound quality is bad, you should first consider changing the microphone sound head. · Adjust the sensitivity to a reasonable range · Reduce audio output level |
| Microphone feedback problems | · The construction and acoustics conditions of the room · The microphone is pointing to the speaker directly. · It’s close to the speaker · Amplifier is working improperly or tuning failure | · Reasonable application of sound absorbing material · Avoid getting the microphone straight to the speaker · Keep the microphone and speaker at a distance of more than 2 meters · Checking the amplifier and tuning according to the situations |
| Receiver has no output while transmitter and receiver indicate normal | · MIC parts are failure or MIC is damaged for falling and being collided. | · Change MIC |
CAUTION
- When the power switch is “OFF”, the machine is not completely disconnected from the power grid. For the sake of safety, please pull the power cord plug out of the socket when not using the equipment.
- The equipment shall not be subject to water drops or splashes, and objects such as vases filled with water shall not be placed on the equipment.
- To reduce the risk of electric shock, do not remove the cover. If necessary, please ask professional personnel to repair.
- The symbol
on the rear panel indicates hazardous live. The connection of these terminals must be operated by the instructed person. - The equipment is connected to the power grid through the power cord plug. In case of equipment failure or danger, the connection between the unit and the power grid can be disconnected by pulling out the power cord plug. Therefore, it is required to place the power socket to a position where the power cord can be plugged and unplugged conveniently.
http://www.nordencommunication.com
Norden Communication UK Ltd.
Unit 13 Baker Close, Oakwood Business park, Clacton-On- Sea,
Essex C015 4BD, United Kingdom
Tel +44 (0) 1255 474063 I
E-mail: [email protected]
www.nordencommunication.com

























