Sirius SLTC919 520 Dehumidifier

Product Information
The SLTC919 TW is a range hood that can be used for filtering and suction performances. It comes in three sizes – SLTC919 520 (265mm x 498mm), SLTC919 780 (265mm x 758mm), and SLTC919 850 (265mm x 828mm). The appliance has both a grease filter and an active coal filter for the depuration of air and fumes in its filtering version. In the sucking version, fumes are conveyed outside through an evacuation duct connected to the superior part of the wall or ceiling. The appliance is built in class I and must be earthed.
Product Usage Instructions
- Before connecting the cooker hood to the mains supply, ensure that the voltage indicated in the rating plate corresponds to the mains voltage in your home.
- Remove the grease filters before installing the product to avoid damaging it.
- Make an opening on the kitchen cabinet bottom according to the size of your appliance – SLTC919 520 (265mm X 498mm), SLTC919 780 (265mm X 758mm), or SLTC919 850 (265mm X 828mm).
- If you’re using the filtering version, open the glass by rotating it as shown in Fig. 3, then remove the grease filters by acting on their specific handle and rotating them to remove them from their seating (Fig. 4). The charcoal filter is not supplied with the appliance.
- If you’re using the sucking version, neither the coal filter nor the air deflector is necessary.
- Ensure that the appliance is disconnected from the electrical mains before carrying out any maintenance or cleaning operation.
- The appliance can be used by children aged 8 and above and persons with reduced physical, sensory, or mental capabilities or lack of experience and knowledge if they have been given supervision or instruction.
- Range hoods and other cooking fume extractors may affect the safe operation of appliances burning gas or other fuels due to the backflow of combustion gases. After installation of a range hood or other cooking fume extractor, the operation of open-flued gas appliances should be tested by a competent person to ensure that the back flow of combustion gases does not occur.
WARNINGS The air outlet of the appliance must not be connected to a flue which is used for exhausting other fumes from appliances, such as central heating, boilers, etc..For the external exhausting of the fumes, comply with the regulations in force. The motor of the peripheral exhausting group is powered by the coo ker-hood placed in the kitchen. Before connecting the cooker hood to the mains supply, make sure that the voltage indicated in the rating plate corresponds to the mains voltage in the home. Before carrying out any sort of maintenance or cleaning opera-tion, make sure that the appliance is disconnected from the elec-trical mains. Appropriate maintenance ensures good working and a good performance in the long run. All models are built in class I, therefore they must be earthed.- This appliance can be used by children aged 8 years and above and persons with reduced physical, sensory or mental capabilities or lack of experience and knowledge if they have been given supervision or instruction12 concerning the use of the appliance in a safe way and understand the hazards involved.
- Children shall not play with the appliance. – Cleaning and user maintenance shall not be made by children without supervision.
- If the power cable is damaged, it must be replaced by a cable or a special assembly, available from the manufacturer or its service department technique.
- The room must have adequate ventilation when using the kitchen hood simultaneously with other appliances that use gas or other fuels (not yes applies to appliances that simply release the air back into the room);
- There is the possibility of fire if the cleaning operations are not carried out as indicated in the in-structions;
- Do not prepare flambéed food under the kitchen hood.
ATTENTION: The accessible parts can burn if used in conjunction with the cooking appliances. Range hoods and other cooking fume extractors may adversely affect the safe operation of ap-pliances burning gas or other fuels (including those in other rooms) due to the backflow of combustion gases.
These gases can potentially result in carbon monoxide poisoning. After installation of a range hood or other cooking fume extractor, the operation of open-flued gas appliances should be tested by a competent person to ensure that the backflow of combustion gases does not occur. If the product is connected directly to the supply mains or if the plug is not easily accessible after installation, it is necessary to ensure the disconnection of all poles from the supply mains by providing a switch providing a complete disconnection in over-voltage category III conditions.
USES
USESThe appliance is already arranged both for filtering and for suction performances.
- In its filtering version (Fig. 1), the air and fumes conveyed by the appliance are depured both by a grease filter and by an active coal filter, and put again into circulation through the hole made on the top of the cabinet.

- The charcoal filter is not supplied with the appliance
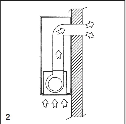
- In its sucking version (Fig. 2), fumes are di-rectly conveyed outside, through an evacuation duct connected with the superior part of the wall or the ceiling. Both coal filter and air deflector are not necessary in this case..

INSTALLATION
Before installing the appliance, make sure that none of the parts is damaged in any way. In case of damaged parts, contact your retailer and do not proceed with the installation. Read all of the following instructions with care before installing the appliance.
- Use an air outlet pipe of the shortest possible length.
- Limit the number of pipe bends.
- Use a material approved by standards and regulations.
- Avoid any sudden changes in pipe section (re-commended constant diameter: 150 mm or equal surface area).
- The manufacturer shall not be responsible for air capacity or noise problems due to non-compliance with the above-mentioned instructions, and no warranty shall be given.
Remove the grease filters before installing the product, in order to avoid damaging the appliance.
Open the glass rotating it as shown in fig. 3; then remove the grease filters acting on their specific handle and rotate them to remove them from their seating (fig. 4).
Make an opening on the kitchen cabinet bottom of the following sizes:

- SLTC919 520: 265mm X 498mm
- SLTC919 780: 265mm X 758mm
- SLTC919 850: 265mm X 828mm
Make sure the cabinet structure and the material used allow you to make this opening without causing any damage, even during the appliance installation. Prepare the power supply inside the cabinet. Prepare the air discharge hole for the product being installed either in the sucking or filtering mode. Use an air discharge pipe whose maximum length does not exceed 5 meters. Limit the number of elbows in the piping, as each elbow reduces the air capacity of the hood of about 1 linear meter. (Eg.: if you use no. 2 x 90° elbows, the length of the piping should not exceed 3 meters).
- Avoid abrupt direction changes. Use a 150mm constant diameter pipe for the whole length. Use piping-approved standards in force.
- Remove the fixing screws of the rear steel bar, as shown in fig. 5.

- Rotate the steel bar, including the led bar, to remove it from its seating (fig. 6- 7). You can electrically disconnect the bar by acting on the specific connector.


- Place the appliance inside the cabinet and fix it by inserting the screws supplied into the holes, as shown in fig. 8.

- Both in the front and rear sides of the appliance. Refit the stainless steel bar previously removed, connect the led bar electrically by means of the specific connector, and then refit the grease filter.
Rear air outlet
- Models equipped with only one motor can be installed having the motor air outlet oriented to-wards the appliance’s rear side.
- If you choose this option, you will need to remove the motor support by removing the 18 screws (fig. 9), taking out and rotating the support, placing it in its housing, and always keeping the air outlet oriented toward the appliance’s rear side. (fig. 10). Secure it by using the screws previously removed.


- If you intend to rotate the fan, in order to orient the air outlet to the rear side of the product, you must foresee the air outlet channeling at 238mm distance from the lower surface of the wall unit (fig. 11).

Blocking of the stop valve
Warning!
Before connecting the flexible exhausting pipe to the motor, make sure the stop valve, which is on the air outlet of the motor, can swing.
Exhausting version
Connect the flange to the exhausting hole with an appropriate pipe. Connect the appliance with the electrical mains through the supply cord.
Filtering version
Connect the flange with a pipe suitable to convey the air to the top of the cabinet. Connect the appliance with the electrical mains through the supply cord.
Chimney installation
- Lift the internal steel chimney up to the top of the wall unit (fig. 12), draw with a pencil the rear end of the internal chimney on both sides (fig. 13), lower the entire chimney, and posi-tion the fixing bracket in correspondence with the marking made (fig. 14), secure the bracket with screws (fig. 15).




- Lift the internal chimney up to cover the bracket and secure it with screws positioned on both sides (fig. 16).

WORKING
Mod. SL TC – Glass dis. 17)
- A: Light switch On/Off
- B: Reduce speed / OFF motor
- C: Luminous telltale
- D: ON motor/increase speed
- E: 10-minute timer
The touch control key allows the function desired by touching the relative key.
If the electrical power supply to the product SLTC is cut, 15 seconds are needed for self-diagnostics after the functions are restored.
In the meanwhile, its operation may be incorrect.
The products are endowed with an electronic device that allows the automatic switching off after 4 hours of working from the last operation.
DIMMABLE LIGHTS FUNCTION
THIS FUNCTION PROVIDES FOR LIGHT DIM-MABILITY, RANGING FROM 20% TO 100%, BY CONTINUOUSLY PRESSING THE LIGHT KEY ON THE REMOTE CONTROL.
FUNCTIONS ARE THE FOLLOWING:
- HOOD LIGHT OFF – SHORTLY PRESS THE KEY – LIGHT ON AT 100%.
- LIGHT ON AT 100% – SHORTLY PRESS THE KEY – LIGHT OFF.
- LIGHT ON AT 100% – CONTINUOUSLY PRESS THE KEY – BRIGHTNESS REDUCTION.
- RELEASING THE KEY DURING REDUCTION OR INCREASE – LIGHT KEEPS THE LUMI-NOUS INTENSITY REACHED.
- LIGHT ON – DIMMED – CONTINUOUSLY PRESS THE KEY – BRIGHTNESS IS INVERTED IF COMPARED TO THE PREVIOUS FUNCTION.
COLOUR TEMPERATURE SETTING
Make sure that the lights and the fan are off. Holding down the TIMER key will turn on the light at the previously set color temperature. Press and hold the Light key to change the color temperature. As long as the key is kept pressed, the color temperature is changed from warm to cold, just leave the Light key to select the desired color. Exit the color temperature selection function by pressing the ON/OFF key.
TIMING
As a result of the new EU65 “Energy label” and EU66 “ Ecodesign” regulations issued by the European Commission, which came into force on January 1st, 2015, our products have been adapted to comply with these new requirements. All of the models complying with the energy label requirements are equipped with new electronics including a timer device for suction speed control when the air capacity exceeds 650m³/h. Internal motor models, with maximum air capacity higher than 650m³/h, are equipped with a timer device that automatically switches the suction speed from 4th to 3rd speed, after 6 minutes of operation. The energy consumption of the appliance in the stand–by mode is lower than 0.5W.
MAINTENANCE
- Accurate maintenance guarantees good functioning and long-lasting performance.
- Particular care is due to the grease filter panel. It can be removed by pushing its special handle toward the back side of the cooker hood and turning the filter downwards so to unfasten it from its slot (Fig. 4).
- To insert the filter just perform the opposite operation.
- After 30 hours of working (model), the push button control panel will signal the saturation of the grease filter by lighting all the buttons. Press the timer button to reset
. - The grease filter needs cleaning by regular hand-washing or in dishwashers every two months at least or depending on its use.
- In case the appliance is used in its filtering version, the active coal filter (Fig. 18) needs to be periodically replaced. The coal filter can be removed by removing the grease filter first (Fig. 4), and by pulling its special plastic tongue until it is unfastened from its slot. Re-insert the coal filter by operating in the opposite way. The coal filter needs replacing depending on the use, but however every six months at least.

- To clean the appliance itself tepid water and neutral detergent are recommended, while abrasive products should be avoided. For steel ap-pliances, specialized detergents are recommended (please follow the instructions indicated o the product itself to obtain the desired results).
LED BAR REPLACEMENT
To remove the led bar, it is recommended to remove the steel bar as shown in Fig. 6 and 7, then disengage the led bar by acting on the specific fastening springs. Replace the led bar with one of the same characteristics. Refit the steel bar. * If the supply cord is damaged, it must be replaced by the manufacturer or its service agent or a similarly qualified person in order to avoid a hazard.
Importőr:
- MULTIKOMPLEX BUDAPEST KFT.
- A páraelszívók szakértője… 1995 óta
- H-1211 Budapest Mansfeld Péter utca 27.
- (Volt Bajáki Ferenc utca)
- tel.: +(36-1) 427 0325, +(36-1) 427-0326; fax: +(36-1) 427 0327 www.multikomplex.hu



































