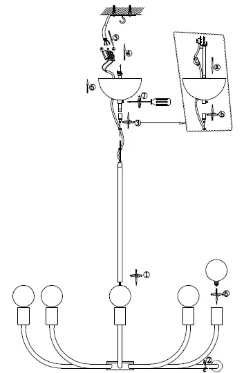
Home » Blog » Markslojd 108291 Amistoso 8 Lights Pendant Instruction Manual Markslojd 108291 Amistoso 8 Lights Pendant Instruction Manual Contents hide1 MARKSLOJD 108291 AMISTOSO 8 Lights Pendant2 Instructions3 Documents / Resources4 Related PostsMARKSLOJD 108291 AMISTOSO 8 Lights PendantInstructionswww.markslojd.com Documents / Resouces Download manual Here you can download full pdf version of manual, it may contain additional safety instructions, warranty information, FCC rules, etc. To access the pdf donwload links, solve the captcha. Related Manuals Uolfin A03766 Pendant Light Instruction Manual Eglo Bla99697 Pendant Light Instruction Manual Lucide 78396 Jerrel Pendant Light Instruction Manual Jonathan Y Jyl7584a 4-light Pendants Light Instruction Manual Jonathan Y Jyl7596a Led Pendant Light Instruction Manual Eurofase 42727 Pendant Light Instruction Manual Ashley L000588 Jodene Pendant Light Instruction Manual Lucide 08408 Pendant Light Instruction Manual Ashley L000318 Coenbell Pendant Light Instruction Manual Artika Po-31391 Led Pendant Light Instruction Manual Hinkley 83527 Pendant Light Instruction Manual Ashley L000668 Collbrook Pendant Light Instruction Manual Fredrick Ramond Fr31037 Pendant Light Instruction Manual Eglo 99633a Maseta Pendant Light Instruction Manual Jonathan Y Jyl7589a Marlowe 32.5 Inch Pendant Light Instruction Manual Ashley L000988 Cordunn Pendant Light Instruction Manual Jonathan Y Jyl1405a Isla 14 Wide Led Pendant Instruction Manual Jonathan Y Jyl1119a Levi 40.5 Inch Pendant Light Instruction Manual Secto Octo 4240 Pendant Light Instruction Manual Slv 1006431 …32 Pendant Light Instruction Manual