
Electric Wall Fireplace
Heater + LED
USER MANUAL
Product Nr. BW2023![]()
Electric Wall Fireplace – Heater + LED
Dear Customer! Thank you for choosing our product, we hope you enjoy using it for a long time.
There is nothing better than to cuddle with our loved one in front of the fireplace on a cold winter day. This multifunctional wall-mounted fireplace is the perfect replica of the original fireplaces: it contains realistic, flaming effects and glowing, smoldering pieces of wood, but it can also be used as a radiator. It can be easily mounted to any wall with dowels and screws. A romantic atmosphere is guaranteed. On cold winter nights, you can adjust the intensity of the radiator (950 W, 2000 W) at two power levels on request, which is suitable for occasional, intermittent heating of a room of up to 30 m². This way, not only the sight but also the feeling of warmth will be realistic. Precise temperature control is ensured by a built-in thermostat, which can be set using the accessory’s remote control. The flame effect can be used independently of the heating function, so you can admire the magical atmosphere of a „burning fire” in the fireplace at any time of the year. The accessory stones give an even more exclusive look to the „combustion chamber” of the fireplace.
- It can be operated safely
- There is no fire, spark, soot
- It is characterized by two heating capacities and high heating power
- Weekly timing
- Overheating protection
- Rugged frame
- Strong wall bracket
- The light effect can be switched separately, adjustable brightness
- The romantic atmosphere from the first minute of switching on
- It is deceptively similar to real fireplaces
Attention! Some points on the cover may become hot due to heat radiation!
| Design: | Wall | Inbuilt temperature adjustment: | Yes, manual |
| Power supply: | AC 220 – 240 V, 50/60 Hz | Protection: | IP20 |
| LED efficiency: | 1.6 W | Overheating protection: | Yes |
| Heating efficiency: | 950 – 2000 W | Noise level: | 50 dB |
| Recommended use: | max. 30 m2 room | Power cord: | 140 cm |
| Operating Temperature: | 15 °C – 30 °C | Material: | Metal + glass |
| Storing temperature: | 15 °C – 30 °C | Size: | 88 x 15 x 56 cm |
| Direct heat efficiency: | 950 – 2000 W | Color: | Black |
| Energy class (EU2021): | Class„G” |
SAFETY REGULATIONS, WARNINGS
DANGER
General advice: Danger of suffocation! Please keep the packaging of the appliance out of the reach of children as it may lead to suffocation. The appliance may only be used by adults, the storage location must be chosen in such a way that children cannot accidentally access it. Children should be supervised to ensure that they do not play with the appliance.
The danger of electric shock: Never operate the appliance with wet, wet hands! Touching the device, including the power plug and cable, with wet hands is strictly prohibited! The device may only be connected to AC power with the correct voltage. Do not point the device directly at electrical equipment, as hot air may enter and cause damage. Do not use the appliance near a bathtub, shower, swimming pool or sink containing water. Unplug the appliance only by grabbing the mains plug. Operation: Make sure of environmental regulations before use! Do not use the device near explosive material! When used in special places (eg petrol stations, pools…) the local safety regulations must be followed! Place the appliance horizontally and stably, make sure that the appliance does not tilt or tip over! Do not cover the appliance with anything (sheets, blankets…)! To reduce the risk of fire, do not place the appliance closer than 2 m to furniture, objects or walls! The appliance must not be operated from a socket with a timer! The appliance is not suitable as a primary heating source for rooms. The appliance is designed for intermittent (short-term) heating.
WARNING
General advice: The device may only be used for its intended purpose! When using, pay attention to the physical safety and safety of those around you (especially children). The device may only be used by persons who have read, understood and are able to operate this device accordingly! Persons with reduced mental, physical or sensory capabilities should not use the device! Children should not use the appliance! After using the appliance, make sure that the hot appliance can cool down in a well-ventilated place in a way that won’t cause personal injury to anyone! Inform those around you about the operating status of the device.
Risk of electric shock: Only connect the appliance to a mains socket that is safe to operate or has been installed by a specialist in accordance with IEC 60364-1. Before each use, make sure that the appliance and the main cable and connectors are intact! Only use undamaged devices! If you experience any damage, do not use the appliance, contact a specialist! During use, pay attention to the integrity of the main cable, avoid edges or objects that can damage the surface of the cable. Avoid the use of extension cords or splitters, as they are a source of danger during operation. Always unplug the appliance when not in use! Maintenance work must only be carried out with the mains plug removed!
Operation: Risk of burns! Never touch the part of the radiator (bottom) or point it at close range to other people or animals! To avoid burns, always allow the appliance to cool down before you touch it! The device may only be operated when fully assembled with the factory accessories if any part is damaged, it must be replaced before use. Allow the appliance to cool down completely in a well-ventilated place before storing it. During use, periodically check that the appliance is not overheated and that the ventilation openings are not blocked.
CAUTION
General advice: Do not use the device if you have previously dropped or struck it and it is visibly damaged! It is strictly forbidden to, modify or disable safety devices, you must use as intended! Operation: Always operate and store the device as described always check the integrity of the appliance, cable, plug and accessories In the event of damage, do not use the device!
ATTENTION
Operation: Use the appliance only at freezing temperatures above 0 °C to avoid condensation and electric shock. Never leave the appliance unattended when it is connected to the mains! Protect the device from moisture and water! Do not store the device outdoors in high-temperature fluctuations.
Attention!
Certain parts of the product may become hot and cause burns. Requires increased attention near children.
SPECIAL REQUIREMENTS
ATTENTION!
The radiator does not include a device to control the temperature of the rooms. Do not use it unattended in a room with people who cannot leave. Leave 100 cm free space above the radiator and 200 cm in front of the radiator. Never use the radiator in a room with flammable, explosive oil, gasoline or gas.
INSTALLATION INSTRUCTIONS
Install the appliance at least 30 cm high on the wall, so that the distance between the ceiling and the appliance is at least 100 cm. We recommend placing the lower part of the appliance at a height of 60 cm from the ground to ensure the best visual experience in the fireplace flag fire. A safe installation requires at least two people!
INSTALLATION
The included mounting accessories provide mounting on brick, concrete, silicate walls. When mounted on a plasterboard wall, it can only be installed on a horizontal support structure prior to installation, make sure that the wall section has the correct load capacity and can provide the power supply for the device in the given location. When attaching to drywall, use a special drywall dowel, not the one included in the package! When fixing to a wooden surface, it is not
necessary to pre-drill the holes and use dowels for the screws!


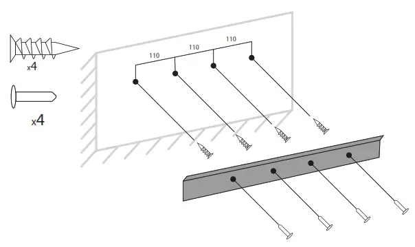
- Remove the two screws that secure the bracket to the back of the device, and then remove the bracket from the device.
- Using a spirit level and a pencil, draw a horizontal line on the wall at the desired height.
- Place the bracket part on the wall and mark the location of the mounting holes on the line on the wall
- Use a drill to drill the holes securing the bracket. Use an 8 mm drill bit for drilling. The depth of the holes must be at least 26 mm deep.
Do not use a smaller mounting size! - Insert the supplied dowels into the holes until they are aligned with the plane of the wall.
- Secure the bracket to the wall with the 4 screws!
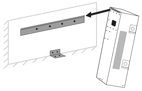
- Place the fireplace on the support structure and make sure that it fits stably and precisely.
- Mark the location of the L-shaped console in the middle of the bottom of the fireplace. Pay attention to the height and position of the holes.
(We recommend that the “L” shaped iron stem be facing up on the wall so that the fireplace will cover it) - Remove the fireplace from the upper cantilever rail and then drill the lower “L” shaped iron into the wall.
- Place the fireplace back on the top rail and secure the accessory from below with two screws.


- Optional: Carefully remove the glass at the front of the appliance and place the accessory stones in the fireplace in any arrangement and quantity. To remove the front
glass panel, unscrew the screws in the center on each side of the housing, then move the glass up and forward (towards yourself). Put the glass cover back on the fireplace. - Before connecting to the network, make sure that all switches are off
HOW TO USE THE DEVICE
There are two ways to control the fireplace:
- Using the touch surface on the fireplace
- An accessory with remote control

CONTROL OF THE FIREPLACE
When controlling the fireplace, please note that it takes a few seconds for the control unit to receive the given instruction and process it.
Turn on fireplace: By pressing
the button, the fireplace switches on and the heating starts automatically. You can set the
functions you need. Pressing the button again turns off the fireplace.
Set the exact time: You can set the real-time by pressing
the button. Day (Sunday, Monday, Tuesday, Wednesday, Thursday, Friday, Saturday), hours and minutes.
Brightness setting: By pressing
the button. By pressing the button, + the fireplace is brighter and has more brightness. You can reduce the brightness by 4 levels by pressing the- button.
Setting the heat output: Press the
button once to select the low heating level. Press twice in succession to set the high temperature. If you press the button again, the fireplace heating will stop and the fan will start 10 seconds after the heating is stopped. Temperature control is possible on the remote control.
CONTROL BY REMOTE
Remove the foil from the battery compartment of the remote control, and the remote control will be ready for use.
Use the same buttons you found on the fireplace control. The remote control is using infrared technology, so point the remote control at the fireplace you want to control. The infrared signal works from a maximum distance of 4-5 meters, make sure that no objects or people get between you and the fireplace during the control.
Timer set up ont the remote: After pressing the button, press the button to choose ON/OFF. This allows you to change the timing of switching on or off at a given time. Please do not set the timer for a period when you cannot monitor its operation! After commissioning, check that all timers are off.
Temperature adjustment: You can also set the
temperature on the remote. Press the
heating button (once or twice depending on the desired power level), then adjust the temperature in the range of 15 to 30 degrees Celsius using the “+” and “-” buttons.
Overheating protection: If the device overheats for some reason, it will turn off automatically. Remove any objects that have caused overheating. To safely restart the fireplace, turn off the power for 15 minutes. Once the appliance has cooled down, it will switch on again.
Cleaning: Always switch off, unplug and let the appliance cool down before cleaning. Use a dry cloth or vacuum cleaner to remove dust The housing should only be wiped with a slightly damp cloth, making sure that no moisture enters the device! Do not use chemicals or alcohol during cleaning!
Storing:
Store in a cool, dry place. Do not throw away the product box.
You can use it to store the device when not in use. Caution Only put the appliance back in its box if it has cooled down properly.
MALFUNCTIONS
| Reason | Solution |
| Does not work/fan does not rotate. | Check the safety shutdown mode. (The unit has overheated or shut down for some reason. |
| The following icon is displayed on the device stopped: | The device is working properly. It’s been sensed that the air in the room had cooled by 5-10 degrees. For economical use, make sure that one of the doors and windows is not open. |
| The flame effect does not work. | Check the LEDs, restart the device |
| The remote control does not work. | Check the polarity of the battery and whether it needs to be replaced. It may be too far from the fireplace or some landmark may be in the way of the signal. |
Proper disposal of the appliance (Electrical appliance): (It is valid in the European Union and in all other European states that participate in the selective collection) According to Directive 2012/19 / EU, electrical waste and appliances must not be disposed of with household waste. Old appliances should be placed at a collection area to maximize the recycling of raw materials, thus reducing their impact on human health and the environment. The crossed-out wheeled bin symbol is attached to all products it requires to be collected separately. Consumers should contact their local authorities for more information.




















