
Individual Anti Vandal AHD Outdoor
Panel with Ultra Wide Viewing Angle
User Manual

AHD 1080P (2 Mp)
https://www.slinex.com/support.html?lang=ru
Safety instructions
Read and keep that manual.
The device installation process should be carried out by qualified specialists.
Use the device from the –40 ˚C to +50 ˚C, always keep it within that temperature range.
The installation surface should be free from vibration and impact influence. Keep this device far from open sources of heat, such as radiators, heaters, and ovens.
The device can be installed near other electronic equipment in case if the temperature of the environment does not exceed the previously mentioned range. The device should be protected from the direct influence of natural phenomena, such as direct sunlight, rain or snow. Don’t use aggressive or abradant detergent for the device’s surface cleaning. Use soft wet cloth or tissue to remove strong dirt.
Attention!
As a result of continuous upgrades and functionality improvements, the technical characteristics of the device can be changed without any preliminary declaration. This manual can contain some inaccuracy or misprint. The owner reserves the right to make corrections to the information described in the user manual and device package. !
Nature protection
Don’t throw away the device with other industrial or nutritive trash if you see that symbol. Some regions have separation and recycling systems for electronic equipment.
Connect with local authorities to receive information about the recycling of electronic equipment for your region.
Rights and limitation of liability
All rights reserved. Any part of that document can not be published in any form, translated into other languages or reproduced in any way including electronic or mechanical.
Document recording and copying is strictly denied without the owner’s permission.
Package
ML-17HD outdoor panel − 1 pc.
Wall mounting bracket − 1 pc.
Angle bracket (optional)− 1 pc.
Mounting screws and anchors − 1 pkg.
User manual − 1 pc.
Specification
| SENSOR TYPE | VOLTAGE |
| 1/2.9” CMOS, 1920×1080 px | +12 V from the monitor |
| VIDEO OUTPUT | POWER CONSUMPTION |
| AHD 1080p (2 MP), AHD 720p (1 MP) or CVBS (PAL) | 2.5 W in working mode |
| VIEW ANGLE | INSTALLATION TYPE |
| 130˚ | Surface mount |
| NIGHT BACKLIGHT | DIMENSIONS |
| Infrared, 3 meters distance | 48×133×21 mm |
| LOCK TYPES | WORKING TEMPERATURE |
| Electromechanical or electromagnetic locks with up to 6A current | –40 … +50 ˚C |
Description

- Microphone
- Video camera
- Night infrared backlight
- Call button
- Speaker
- Communication cable
- Video camera mode button
- Speaker volume potentiometer

Wire colors
| Red | Power, +12 V |
| Black | Ground (GND) |
| Yellow | Video |
| White | Audio |
| Blue | N.O. relay contact |
| Green | COM. relay contact |
| Brown | N.C. relay contact |
| Red & white | Video camera power, +12 V |
Schematic diagram

Installation

Angle mount
- Take the angle bracket from the kit and place it 150-160 cm from the floor line;
- Mark and drill two halls inside the wall;
- Take two anchors from the kit and hammer them into the drilled halls;
- Fix angle bracket on the wall with two screws from the kit;
- Fix the wall mounting bracket on the angle bracket by two screws from the kit;
- Connect all communication wires and x the door panel on the wall mounting bracket by the screw from the downside.

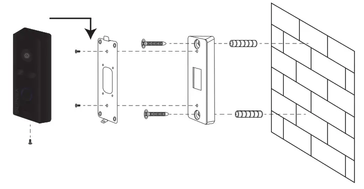
Surface mount
- Take the wall mounting bracket from the kit and place it 150-160 cm from the floor line;
- Mark and drill four halls inside the wall;
- Take four anchors from the kit and hammer them into the drilled halls;
- Fix wall mounting bracket by four screws from the kit;
- Connect all communication wires and the door panel on the wall mounting bracket by the screw from the downside.
Video camera output setting (AHD or PAL)
An outdoor panel video camera can work in three basic modes: AHD 1080p (2 MP) – default mode, AHD 720p (1 MP) or analog CVBS (PAL). AHD is a high-resolution mode, so it has better image quality than analog CVBS mode. While using high-resolution AHD modes, the monitor must maintain that kind of signal, otherwise, there will be no image on the monitor screen. To switch video camera modes remove the resin cap on the back cover of the outdoor panel. Then press and hold the camera mode button for 5 seconds to switch from the current mode to the next one in such sequence: AHD-H (1080P) → AHD-M (720P) → PAL → AHD-H (1080P).

Limited warranty
The manufacturer guarantees the product’s normal functioning during the warranty period if the user keeps all safety instructions described in that manual. The warranty period is 12 months from the moment of the product purchasing (the warranty period could be extended up to 24 months or more, depending on the local regulations).
The warranty period allows the user to make a guaranteed repair in cases when the normal functioning of the product was violated by the fault of the manufacturer and the user hasn’t ofend transporting installation, and working conditions. This limited warranty does not cover any damage to the product that results from improper installation, accident, abuse, misuse, natural disaster, insufficient or excessive electrical supply, abnormal mechanical or environmental conditions, or any unauthorized disassembly, or repair or modification.
Warranty void in such cases:
- the product was damaged by the fault of the customer;
- the product wasn’t properly installed according to recommendations from
- the manual;
- the sticker on the backside of the product was broken;
- the product was not used for its intended function.
This limited warranty covers only repair, replacement, refund or credit for defective products, as provided above. The manufacturer is not liable for and does not cover under warranty, any damages or losses of any kind whatsoever resulting from loss of, damage to, or corruption of, content or data or any costs associated with determining the source of system problems or removing, servicing or installing products. This warranty excludes third-party software, connected equipment or stored data.
The manufacturer is therefore not liable for any losses or damage attributable to third-party software, connected equipment or stored data. In the event a product has been discontinued, the manufacturer shall either repair the product, offer to replace it with a comparable product or provide a refund at the lesser of the purchase price or the product’s current value. Repaired or replacement products will continue to be covered by this limited warranty for the remainder of the original warranty term.




















