ML-20TLHD
AHD 1080P (2 Mp)
User manual
Safety instructions
Read and keep that manual.
The device installation process should be carried out by qualified specialists.
Use the device from the –40 ˚C to +50 ˚C, always keep it within that temperature range.
The installation surface should be free from vibration and impact influence.
Keep this device far from open sources of heat, such as radiators, heaters, and ovens.
The device can be installed near other electronic equipment in case the temperature of the environment does not exceed the previously mentioned range.
The device should be protected from the direct influence of natural phenomena, such as direct sunlight, rain, or snow.
Don’t use aggressive or abradant detergent for the device’s surface cleaning.
Use a soft wet cloth or tissue to remove strong dirt.
Attention!
This device can only work with Slinex monitors or third-party monitors that have +5 V power on the outdoor panel’s input in standby mode.
As a result of continuous upgrades and functionality improvements, the technical characteristics of the device can be changed without any preliminary declaration.
This manual can contain some inaccuracy or misprint.
The last revision of this manual is available on www.slinex.com
Nature protection
Don’t throw away the device with other industrial or nutritive trash if you see that symbol. Some regions have separation and recycling systems for electronic equipment.
Connect with local authorities to receive information about recycling electronic equipment for your region.
Rights and limitation of liability
All rights reserved. Any part of that document can not be published in any form, translated into other languages, or reproduced in any way including electronic or mechanical.
Document recording and copying are strictly denied without the owner’s permission.
Package
ML-20TLHD outdoor panel − 1 pc.
Wall mounting bracket − 1 pc.
Angle bracket − 1 pc.
Rainshield − 1 pc.
Flush mounting box − 1 pc. (optional)
Mounting screws and anchors − 1 pkg.
User manual − 1 pc.
Specification
| SENSOR TYPE 1/2.9” CMOS | LOCK RELAY CONTINUOUS CURRENT 1 A |
| RESOLUTION 1920×1080 px. | VOLTAGE +12 V in working mode, +5V in standby mode |
| VIDEO OUTPUT AHD 1080p (2 MP), AHD 720p (1 MP) or CVBS (PAL) | POWER CONSUMPTION 2.5 W in working mode |
| TOUCHLESS CALL BUTTON RANGE 10 cm. from the panel surface | INSTALLATION TYPE Surface or flush (optional) mount |
| VIEW ANGLE 115˚ | DIMENSIONS 45×130×24 mm |
| NIGHT BACKLIGHT Infrared, 1.5 meters distance | WORKING TEMPERATURE –40 … +50 ˚C |
Description

- Microphone
- Night infrared backlight
- Video camera
- Touchless call button
- Speaker
- Video camera mode button
- Communication cable
- Speaker volume potentiometer
Wire colors
| Red | Power, +12 V |
| Black | Ground (GND) |
| Yellow | Video |
| White | Audio |
| Brown | N.O. relay contact |
| Blue | COM. relay contact |
| Red & white | Video camera power, +12 V |
Schematic diagram

Installation

Angle mount
- Take the angle bracket from the kit and place it 150-160 cm from the floor line;
- Mark and drill two halls inside the wall;
- Take two anchors from the kit and hammer them into the drilled halls;
- Fix angle bracket on the wall with two screws from the kit;
- Fix the wall mounting bracket on the angle bracket with two screws from the kit;
- Connect all communication wires and fix the door panel on the wall mounting bracket by the screw from the downside.

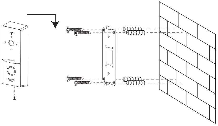
Surface mount
- Take the wall mounting bracket from the kit and place it 150-160 cm from the floor line;
- Mark and drill four halls inside the wall;
- Take four anchors from the kit and hammer them into the drilled halls;
- Fix the wall mounting bracket with four screws from the kit;
- Connect all communication wires and fix the door panel on the wall mounting bracket by the screw from the downside.
Video camera output setting (AHD or PAL)
An outdoor panel video camera can work in three basic modes: AHD 1080p (2 MP) – default mode, AHD 720p (1 MP), or analog CVBS (PAL). AHD is a high-resolution mode, so it has better image quality than analog CVBS mode. While using high-resolution AHD modes, the monitor must maintain that kind of signal, otherwise, there will be no image on the monitor screen. To switch video camera modes remove the resin cap on the back cover of the outdoor panel. Then press and hold the camera mode button for 5 seconds
to switch from the current mode to the next one in such sequence: AHD-H (1080P) → AHD-M (720P) → PAL → AHD-H (1080P) …

Limited warranty
The manufacturer guarantees the product’s normal functioning during the warranty period if the user keeps all safety instructions described in that manual. The warranty period is 12 months from the moment of the product purchasing (the warranty period could be extended up to 24 months or more, depending on the local regulations).
The warranty period allows the user to make a guaranteed repair in cases when the normal functioning of the product was violated by the fault of the manufacturer and the user hasn’t offended transporting, installation and working conditions. This limited warranty does not cover any damage to the product that results from improper installation, accident, abuse, misuse, natural disaster, insufficient or excessive electrical supply, abnormal mechanical or environmental conditions, or any unauthorized disassembly, repair or modification.
Warranty void in such cases:
- the product was damaged by the fault of the customer;
- the product wasn’t properly installed according to recommendations from the manual;
- the sticker on the backside of the product was broken;
- the product was not used for its intended function.
This limited warranty covers only repair, replacement, refund, or credit for defective products, as provided above. The manufacturer is not liable for and does not cover under warranty, any damages or losses of any kind whatsoever resulting from loss of, damage to, or corruption of, content or data or any costs associated with determining the source of system problems or removing, servicing or installing products. This warranty excludes third-party software, connected equipment, or stored data. The manufacturer is therefore not liable for any losses or damage attributable to third-party software, connected equipment, or stored data.
In the event a product has been discontinued, the manufacturer shall either repair the product, offer to replace it with a comparable product, or provide a refund at the lesser of the purchase price or the product’s current value.
Repaired or replacement products will continue to be covered by this limited warranty for the remainder of the original warranty term.
Technical support
https://www.slinex.com/support.html?lang=ru
Design. Uniqueness. Innovations
ML-20TLHD


















