hama 00201521 Multi Uni Smartphone Holder Set

Thank you for choosing a Hama product.
Take your time and read the following instructions and information completely. Please keep these instructions in a safe place for future reference. If you sell the device, please pass these operating instructions on to the new owner.
Explanation of warning symbols and notes
- Warning
This symbol is used to indicate safety instructions or to draw your attention to specific hazards and risks. - Note
This symbol is used to indicate additional information or important notes.
Package contents
- 1 universal multi-holder
- 1 suction cup holder
- 1 grating clamp
- these operating instructions
Safety instructions
- Use the product only for the intended purpose.
- Protect the product from dirt, moisture and overheating and use it in dry environments only.
- When using this product, observe the applicable local traffic laws and regulations.
- Do not drop the product and do not expose it to any major shocks.
- Dispose of packaging material immediately in accordance with the locally applicable regulations.
- Do not modify the product in any way. Doing so voids the warranty.
Installation
Warning
- Take care that components such as airbags, safety areas, controls, instruments, etc. and visibility are not blocked or restricted.
- While driving a car or using sports equipment, do not allow yourself to be distracted by your product and keep an eye on the traffic situation and your surroundings.
Note
- Before installing the bracket, check the installation options in your vehicle. If in doubt, check the vehicle’s instruction manual or contact the vehicle manufacturer.
- Check the load-bearing capacity of the slats before inserting a device into the bracket. This installation version is only recommended for devices < 300 g.
- Never apply force when using the product or during installation.
Grating holder
- Slide the grating clamp carefully onto the open slats of the grating until it engages. (A)
- To remove it, carefully pull the holder out of the grating

Suction cup holder
- Remove the protective film from the suction cup.
- Open the locking lever on the suction cup (B).
- Position the holder with the suction cup on a clean, even mounting surface (e.g. windscreen)
- Lightly press the holder onto the required installation surface and close the locking lever to secure the holder in place.
- After installation, always check that the suction cup is secure.
- To release the suction cup from the installation surface again, open the locking lever. If necessary, pull gently on the tab to completely release the suction cup.

Mounting the universal bracket
- Attach the universal bracket using the locking lug on the holder (suction cup holder, grating clamp).
- Press the button on the side of the universal bracket to open the holding jaws. (C – 1)
- Insert your desired device and fix it in place by gently pressing the holding jaws together. (C–2)
- To be able to remove the device easily, press the button on the side of the universal bracket. (C–1)

Note
Always remove your device from the bracket before you attach it to or remove it from the holder (suction cup holder, grating clamp).
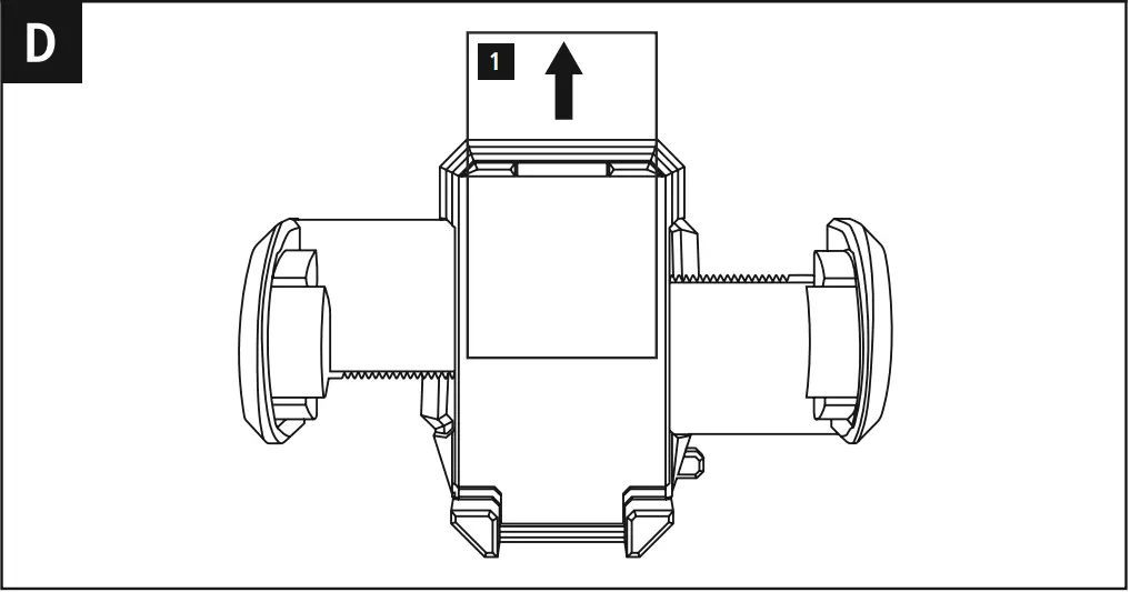
Picture frame assembly (D)

- Pull the cover (1) upwards.
- Insert the picture
- Push the cover back.
Care and maintenance
Only clean this product using a lint-free, slightly damp cloth and do not use any harsh cleaners.
Warranty disclaimer
Hama GmbH & Co KG assumes no liability and provides no warranty for damage resulting from improper installation/mounting, improper use of the product or from failure to observe the operating instructions and/ or safety notes.
Service & Support
- www.hama.com
- +49 9091 502-0
All listed brands are trademarks of the corresponding companies. Errors and omissions excepted, and subject to technical changes. Our general terms of delivery and payment are applied.























