
B45 User Manual
Product Description
This is a simple business style in-ear Bluetooth earpiece, with a built-in Bluetooth Qualcomm chip that ensures a stable connection for clear voice calls and music listening. Besides, it features 24 hours battery life and a long standby time brings more convenience to your life. It should be noted that the Bluetooth connection may be blocked by walls, affected by electronic interference, or interrupted due to over-distance. Please read this user manual carefully before using the earpiece to ensure correct, safe usage and keep it in good condition.
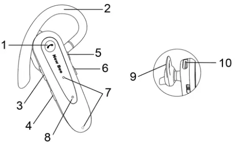
Product Instruction

- Multifunctional Button
- Ear Hook
- On/Off Switch Key
- Microphone Mute Key
- Volume Up Key
- Volume Down Key
- Mies
- LED Indicator
- Ear Bud
- Charging Port
Functional Keys Instruction
(1) On/Off Switch Key ( No.)
Push up to turn on and push down to turn off. (Note: The LED indicator will keep flashing in
red and blue alternately when the earpiece is on pairing mode.)
(2) Volume Key (No. and No.)
- Short press “+” to volume up; long press “+” for 2 seconds and skip to the next song.
- Short press “-” to volume down; long press “-” for 2 seconds and back to the previous song.
(3) Multifunctional Button (No.) - Calls Control: Under calling state, press once to receive calls; long press for 2 seconds to reject calls. Under receiving calls state, press once to hang up calls.
- Under the music playing state, press once to play or pause the music.
- Under the non-calling state, double-click to redial the last phone number; long press for 2 seconds to activate Siri or voice assistant. (Note: While the LED indicator is flashing in red and blue alternately, press the on/off switch key and volume up “+” key at the same time for 6 seconds, when hearing a “DUDU” sound, the Bluetooth function has been reset.)
(4) Microphone Mute Key (No.)
Under calling state: press once to mute the mic, and press again to unmute the mic.
2. Bluetooth LED Indicator (No.) - Under turning-on state: keep flashing in red and blue for 1 second.
- Under pairing state: after being turned on, the indicator keeps flashing in red and blue, and the earpiece will enter pairing mode automatically.
- Under turning-off state: keep flashing in red and blue for 1 second.
- Under connected successfully State: the lights will turn off.
Low Battery Reminder
When hearing “Battery Low”, the earpiece is on a low battery state, please charge it in time.
4. Charging Port (No.)
- This earpiece is powered by lithium-ion polymer batteries, it needs to be charged for about 2 hours before first use. (Charging Voltage 5V, Current 0.5~2A).
- The red light is on when being charged, and the blue light will be on when fully charged.
- This earpiece cannot be used while being charged.
Connections
(1) Turn on the earpiece and makes it enter pairing mode, the LED indicator keeps flashing in red and blue alternately.
(2) Active Bluetooth function on your phone(or other devices), and then search for the new device.
For iPhone, “Settings” > “Bluetooth” > “Open”
For Android phones, “Setting” > “Bluetooth” > “Search new device”
(Note: The menu contents may vary from different devices.)
(3) After connecting to “LC-B45” successfully, the LED lights will be off.
(4) Two Phones Connection
This earpiece can connect to two phones at the same time. When make it connect to phone A successfully, turn off the earpiece and the Bluetooth function on phone A. Next, turn on the earpiece again and make it connect to phone B. Keep phone B is connecting, open the Bluetooth function on phone A, choose LC-B45 and connect to it.
(Note: When two phones are connecting to the earpiece at the same time, only one of the phones can play the music through LC-B45, the earpiece cannot play the music from two phones at the same time.)
Product Specifications
- Bluetooth Version: V5.0
- Support Protocol: Headset, HFP, A2DP, AVRCP
- Talk Time: about 20 hours
- Shutdown Standby Time: about 180 days
- Charging Time: about 2 hours
- Music Playback Time: about 24 hours
- Transmission Distance: about 49.2 feet/15 meters (open space)
- Previous or Next Song Selection
- Support Microphone Mute Function
- Built-in Dual Microphones
11. Charging Port: Type-C - Can display battery level on iPhone/most Android phones
- Two mobile phones can be connected at the same time
- Working Temperature: 14°F~140°F (-10°C~60°C)
Common Problems
- Low battery may cause disconnection, in order not to affect normal use, please charge the earpiece in time.
- If the earpiece fails to turn on, please try to charge it up first, and turn it on after fully charged.
- If the battery is run off or has not been used for a long time, there may be no signal lights at the beginning of charging, but the indicator will normally light up in red after a few minutes.
- No Sound from the earpiece:
——Make sure the Bluetooth earpiece has been turned on;
——Make sure the earpiece connects to the cellphone successfully.
——Make sure the effective distance of earpiece and cellphone is within 15 meters in between.
——Make sure whether you choose the Bluetooth device(LC-B45) for music playback.
——Make sure your cellphone is within a range of strong signal without external interference.
——Check whether your cellphone has been connected to other Bluetooth devices. - The model of this earpiece can not be searched.
——Make sure the earpiece has entered pairing mode.
——There may be a program error on the earpiece and cellphone. Please reset the earpiece
( while the indicator is flashing in red and blue alternately, press the multifunctional key and volume up “+” key at the same time for 6 seconds to restore the earpiece to its default setting.) or contact the manufacturer to repair it. - No sound can be heard from the earpiece when in a call.
——Make sure you choose the LC-B45 for audio in/out when in a call, but not the speaker on your cellphone.
——Make sure your cellphone has not connected to other Bluetooth devices - If the ear hook is detached or loosened, just press it back to continue using it.
Safety Notes
- Using non-original provided accessories may result in low performance, damage to the body, or short circuits, and all these are not covered by warranty.
- Disassembling personally may damage the earpiece and this is not covered by warranty.
- Do not use the earpiece in a dusty environment.
- Please clean the earpiece with a clean, soft, and dry cloth.
- Please keep the earpiece in its original packaging when not in use.
- Do not let your children play with the earpiece. They may be injured or damage the earpiece.
- Do not put the earpiece in a hot or cold environment, otherwise, it may be temporarily unavailable for use. The normal use temperature is between 14~140(-10°~60°).
This device complies with part 15 of the FCC Rules. Operation is subject to the following two conditions: (1) this device may not cause harmful interference, and (2) this device must accept any interference received, including interference that may cause undesired operation. Any changes or modifications not expressly approved by the party responsible for compliance could void the user’s authority to operate the equipment.
NOTE: This equipment has been tested and found to comply with the limits for a Class B digital device, pursuant to Part 15 of the FCC Rules. These limits are designed to provide reasonable protection against harmful interference in a residential installation. This equipment generates, uses and can radiate radio frequency energy and, if not installed and used in accordance with the instructions, may cause harmful interference to radio communications. However, there is no guarantee that interference will not occur in a particular installation. If this equipment does cause harmful interference to radio or television reception, which can be determined by turning the equipment off and on, the user is encouraged to try to correct the interference by one or more of the following measures:
— Reorient or relocate the receiving antenna.
— Increase the separation between the equipment and receiver.
— Connect the equipment into an outlet on a circuit different from that to which the receiver is connected.
— Consult the dealer or an experienced radio/TV technician for help.
The device has been evaluated to meet general RF exposure requirements. The device can be used in portable exposure conditions without restriction FCC ID: 2A373-LC-B45



















