atmosphera 157166MOD Baya Chair





IMPORTANT : Retain for future reference, read carefully.
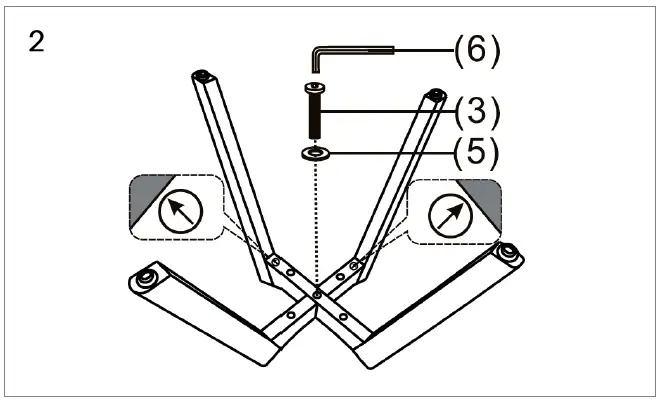
Installation : To be assembled and / or installed by an adult.
Use : Product for domestic use. Indoor use only.
Maintenance and cleaning : Wipe with a damp cloth. Finish by wiping with a dry cloth.


















