FRESH-AIRE UV UV APCO Family Of Whole-house Air Purifiers
APCO® Whole-house air purifiers reduce odor-causing and potentially toxic VOCs, as well as biological contaminants including mold, bacteria, viruses, and allergens in indoor air. This award-winning technology uses a unique combination of UVC light and activated carbon cells to clean the air.
IMPORTANT!
- Only qualified technicians should install this product*
- Install in accordance with relevant building codes
- Read instructions carefully including safety warnings
WARNING!
PROTECT EYES FROM UV LIGHT TURN OFF THE UNIT OR DISCONNECT BEFORE SERVICING
Installation of this product by anyone other than licensed HVAC or electrical contractors voids the warranty. © 2022 APCO-COMBINED-MAN 041422.
Standard APCO Installation
APCO is usually installed on the supply side duct just above the air system (upstream of a humidifier). It can also be installed on the return side if necessary. Orient so the air flows past the UV light first before the carbon. Position the unit so the UV light does not shine directly on non-uv-resistant materials (filters, humidifiers, flex duct, etc.). Ideally the UV light shines on the coil. For dual systems select a remote UV light location that shines on the greatest surface area or the area with the most microbial growth. Refer to the Optional Remote UV Light section for installation instructions.
Typical Installation Locations
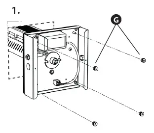
Standard APCO Parts List
Small Parts
Optional 2nd UV Light (Dual)
Standard APCO Duct Mounting
- Use gasket D to trace cut-line onto duct.
- Cut a hole in sheet metal or duct board. IMPORTANT! Remove and dispose of cut-out pieces of material.
- For sheet metal ducts secure mounting plate C to sheet metal ducts using self-tapping screws E .*
- Remove paper backing from one side of the gasket and fix the gasket to the back of the mounting plate.
- Remove paper backing from the back of the gasket then fix the mounting plate and gasket to the duct.
- Bend mounting plate flanges around the edges of the hole to secure the mounting plate. For duct board use tape on the edges of the mounting plate for air leaks and additional hold.


To install without a backing plate use (4) self-tapping screws.
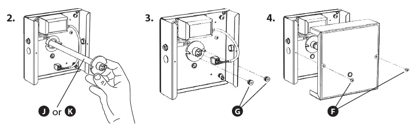
Standard APCO Power Unit & UV Lamp Mounting
- Fit the APCO® Main Unit through a hole in the duct. If attaching directly to a metal duct use (4) Self-tapping Screws. If the Backing Plate is used fit the unit over the threaded posts and use (4) Quick Nuts G to secure it.
- Insert UV Lamp.
- Mount UV Lamp using (2) Quick Nuts and attach the lamp connector (be sure to align the four connector pins).
- Attach the cover with machine screws F.


Standard APCO Connecting to Power
IMPORTANT
Before connecting to power confirm which APCO model is being installed. Turn off the main power source before installation. Always use proper conduit fittings and terminations. Model information is printed on the Power Unit cover.
IMPORTANT! Must be wired to constant power – do not connect to blower relay.
APCO RT Installation
APCO RT is usually installed on the supply side duct just above the air system (upstream of a humidifier). It can also be installed on the return side if necessary. Orient so the air flows past the UV light first before the carbon. Position the unit so the UV light does not shine directly on non-uv-resistant materials (filters, humidifiers, flex duct, etc.). Ideally the UV light shines on the coil. For dual systems select a remote UV light location that shines on the greatest surface area or the area with the most microbial growth. Refer to the Optional Remote UV Light section for installation instructions.
Typical Installation Locations
APCO RT Parts List
Small Parts
Power Supply
Optional 2nd UV Light (Dual)
APCO RT Duct Mounting
- Use gasket D to trace cut-line onto duct.
- Cut a hole in sheet metal or duct board. IMPORTANT! Remove and dispose of cut-out pieces of material.
- For sheet metal ducts secure mounting plate C to sheet metal ducts using self-tapping screws E .*
- Remove paper backing from one side of the gasket and fix the gasket to the back of the mounting plate.
- Remove paper backing from the back of the gasket then fix the mounting plate and gasket to the duct.
- Bend mounting plate flanges around the edges of the hole to secure the mounting plate. For duct board use tape on the edges of the mounting plate for air leaks and additional hold.


To install without a backing plate use (4) self-tapping screws.
APCO RT Power Unit & UV Lamp Mounting
- Fit the APCO® RT Main Unit through a hole in the duct. If attaching directly to a metal duct use (4) Self-tapping Screws. If the Backing Plate is used fit the unit over the threaded posts and use (4) Quick Nuts to secure it.
- Insert UV Lamp.
- Mount UV Lamp using (2) Quick Nuts and attach the lamp connector (be sure to align the four connector pins).
- Attach the cover with machine screws.


Connecting APCO RT to Power
IMPORTANT
Before connecting to power confirm which APCO® RT model is being installed. Turn off the main power source before installation. Model information is printed on the Power Unit cover.
IMPORTANT! Must be wired to constant power – do not connect to blower relay.
APCO MAG Installation
APCO MAG is usually installed inside the central air handling system. Orient so the air flows past the UV light first before the carbon. Position the unit so the UV light does not shine directly on non-uv-resistant materials (filters, humidifiers, flex ducts, etc.). Ideally the UV light shines on the coil. For dual systems select a remote UV light location that shines on the greatest surface area or the area with the most microbial growth. Refer to the Optional Remote UV Light section for installation instructions.
Typical Installation Locations
APCO MAG Parts List
Power Supply
Optional 2nd UV Light (Dual)
APCO MAG Surface Installation
- Determine the optimal position for placement of the MAG unit inside the air system.
- Use a utility knife to cut a slit in the insulation on the interior surface.
- Place the magnetic mounting bracket directly on the metal surface or remove the magnet and hard-mount the bracket using the self-tapping screws provided. Use foil tape to close the cut in the insulation.
- Mount the UV Lamp to the MAG unit as shown using 2 quick nuts.
- Connect lamp: make sure the flanges are aligned and then push the connectors firmly together. A tight connection ensures a proper water-resistant seal.


Important! do not install the mounting magnet within 12” of digital signal devices as this may cause interference.
Connecting APCO MAG to Power
IMPORTANT
Before connecting to power confirm which APCO MAG model is being installed. Turn off the main power source before installation. Model information is printed on the Power Unit cover.
IMPORTANT! Must be wired to constant power – do not connect to blower relay.
Remote UV Light Installation (Dual Systems)
APCO Dual systems (Standard, RT, Mag) include a second, remote-mounted UV light for additional HVAC disinfection, usually at the coil. Dual systems include a second power supply for the remote UV lamp. To add a second UV light to an APCO system that is not a dual purchase an additional UV light with its own power supply.
WARNING
PROTECT EYES FROM UV LIGHT TURN OFF THE UNIT OR DISCONNECT BEFORE SERVICING.
IMPORTANT!
- APCO Dual lamps are wired in series – both must be connected for lamps to light
- Only qualified technicians should install this product
- Install in accordance with relevant building codes
- Read instructions carefully including safety warnings

APCO Standard has an internal power supply for the second lamp. APCO RT & MAG have external power supplies with a cable for the second lamp.
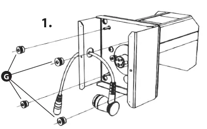
Remote UV Surface Installation
- Determine the optimal position for placement of the UV lamp.
- Use a utility knife to cut a slit in the insulation on the interior surface.
- Place the magnetic “Z” bracket directly on the metal surface or remove the magnet and hard-mount the bracket using the self-tapping screws provided. Use foil tape to close the cut in the insulation.
- Use plastic quick-nuts to attach the UV lamp to the “Z” bracket as shown.


Important:
some materials inside the air system (including filter media, flex duct, wiring etc.) may not be UV light resistant. Use the optional UV shield (part #TUV-SHIELD-LPC) or cover the materials with reflective tape.
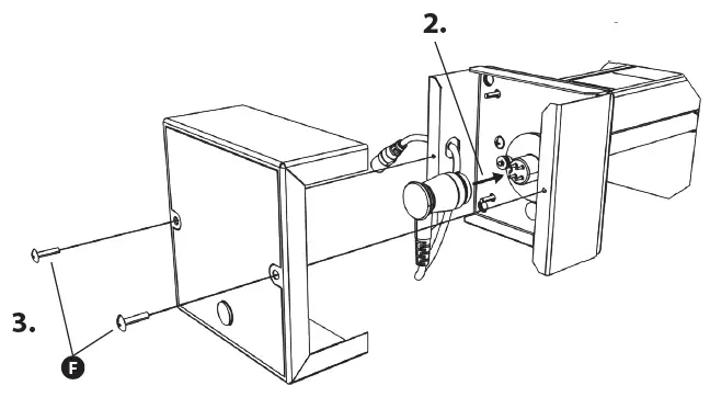
Coil “A” plate or Duct Installation
- Snap the “Z” bracket apart by bending.
- Drill a 1” hole in the “A”-plate or duct then attach the smaller piece of the bracket using the self-tapping screws.
- Insert the UV lamp into the hole then use the plastic quick-nuts to attach the UV lamp to the “Z” bracket as shown.

Remote UV Configuration
- Find a suitable location on the outside of the duct-work near the UV Lamp installation and apply the Fresh-Aire UV® warning/lamp replacement sticker
- Drill a ½” hole through the orange circle on the sticker. Press the UV safety viewport into the hole.
- Connect lamp: make sure the flanges are aligned and then push the connectors firmly together. A tight connection ensures a proper water-resistant seal.
- Turn on the power and use the sight glass to confirm that the UV Lamp is operating.

Lamp Replacement
Germicidal UV lamps need to be replaced periodically. Systems will include one-year (TUVL-1xx), or two-year (TUVL-2xx) UVC lamps.
Note: UV lamps will continue to emit visible light but they lose germicidal effectiveness over time. One-year and two-year lamps are interchangeable, you can upgrade to a two-year lamp with your existing power supply.
CAUTION!
UV lamps contain small amounts of mercury. dispose of lamps in accordance with local environmental regulations. For more information visit www.lamprecycle.org Note: Use of replacement UV lamps other than Fresh-Aire UV® voids warranty.
Manufacturer’s Warranty
This warranty supersedes and replaces any warranty statements orally made by the Sales Person, Distributor or Dealer or contained in the written instructions or other Brochures or informational documents in relation to this product. This warranty gives you specific legal rights, and you may also have other rights which vary from State to State.
What Does This Warranty Cover?
This lifetime limited manufacturer warranty covers any defects or malfunctions in material and workmanship under normal use and service when operated and maintained in strict accordance with the manufacturer’s instructions for the Lifetime of the equipment.
How Long Does The Coverage Last?
Power Supply: For as long as you own the real property where the product is installed. 2) TUVL-1XX Series Ultraviolet Lamp is warranted for germicidal output for one year from the date of installation. 3) TUVL-2XX Series Ultraviolet Lamp is warranted for germicidal output for two (2) years from the date of installation. This warranty is not transferable.
What Will Triatomic Environmental, Inc. Do?
Triatomic Environmental, Inc. will replace any defective or malfunctioning part at no charge. You must pay any labor charges and shipping charges of a defective product to our warranty department.
What Does This Warranty Not Cover? THIS PRODUCT IS NOT INTENDED TO BE PURCHASED AND INSTALLED BY UNLICENSED HVAC OR ELECTRICAL CONTRACTORS. This warranty does not cover products or parts purchased from any source other than licensed HVAC or electrical contractors. This warranty does not cover parts installed by unlicensed HVAC or electrical contractors. This warranty does not cover parts damaged as a result of misuse, abuse, or any use other than its intended use, accident, acts of god, neglect, or improper operation, maintenance, installation, modification, or adjustments. Triatomic Environmental, Inc. shall have no responsibility for charges incurred by the customer for the installation or removal of warranted items. This warranty does not cover parts or equipment used with the Fresh-Aire UV system that are not manufactured by Triatomic Environmental, Inc.
This warranty shall be void if UV lamps from manufacturers other than Triatomic Environmental, Inc. are used with this equipment.
Consequential and incidental damages are not recoverable under this warranty. The manufacturer assumes no liability for any harm, which may occur as a result of the use of the equipment herein and shall not be liable for consequential or any other damages whether or not caused by the manufacturer’s negligence or resulting from any express or implied warranty or breach thereof. Consequential damages for the purpose of this warranty shall include, but not be limited to, loss of use, income or profit, or loss of or damages to property or injury or death to persons or animals occasioned by or arising out of operation, use, the operation, installation, repair or replacement of the equipment or otherwise. Some states do not allow the exclusion or limitation of incidental or consequential damages, so the above limitation or exclusion may not apply to you.
There are no warranties that extend beyond the description of the face hereof.
How Do You Get Service?
In order to be eligible for service under this warranty, you MUST return the warranty registration card or register online at www.freshaireuv.com. If something is wrong with your product, call your installing contractor to receive a Return Merchandise Authorization (RMA) and instructions for returning the product to a licensed distributor in your area or the manufacturer. Once the product is returned, we will inspect your product and contact you within 10 business days of our receipt of the product to give the results of our inspection. If we determine that the product is covered under this warranty, we will ship to you at no additional cost a replacement part. Replacement parts may be refurbished. If we determine that the product is not covered under this warranty, or that this warranty is void, the product will be returned to your COD. There is no charge for inspection. How Does State Law Apply? This warranty gives you specific legal rights, and you may also have other rights which vary from state to state.




















































