APCO MAG15 Fresh-Aire UV Air Purifier

Product Information
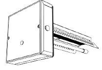
Standard APCO Installation
The APCO system is designed to reduce odors (VOCs) and biological contaminants such as mold, bacteria, viruses, and allergens in indoor air. It uses a unique combination of UVC light and activated carbon cells to clean the air. The system is installed in the duct work of the central air system and is available in different models such as MAG15, MAG11, and RT. The main unit is usually installed on the supply side duct above the air system and can also be installed on the return side if necessary. The secondary UV lamp (dual system) installation instructions are provided on page 4.
Standard APCO Parts List Small Parts
- A: Main Unit
- B: Power Cord (ER Model)
- C: Duct Mount Plate
- D: Duct Mount Gasket
- E: Self-tapping Screws
- F: Machine Screws (for cover)
- G: Quick Nut (plastic)
- H: Panel Sticker
- I: Spade Connector (SI/DI Models)
- J: UV Lamps (PART: TUVL-115 LIFE: 1 Year)
- K: UV Lamps (PART: TUVL-215 LIFE: 2 Year)
- Secondary UV Light (Dual System) – PART: TUVL-115P LIFE: 1
Year, PART: TUVL-215P LIFE: 2 Year
Product Usage Instructions
Follow these instructions to install and use the APCO system:
Step 1: Duct Mounting
- Use gasket D to trace cut-line onto duct.
- Cut hole in sheet metal or duct board. IMPORTANT! Remove and dispose of cut-out piece of material.
- For sheet metal duct secure mounting plate C to sheet metal ducts using self-tapping screws E. To install without backing plate use (4) self-tapping screws.
- Remove paper backing from one side of gasket and fix gasket to the back of the mounting plate.
- Remove paper backing from back of gasket then fix mounting plate and gasket to the duct.
- Bend mounting plate flanges around the edges of the hole to secure mounting plate. For duct board use tape on edges of mounting plate for air leaks and additional hold.
Step 2: Main Unit & UV Lamp Mounting
- Fit the Main Unit through hole in duct. If attaching directly to metal duct use (4) Self-tapping Screws. If the Backing Plate is used fit the unit over the threaded posts and use (4) Quick Nuts G to secure it.
- Insert UV Lamp.
- Mount UV Lamp using (2) Quick Nuts and attach lamp connector (be sure to align the four connector pins).
- Attach the cover with machine screws F.
Step 3: Connecting to Power
Before connecting to power, confirm which model is being installed. Turn off main power source before installation. Always use proper conduit fittings and terminations. Model information is printed on the Power Unit cover.
APCO systems reduce odors (VOCs) and biological contaminants such as mold, bacteria, viruses, and allergens in indoor air. The system is installed in the duct work of the central air system. The award-winning design of APCO uses a unique combination of UVC light and activated carbon cells to clean the air.

IMPORTANT! · Only qualified technicians should install this product* · Install in accordance with relevant building codes · Read instructions carefully including safety warnings
Installation of this product by anyone other than licensed HVAC or electrical contractors voids warranty. © Fresh-Aire UV APCO-COMBINED-MAN 080422
Standard APCO Installation

The main unit is usually installed on the supply side duct just above the air system (upstream of a humidifier). It can also be installed on the return side if necessary.
Orient so the air flows past the UV light first before the carbon. Position the unit so the UV light does not shine directly on non-uv-resistant materials (filters, humidifiers, flex duct, etc.). Ideally the UV light shines on the coil.
For dual systems select a remote UV light location that shines on the greatest surface area or the area with the most microbial growth. Secondary UV Light installation instructions are on page 4.
Typical Installation Locations

Standard APCO Parts List

Secondary UV Light (Dual System)
Instructions on page 4

STEP 1: Duct Mounting

- Use gasket D to trace cut-line onto duct.
- Cut hole in sheet metal or duct board.
IMPORTANT! Remove and dispose of cut-out piece of material. - For sheet metal duct secure mounting plate C to sheet metal ducts using self-tapping screws E .*
- Remove paper backing from one side of gasket and fix gasket to the back of the mounting plate.
- Remove paper backing from back of gasket then fix mounting plate and gasket to the duct.
- Bend mounting plate flanges around the edges of the hole to secure mounting plate. For duct board use tape on edges of mounting plate for air leaks and additional hold.

To install without backing plate use (4) self-tapping screws.
STEP 2: Main Unit & UV Lamp Mounting
- Fit the Main Unit through hole in duct. If attaching directly to metal duct use (4) Self-tapping Screws.
If the Backing Plate is used fit the unit over the threaded posts and use (4) Quick Nuts G to secure it. - Insert UV Lamp.
- Mount UV Lamp using (2) Quick Nuts and attach lamp connector (be sure to align the four connector pins).
- Attach the cover with machine screws F .

STEP 3: Connecting to Power
IMPORTANT Before connecting to power confirm which model is being installed. Turn off main power source before installation. Always use proper conduit fittings and terminations. Model information is printed on the Power Unit cover.
IMPORTANT! Must be wired to constant power – do not connect to blower relay.

Auto-sensing power supply adjusts to 110-277VAC
APCO RT Installation

The RT main unit is usually installed on the supply side duct just above the air system (upstream of a humidifier). It can also be installed on the return side if necessary.
Orient so the air flows past the UV light first before the carbon. Position the unit so the UV light does not shine directly on non-uvresistant materials (filters, humidifiers, flex duct, etc.). Ideally the UV light shines on the coil.
For dual systems select a remote UV light location that shines on the greatest surface area or the area with the most microbial growth. Secondary UV Light installation instructions are on page 4
Typical Installation Locations

APCO RT Parts List

Secondary UV Light (Dual System)
STEP 1: RT Duct Mounting

- Use gasket D to trace cut-line onto duct.
- Cut hole in sheet metal or duct board.
- For sheet metal duct secure mounting plate C to Nuts to secure it.Remove paper backing from one side of gasket and fix gasket to the back of the mounting plate.
- Remove paper backing from back of gasket then fix connector pins).
- Remove paper backing from back of gasket then fix mounting plate and gasket to the duct.
- Bend mounting plate flanges around the edges of the hole to secure mounting plate. For duct board use tape on edges of mounting plate for air leaks and additional hold.
To install without backing plate use (4) self-tapping screws.
STEP 2: RT Main Unit & UV Lamp Mounting
- Fit the RT Main Unit through hole in duct. If attaching directly to metal duct use (4) Self-tapping Screws. If the Backing Plate is used fit the unit over the threaded posts and use (4) Quick sheet metal ducts using self-tapping screws E .*
- Insert UV Lamp.
- Mount UV Lamp using (2) Quick Nuts and attach lamp connector (be sure to align the four connector pins).
- Attach the cover with machine screws.

STEP 3: Connecting to Power
IMPORTANT
Before connecting to power confirm which model is being installed. Turn off main power source before installation. Always use proper conduit fittings and terminations. Model information is printed on the Power Unit cover.
IMPORTANT! Must be wired to constant power – do not connect to blower relay.

Auto-sensing power supply adjusts to 110-277VAC
APCO MAG Installation

The MAG main unit is usually installed inside the central air handling system. Orient so the air flows past the UV light first before the carbon. Position the unit so the UV light does not shine directly on non-uv-resistant materials (filters, humidifiers, flex duct, etc.). Ideally the UV light shines on the coil.
For dual systems select a remote UV light location that shines on the greatest surface area or the area with the most microbial growth. Secondary UV Light installation instructions are on page 4.
Typical Installation Locations

APCO MAG Parts List

Secondary UV Light (Dual System)
Instructions on page 4

STEP 1: MAG Surface Installation
- Determine the optimal position for placement of MAG unit inside the air system.
- Use a utility knife to cut a slit in the insulation on the interior surface.
- Place the magnetic mounting bracket directly on the metal surface or remove the magnet and hard-mount the bracket using the self-tapping screws provided. Use foil tape to close the cut in the insulation.
- Mount the UV Lamp to the MAG unit as shown using 2 quick nuts.
- Connect lamp: make sure the flanges are aligned and then push the connectors firmly together. A tight connection ensures a proper water resistant seal.


Important! do not install the mounting magnet within 12″ of digital signal devices as this may cause interference.
STEP 2: Connecting APCO MAG to Power
IMPORTANT
Before connecting to power confirm which MAG model is being installed. Turn off main power source before installation. Model information is printed on the Power Unit cover.
IMPORTANT! Must be wired to constant power – do not connect to blower relay.

Auto-sensing power supply adjusts to 110-277VAC
Secondary UV Light Installation Instructions (Dual Systems)
The Secondary UV Light (included with dual air treatment systems) is typically installed at the coil for enhanced germicidal effectiveness, reduced system maintenance, and improved indoor air quality.

Secondary UV Light Parts

IMPORTANT!
- Dual System lamps are wired in series – connect both for lamps to light
- Only qualified technicians should install this product
- Install in accordance with relevant building codes
- Read instructions carefully including safety warnings
Installation Notes
Before installing the Secondary UV Light it is necessary to determine the optimal mounting location inside the air system. First, look for the area with the heaviest mold growth. Also consider a location that will allow the germicidal UV Light to shine on the greatest surface area.
Some typical mounting locations:
- Across top of coils
- Coil “A” plate
- Return-side duct
WARNING
PROTECT EYES FROM UV LIGHT TURN OFF UNIT OR DISCONNECT BEFORE SERVICING
Important: Some materials inside the air system (including filter media, flex duct, wiring etc) may not be UV light resistant.
Use the optional UV shield (part #TUV-SHIELD-LPC) or cover the materials with reflective tape.

Air Handler Interior Surface Installation

- Determine the optimal position for placement of the UV Lamp.
- Use a utility knife to cut a slit in the insulation on the interior surface.
- Place the magnetic bracket directly on the metal surface or remove the magnet and hard-mount the bracket using the Self-tapping Screws provided. Use foil tape to close the cut in the insulation.
- Use plastic Quick-Nuts to attach the UV lamp to the bracket as shown.

Coil “A” plate or Duct Installation
- Snap the magnet bracket apart by bending.
- Drill a 1” hole in the “A”-plate or duct then attach the smaller piece of the bracket with Self-tapping Screws.
- Insert the UV lamp into the hole then use the plastic Quick-Nuts to attach the UV Lamp to the magnet bracket as shown.
Remote UV Light Configuration
IMPORTANT! Only Dual System models have the electrical capacity and attached cable to power the Secondary UV Light.
- Find the secondary lamp cable on the right underside of the Dual System Main Unit.
- Drill a 1” hole in the air system housing then pass the lamp cable through the hole. The hole is then sealed with the rubber grommet to minimize air leakage.

Sight Glass Installation
- Apply the warning/lamp replacement sticker S on or near the HVAC system.
- Drill a ½” hole through the circle on the sticker. Press the sight glass T into hole.
- Turn on the power and use the sight glass to confirm that the UV Lamp is operating.

Lamp Replacement
Replace the secondary UV lamp every 1 or 2 years depending on model.
Note: UV lamps may continue to emit visible light after three years, however, germicidal effectiveness falls off over time and will quickly drop to near zero after three years.

CAUTION!
UV lamps contain small amounts of mercury – dispose of lamps in accordance with local environmental regulations. For more information visit www.lamprecycle.org
Note: Note: Use of replacement UV lamps other than TUVL- 315, TUVL- 215, or TUVL- 115 voids warranty. Installation of this product by anyone other than licensed HVAC or electrical contractors voids warranty. © Fresh-Aire UV APCO-COMBINED-MAN 080422


















