G DE GIH 2000 Infrared Heater

Product Information
- Product Name: Infrared Stand Heater
- Model: GIH 2000
- Part Number: 85179
Product Usage Instructions
- Before starting the machine, carefully read the instructions provided in the user manual.
- Make sure to assemble all the components correctly as per the provided device overview.
- Attach the heating head housing to the tube holder using the locking knob.
- Use the height adjustment lock to adjust the height of the stand, if needed.
- Connect the power cable to the device and secure it using the cable fixing mechanism.
- To turn on/off the heater, use the pull switch located on the device.
- Refer to the heating level indicator to select the desired heating level.
- For additional stability, you can use the provided screws and washers to secure the stand to the floor.
- Ensure that all connections are properly tightened before operating the heater.
- Follow all safety guidelines mentioned in the user manual during operation and maintenance.
Please read the instructions carefully before starting the machine.
This appliance may only be used outdoors and away from combustible materials!.
Scope of delivery

Device overview
| EN | |
| 1 | Heating head housing |
| 2 | Locking knob |
| 3 | Tube holder |
| 4 | Heating level indicator |
| 5 | Pull switch heating levels/off |
| 6 | Height adjustment lock (thread) |
| 7 | Upper tube (with extension) |
| 8 | 3 x screw (M5x8) |
| 9 | Middle tube |
| 10 | Lower tube |
| 11 | Cable fixing |
| 12 | Screw (M5x15) |
| 13 | Power cable |
| 14 | Screw cover Stand |
| 15 | Stand |
| 16 | Washer |
| 17 | Screw |
Technical Data
| Infrared stand heater | GIH 2000 |
| Article no. | 85179 |
| Mains connection | 230 V~, 50 Hz |
| Heat output | 2 kW |
| Number of heating stages | 3 |
| Heating stages | 0,65 / 1,35 / 2,0 kW |
| Max. power consumption | 2 kW |
| Rated current consumption | 8,7 A |
| Length of connection cable | 260 cm |
| Type of plug | CEE 7/7 (Protective contact hybrid plug) |
| Overheating protection | 60 °C |
| Protection type/class | IPX4 / I |
| Noise value specification LWA at 1m distance | – |
| Dimensions L x W x H | 510 x 470 x 2100 mm |
| Net/gross weight | 8,2 / 10,8 KG |
Security
Explanation of symbols
![]() | Attention Danger! Safety instructions marked with this symbol must be observed. Failure to do so may result in serious damage to health and immense material damage. |
![]() | Warning of hot surfaces! Risk of burns! |
![]() | Warning of electrical voltage |
![]() | Warning: To prevent the heater from overheating, do not cover the heater. |
![]() | Do not use the device indoors. |
![]() | To reduce the risk of injury, read the operating instructions. |
![]() | Electrical or electronic equipment that is damaged and/ or needs to be disposed of must be handed in at the recycling points provided for this purpose. |
|
| European conformity mark |
Read the operating instructions carefully before commissioning/using the unit and keep them for future reference! Read all safety notes and instructions. Failure to comply with the safety information and instructions may result in serious injury and/or damage to property. Ensure that third parties also only use this product after receiving the necessary instructions.
Important safety instructions
WARNING!
This appliance can be used by children aged from 8 years and above and persons with reduced physical, sensory or mental capabilities or lack of experience and knowledge
if they have been given supervision or instruction concerning use of
the appliance in a safe way and understand the hazards involved.
Children must always be supervised so that they do not play with the appliance!
Cleaning and maintenance work must not be carried out by children without supervision.
Children aged 3 to under 8 years may only switch the appliance on and off if it is set up or installed in the intended normal operating position and they have been supervised or instructed in the safe use of the appliance and understand the hazards involved. Children aged 3 to under 8 years must not connect, adjust or clean the appliance or carry out maintenance.
Children under 3 years of age should be kept away unless they are supervised at all times.
WARNING!
To avoid overheating, the heater must not be covered.
WARNING!
The appliance must not be used in small rooms if there are people in them who are not under constant supervision and cannot leave the room independently.
CAUTION
Some parts of this product can become very hot and cause burns. Special care should be taken when children and vulnerable persons are present.
Specific safety instructions
The following basic precautions should always be observed when using electrical equipment:
The heater is not suitable for use outdoors in damp weather, in bathrooms or in other wet or humid environments.
The heater must not be located directly under a wall socket.
Never use the heater after a fall or if it shows any form of damage!
Only use the heater when it is placed on a horizontal, stable and non- combustible surface!
WARNING!
To reduce the risk of fire, combustible objects such as furniture, curtains and similar combustible materials must be at least 1m away from the air outlet! The heater must not be covered.
Do not use the heater in the immediate vicinity of a bathtub, shower or swimming pool.
This appliance is not intended for use by persons (including children) with reduced physical, sensory or mental capabilities, or lack of experience and knowledge, unless they have been given supervision or instruction concerning use of the appliance by a person responsible for their safety.
Do not connect the heater with an on/off timer or other devices that can switch the unit on automatically.
Do not leave the unit unattended when in use.
Do not use or store explosive or flammable substances (e.g. petrol, paper or paint) around the product.
Warning of electrical voltage
Always unplug the appliance when it is not in use or when cleaning it. Do not pull on the cable, as this may damage the appliance. Be careful not to damage the appliance or the cable with sharp objects or in any other way. Check the cable for damage before using the appliance.
Do not operate the unit if the mains cable or mains plug is damaged. Damaged mains cables or mains plugs must be replaced by the manufacturer, its customer service or a qualified electrician.
Warning of electrical voltage
Protect electrical parts against moisture. Never immerse electrical parts in water or other liquids during cleaning or operation to avoid electric shock. Never hold the appliance under running water.
Never use the appliance in wet rooms.
Controls must not be touched by people who are in water. Always ensure that their hands are dry before touching the controls on the unit or the mains plug for the mains connection.
Allow the unit to dry after wet cleaning and never operate it when wet.
Before storage, assembly, conversion, transport, cleaning or maintenance work, always switch off the unit and disconnect it from the power supply by pulling out the mains plug. Then allow the unit to cool down.
Make sure that no foreign objects get into the ventilation slots. You risk electric shock, fire or damage to the unit.
Do not block the ventilation slots with objects.
Keep the unit clean. The most common causes of overheating are dust or particle deposits in the unit. You must remove these deposits regularly by switching off the appliance and vacuuming the vents with a hoover.
Do not remove safety signs, labels or stickers from the appliance and keep them in legible condition.
Do not place the unit on deep pile carpets.
The units must not be installed in atmospheres containing oil, sulphur or salt.
Do not install the units in rooms with a fire hazard (e.g. woodsheds).
Never place the appliance near a gas or electric burner. The unit may only be set up outdoors!
The minimum distances must be observed.
See the following graphic.

Anti-tipper
The unit has a safety switch.
This safety switch cuts off the power as soon as the unit tips over. Furthermore, this switch prevents dangerous situations caused by overheating.
As soon as it has been set up correctly again, it switches on automatically after a few seconds.
Warning of hot surface!
Risk of burns!
If the unit is tipped over, the unit switches off automatically. Wait until the unit has cooled down before raising it.
Note
Always place the unit in a straight position to avoid malfunctions.
Behavior in an emergency
- Switch off the appliance immediately.
- In an emergency, disconnect the unit from the mains supply. So unplug the mains cable from the socket by grasping it by the mains plug.
- A defective unit must not be connected to the mains again!
Intended use
This heater may only be used outdoors. However, the socket outlet used must ALWAYS be located indoors protected from water. The appliance must not be fixed to the ground for permanent use. When using the appliance, always observe the respective local building and fire protection regulations as well as the necessary electrical fuses. This appliance may only be used as intended. The manufacturer cannot be held responsible for any damage caused by non-compliance with the provisions of the generally applicable regulations and the provisions of this manual.
The unit is primarily suitable as an auxiliary heater and is intended exclusively for floor installation.
Prohibited areas of application
The appliance is not suitable for commercial or industrial use.
Do not install the unit in rooms where there is a risk of explosion or fire.
The appliance is not intended for drying clothes or for mounting under benches or in floor ducts.
The unit must not be used for wall or ceiling mounting.
The appliance must not be placed on wet or flooded ground.
The appliance must not be used for heating vehicles.
Do not place any objects (or clothing) on the unit.
Do not use the appliance near solvents, petrol, varnishes, other highly flammable vapours or in rooms where they are stored.
The appliance must not be used in wet rooms.
Never immerse the unit in water.
No unauthorized structural changes, additions or conversions may be made to the unit.
Assembly & commissioning
Delivery
Remove the unit from the packaging and completely remove all packaging parts from the unit.
Unwind the mains cable completely and make sure that it is not damaged.
Warning Danger of suffocation!
Keep packaging parts out of the reach of children and dispose of them as soon as possible.
Note
Please have visible damage to the outer packaging confirmed by the driver of the parcel service immediately upon delivery. If transport damage is only noticed during unpacking, the parcel service must be notified in writing within 24 hours of delivery in order to hold them liable for the damage.
Assembly
Please check the scope of delivery for completeness before assembling this electric radiant heater. You will find a complete list of parts at the front of the instructions, as well as illustrations of the individual assembly steps.
Attention! Before assembling the unit, make sure that it is disconnected from the mains.
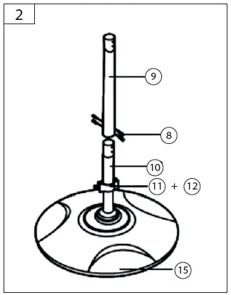
- Lift the screw cover of the stand 14 . Connect the lower tube 10 to the stand 15 by attaching the washer 16 to the stand and then tighten the screw 17 . Cover it with the screw cover 14 . (Picture 1, p. 6)

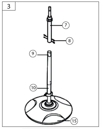
- Put the cable attachment 11 on the lower tube 10 and secure it in the desired position with the screw 12 . Loosen the screws 8 on the middle tube 9 . Screw the middle tube 9 to the lower tube 10 with 4 screws 8 . (Fig. 2, p. 6)

- Loosen the screws 8 on the upper tube 7 . Screw the upper tube 7 to the middle tube 9 with 4 screws 8 (Fig. 3, p. 6).

- Pull the extension out of the upper tube 7 and fix the thread 6 to lock its desired height setting.
Insert the upper tube 7 into the tube holder 3 of the heating head housing 1 . Tighten the locking knob 2 to secure the heater head housing 1 to the pipe. Now plug the power cable 13 into the cable attachment 11 . (Fig. 4, p. 7)
- Adjust the heating head housing 1 to the desired angle between 0° and 45°. (Fig. 5, p. 7)

Electrical connection
- Unwind the mains cable completely.
- Make sure that the unit voltage (see type plate) and mains voltage match.
- Make sure that the unit is completely switched off when you plug it in.
- Only connect the mains plug to a properly installed and fused socket outlet with earthing contact.
- Make sure that the mains cable is always routed behind the unit – never in front of it!
- The socket used must always be located in an interior protected from moisture and humidity!
Extensions of the mains cable must be selected taking into account the appliance connection power, the intended use and the cable length. Do not use multiple sockets. Do not connect any other powerful appliances to the circuit.
Make sure that extension cables are fully unwound or uncoiled.
Always check the condition of the mains cable before using the unit. If you have any doubts about the condition of the power cord, please contact the customer service.
Lay the mains cable in a place where no one can trip over it. Place the appliance so that the mains plug is accessible at all times.
Note
Odours may occur during initial operation or after a longer period of non-use.
Operation
Switch on the unit
If you have set up the unit correctly and ready for operation as described in the chapter Assembly & Commissioning, taking into account all safety instructions, you can now switch it on.
Height adjustment
To adjust the height, you must hold the heating head housing 1 while loosening the thread for locking 6 . Adjust the adjustable tube to the desired height. Screw the thread 6 tight again.
Warning!
As soon as the thread 6 is loosened, the heating head housing 1 may suddenly fall down. Therefore, always hold it firmly before and while adjusting the height. It is strongly recommended to adjust the height before each use. Make sure that the thread to lock the height adjustment is tightened again before using the appliance.
Angle adjustment
The heating head housing 1 allows angle adjustment between 0° and 45°. To do this, simply press it into the correct position.
Warning!
Never adjust the angle during operation.
Set heating level
With the pull switch 5 you can choose between heating levels 1, 2 and 3. You can read the setting on the heat level indicator 4 .
- O : Off
- Heating level 1: 0,65 kW
- Heating level 2: 1,35 kW
- Heating level 3: 2,0 kW
Switch off the unit
- Switch off the unit by setting it to 0 via the pull switch 5 .
- Pull the mains cable out of the socket by the mains plug.
- Let the unit cool down completely.
Troubleshooting
| Problem | Cause | Solution |
| Unit without function/ does not heat | Unit has no power supply | Check the socket |
| Plug in the mains plug correctly | ||
| Check house fuse | ||
| Check mains cable and plug | ||
| Unit, mains cable or mains plug is defective | Contact customer service or a specialist | |
| No heating level set | Set the heating level | |
| The anti-tip device has been triggered | Make sure that the appliance is positioned vertically and is not exposed to extreme inclination. |
Note
After all troubleshooting, maintenance and cleaning work, wait at least 5 minutes before switching the unit on again.
If the unit still does not work properly, please contact the customer service or an authorized electrician. The unit must then be checked and repaired if necessary.
Cleaning & Maintenance
Hot surface warning
Warning of electrical voltage
Before cleaning, always switch off the appliance, dis- connect the mains plug and allow the appliance to cool down.
Never place/immerse the appliance in water for cleaning as this could result in electric shock or fire.
Never touch the mains plug with wet or damp hands. Remove dust from the unit with a dry cloth.
A slightly damp cloth can be used to remove stains.
Warning of electrical voltage
Work on electrical components may only be carried out by an authorized specialist company.
Repairs and work not described in these instructions should only be carried out by qualified personnel. Only use original accessories and original spare parts.
Repairs that require opening the unit are reserved exclusively for the manufacturer or its customer service.
Always keep the appliance clean, especially the ventilation slots.
Storage
Hot surface warning
Before storage, always unplug the mains cable from the socket by grasping it by the mains plug.
Always disconnect the extension cable from the heater and store it separately.
Switch off the unit and let it cool down before storing.
Clean the unit (see chapter Cleaning) and store it in the original packaging.
Store the appliance in a well-ventilated and dry place out of the reach of children.
Store the unit protected from heat, frost, direct sunlight and dust.
Store the unit in an upright position.
Warranty
The warranty period is 24 months for consumers and begins at the time of purchase of the appliance.
The warranty only covers defects that are due to material or manufacturing faults. When claiming a defect within the meaning of the warranty, the original purchase receipt with the date of sale must be enclosed.
Improper use, e.g. overloading of the unit, use of force, damage due to external influences or foreign bodies, are excluded from the warranty. Non-observance of the operating instructions and normal wear and tear are also excluded from the warranty.
Important customer information!
Please note that a return within or even outside the warranty period should always be made in the original packaging. This measure effectively avoids unnecessary transport damage and its often contentious settlement. Only in the original box is your device optimally protected and thus a smooth processing is ensured.
Service
Do you have technical questions? A complaint? Do you need spare parts or operating instructions? On the home- page of the company Güde GmbH & Co KG (www.guede.com) in the service area we will help you quickly and unbureaucratically. Please help us to help you. In order to be able to identify your unit in the event of a complaint, we need the serial number as well as the item number and year of manufacture. You will find all these data on the type plate.
- Tel.: +49 (0) 79 04 / 700-360
- Fax: +49 (0) 79 04 / 700-51999
- E-Mail: [email protected]
Devices that are damaged and/or need to be disposed of must be handed in at the recycling points provided for this purpose.
EC-Declaration of Conformity
Translation of the EC-Declaration of Conformity
We, hereby declare the conception and construction of the below mentioned appliances correspond – at the type of construction being launched – to appropriate basic safety and hygienic requirements of EC Directives.
In case of any change to the appliance not discussed with us the Declaration expires.
Radiant heater
85179 GIH 2000
Appropriate EU Directives
2014/35/EU
1935/2004/EC
2011/65/EU & 2015/863EU
2016/425/EU (PPE)
2006/42/EC
Annex IV
Name:
No:
Notified Body
Adress:
Type Ex. Cert.-No.:
97/68/EC & 2016/1628/EU
2000/14/E2005/88/EC
Method of compliance assessment
Annex VI
Managing Director
Authorized to compile the technical file
Harmonised standards used
EN 60335-2-30:2009+A11:2012+A1:2020+A12:2020
EN 60335-1:2012+A11:2014+A13:2017+A1:2019+A14:2019+A2:2019+A15:2021
EN 62233:2008
AfPS GS 2019:01 PAK EK1 309-06
EN 55014-1:2017
EN 55014-2:2015
EN 61000-3-3:2013
EN IEC 61000-3-2:2019
Guaranteed sound power level
LWA dB (A
Measured sound power level
LWA dB (A)
GÜDE GmbH & Co. KG
Birkichstrasse 6
74549 Wolpertshausen
Deutschland
Tel.: +49-(0)7904/700-0
Fax.: +49-(0)7904/700-250
eMail: [email protected]
www.guede.com






























