
INFRARED HEATER
THE USER MANUAL AND WARRANTY CERTIFICATE

Model: JHB-1500R
If you have any problem, please do not hesitate to contact us via
email:p[email protected]
We will respond to you at our earliest time(within 24h)! Your satisfaction is our greatest pursuit!
Warm regards
WARNING!
PLEASE DO NOT USE THIS PRODUCT IN THE VERTICAL POSITION
Distinguished Customer,
This manual has been designed for our Infrared Line, Infrared Star, and Infrared U K-Line models.
You have purchased a high-quality, efficient, and original Infrared Heater.
We would like to express our gratitude to you for your appropriate choice and confidence in our company. Please read this manual thoroughly in order to attain sustainable satisfaction with your heater.
Appropriate installation, operation, and maintenance are of great importance for the security of you and of those who are to benefit from the heater.
The difference between Infrared Classic, Infrared Line, and Infrared Star models is the duration of lives of the filaments employed.
Please keep this manual in a safe place for future reference and urgent needs.
We wish you to enjoy your new Infrared Heater for better days and times.
All Infrared Products have CE/GS/EMC/ETL/ROHS certificates.
Safety
2.1 Safety Instructions (A+B)
A-Electrical Connection Safety
- Check whether your appliance and power cord are damaged before operating your appliance.
- Check whether there is any crack, disjoint, or scratch on the filament (heating tube). If any, contact your authorized technical service.
- If your appliance or power cord is damaged, do not operate your appliance and return it to your technical service.
- Make sure that the main electricity circuit is 220-240V and 110-120V, 50-60Hz, and the connection is fused.
- Check the safety of the network. The fuse must be 25A.
- Do not use your infrared heater together with another appliance plugged to the same multiple sockets or connected to the same fuse.
- Use your appliance with a properly earthed plug.
- The earthed plug must fall outside the heating field and hot surface.
- The power cord must not be left on or around the frame of your infrared appliance.
- Unplug your appliance when you won’t operate it for the long term or will conduct cleaning or maintenance.
- The damaged heater glass must be exchanged.
- If the cable of the heater should be damaged, this may be replaced only by the authorized service.
- It has to be notified that the mounting in the bath must be so that the persons in the bath can not reach the controls.
- It has to be notified that the product has to be installed at a dry location and may not be wet.
B-Safe distances required for installation on the wall, high temperature, and fire protection - Attention! The appliance must only be operated in a horizontal position with max±15°slope. In case of operations in angels larger than 5°in in a horizontal position or of vertical operations, the heating loop wire may fall into disuse shortly.
- Never install your appliance on a combustible surface (carton etc.)
The distance of your appliance from the ground is to min 1.8 m (6 feet). - The distance of your appliance from the ceiling is to be min 0.7 m (2.5 feet).
- The distance of your appliance from the living beings is to be min 1 m (3.5 feet).
- The distance of the heating area of your appliance from the materials such as wood, carton, cloth, etc., must be min 1 m (3.5 feet).
- Do not cover your appliance and do not hang any clothing over the heater or do not place any clothing on or near the appliance.
- Do not stick anything into the protective grid.
- Do not make use of your heater to light up cigarettes or similar materials.
- Supervision is needed when this product is used anywhere near children. The appliance is not intended for use by children or other persons without assistance or supervision if their physical, sensory or mental capabilities prevent them from using it safely.
- Risk of Fire-keep combustible material such as furniture, papers, clothes, and curtains at least 0.9 m (3 feet) from the front of the heater and away from the sides and rear.
Warning-TO REDUCE THE RISK OF FIRE
1) Do not place any objects such as furniture, papers, clothes, and curtains at least 0.9m
(3 feet) from the front of the heater and away from the sides and rear when the heater is plugged in.
2) Do not place the heater near a bed because objects such as pillows or blankets can fall off the bed and be ignited by the heater.
3) Always unplug the heater if it is not being used.
4) Avoid the use of an extension cord because the extension cord may overheat and cause a risk of fire. However, if you have to use an extension cord, the cord shall be
14 AWG minimum size and rated not less than 2000 watts.
5) Do not operate within 7.6 m (25 feet) of flammable material. - Never block the front grill of the heater.
- The heater is not suitable for hazardous locations.
Never attempt to service the heater without disconnecting its power source.
C-Cleaning and Maintenance Instructions
- Unplug your heater first.
![]() Never pull your power cable to unplug your heater | ![]() Unplug power cable |
Take out the front grid to clean the reflector (reflecting mirror) and the filament and apply the instructions on page 15.
D-Repair and Service (page 16)
- Attention! Only technical services and persons authorized by professional maintenance staff may serve, repair, and replace the parts of this heater.
Distinguished Customer:
Please read safety instructions carefully for the security of you, your family, and your belongings before operating your appliance.
Installation
3.1 Installation Instructions
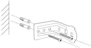
There are 4 brackets and fasteners used with the heater. Furthermore, in the canal of the backside of the heater, there are 4 square fastener washers 25×25mm.
- Measure the installation position of the heater on the wall and drill holes at an appropriate distance on the wall parallel to the ground. (At least 1.8 m from the floor and at least 0.5 m from the ceiling).

- Two brackets are fastened with the help of fasteners.

- Relieve the four 25×25mm square fastener washers in the canal on the back of the heater and fasten 2 brackets to the canal of the backside of the heater with the help of screws. The screws on the back of the heater should not be tightened too tightly. You can move them until they are aligned with the wall.


- Align the bracket of the heater with the bracket on the wall.

- Join the brackets on the heater with the brackets, fastened on the wall, with help of figured screw-nuts. Install the heater under the necessary angle (in the direction of the area being heated).

- You could loosen the screws connecting the heater bracket to the wall bracket to change the best Angle of heating. Then retighten them.

- Electric wiring for the heater has to be done by a qualified specialist.
Using steps
Step 1:Connect the power line and the power strip.
Step 2:Turn on the side heater switch.

Step 3:Turn on the main power switch
, which is on standby. the digital screen shows P1, the temperature reaches the first gear.

Step 4:Touch Switch Diagram Case
, the digital screen shows P2, the temperature reaches the second gear.

Step 5:Touch Switch Diagram Case
, the digital screen shows P3, the temperature reaches the third gear.

Step 6: Turn on the timer next to the power switch, After the function is turned on, the touch time can be adjusted at will for 1-24 hours to stop at a fixed time. The digital screen shows 0.1 for 1 hour and 0.2 for 2 hours.

Application Fields
Install the heater strict in horizontal position i.e.
PARALLEL TO FLOOR

Direct the heater the APPROPRIATE ANGLE
Specifications
| Voltage | 110-120V~ |
| Frequency | 60Hz |
| Electric power(W) | 1500W |
| Product size | 690*80*180mm |
| Product weight | 2.1kg |
Operating Instructions
7.1 Definitions of the Buttons on the Remote Control
The functions of the heater may be controlled via the buttons on your remote control and LED screen. You may also control some of the functions of your heater through the buttons on the front side of the heater.
Remote Control

1. On / Off
Switches on or off the heater or stands it by.
2. P1
After turning on the heater, you can choose low heating.
3. P2
After turning on the heater, you can choose moderate heating.
4. P3
After turning on the heater, you can choose high heating.
5. Time
Adjust the timer function.
Warning!
Insert the batteries of your remote control.
Notice:
1- Replace the old batteries with the same type of batteries. Otherwise, your heater may not function well.
2- Pull out the batteries in case of long terms of disuse to prevent leakage which may impair your remote control.
7.2 Operation of the Remote Control
- Turn on the power, the buzzer on the products will beep once, the digital screen and the indicator is no show. At this time, press the On / Off button to make it in stand-by mode.
- Press the function button to choose the power level. P1 indicator appears on the screen, and the indicator flashes three times, indicating that the appliance is in low-grade mode. Press the function button again to mid-grade, the buzzer will beep once, the P2 indicator appears on the screen, and the indicator flashes three times, indicating that the appliance is in mid-grade mode. Press the function button again to high-grade, the beeper will beep once, the P3 indicator appears on the screen, and the indicator flashes three times, indicating that the appliance is in high-grade mode. Press the function button again, you can choose low, medium, and high gear. Press the ON / OFF button on the remote control or the heater itself to switch off the heater.
- In standby mode, press the timer button, the appliance can set time from 1 to 24 hours. After setting the time, the indicator next to the digital tube will light up, which means that the appliance has been selected timer function. “0” indicates time not set.
- When the appliance is on working, the digital screen always shows the power state (P1-P2-P3). The timer setting, when the indicator lights up, means that the machine has been set a timer function from 1 to 24 hours. To view the regular time, press the timer button, the appearing time is the present setting time, at this time the indicator also flashes three times continuously, indicating that the appliance enters into the timer setting state.
7.3 Manual Operation

Control through the main module on the heater:
1. Control through the main module on the heater:
The 1st digit on the screen illustrates the P symbol while the 2nd digit illustrates the power level mode from 1 to 3.
2. After pressing the ON / OFF button, the power level mode (P1, P2, P3)can be adjusted through the buttons on the switch on the heater. Continuously press the function button, “Stand-by —Low-grade—Mid-grade—High-grade—Stand-by” appears on the screen as a circulation.
3. Press the timer button to make the timed hours appear on the heater screen.
Cleaning and Maintenance Instructions
Maintenance
Attention! Careful and regular maintenance of Infrared Heater considering our instructions assume great importance so as to attain a long and efficient operation of your appliance.
- Check the filthiness of the Reflector and IR-Filament at least once a month. If necessary, apply cleaning and maintenance instructions.
- The number of checks may be increased considering the amount of dust in the environment.
- Check the deformation of the Reflector, Wire, and Frame visually while cleaning the appliance. In case of any deformation, consult your technical service.
- Check the power cord and plug visually while cleaning the appliance. In case of any deformation, consult your technical services.
- It is recommended to change the reflector every 2 years for the purpose of more efficient operation of your appliance.

Cleaning
Attention! Regular and careful cleaning helps your heater operate for longer years and more efficiently.
- Unplug your power cord for your safety before cleaning your appliance.
- Press the grid wire of the heater and then remove it.
- Make sure that the power is off for your safety. Power cord plug must be unplugged.
- The reflector and filament must be cleaned with a soft cloth, a smooth brush, or cool or dry air. The cloth may be damp but never too wet and the cleaner should not include any chemicals.
- Refrain from using cleaning material likely to damage the reflector (cleanser etc.).
- Put the grid wire back on the heater and press the grid wire to fit it in.
Technical Service
Attention!
Only technical services and professional maintenance personnel may serve, repair, and replace the spare parts of this heater.
Points to be considered before shipping the product to the technical service:
- Make sure that the thermostat of your appliance is in “0” mode.
- Make sure that the plug, to which the appliance is connected, has power, check the fuse and power cord. If the plug lacks power, consult an electrician.
- Make sure that the appliance has been installed in accordance with the instructions in the manual. If the installation is inaccurate, consult with the technical service.
Call the dealer to get service
Terms of Warranty
Warranty by SUN does not cover the defects arising out of the improper use of the appliance.
The warranty does not cover the situations below:
- The damages and defects arising out of improper use.
- The damages and defects have occurred during the transportation after the delivery of the product to the customer by the company.
- The damages and defects arising out of low or excessive voltage, ungrounded plug usage, faulty electrical systems, operating the appliance in different voltage values other than specified in the instructions.
- The damages and defects arising out of fire and lightning.
- The damages and defects arising out of repairs and maintenance by persons other than Authorized Services.
- The defects arising out of the breach of the instructions in the manual.
- The damages and defects arising out of the transportation of the product instead of repair.
Attention! Faulty maintenance and cleaning are not covered by the warranty.
- The dust and polluters in the environment.
- Damage in the reflector or filament due to faulty cleaning.
- Faulty installation or dismantlement.
- Operating with damaged filament, frame, or power cord.
Above mentioned defects and services are not covered by the warranty.
Should this product be proven defective in workmanship or material, the consumer’s sole remedies shall be such repair or replacement as provided by the terms of this warranty.
Under no circumstances shall SUN be liable for any loss or damage, direct, consequential, or incidental, arising out of the use of or inability to use this product.
This warranty will be voided if the certificate of warranty lacks the stamp and signature of the supplier as well as the date of purchase.
This warranty will become void if the serial number (if applicable), model number identification, or brand have been wholly or partially removed or erased.
All products have CE/GS/EMC/ETL certificates.
This symbol on the product or its packaging indicates that the appliance cannot be treated as normal domestic trash, but must be handed in at a collection point for recycling electric and electronic appliances.









Specifications

















