INSTALLATION INSTRUCTIONS AND MANUAL
Item g B400
DUNN RITE, INC. ELWOOD, IN PATENT NO. 323,864
Dunn Rite B100 Splash and Slam Portable Pool Basketball Set
PURCHASE AN OPTIONAL SPLASH & SLAM COMBO KIT TO CONVERT TO VOLLEYBALL
Helpful Hint: Before installing nuts, add a drop of oil to bolt threads to avoid seizing.
Congratulations, you’ve just become the proud owner of the the best basketball unit made for pool owners.
Splash & Slam is regulation size and made to ‘quick adjust”, for individual tastes, up to a height of 6’ above water level.
The base is water-filled and designed for easy portability. Splash & Slam’s overhang makes layups possible and insures the ball will return back into the pool. The backboard is adjustable to compensate for uneven pool surfaces. Splash & Slam is weatherproof and carries a 3 year warranty.
If you have questions, feel free to call:
DUNN•FUTE PRODUCTS 800-798-9646
ASSEMBLY
Tools needed: Two adjustable wrenches.
- Refer to back page to identify hardware.
Step 1
POSITION AND FILL BASE
- Position base on flat ground near pool edge. If there is a pool lip or wall that causes a gap under base see *Special Instructions below. Don’t worry if base is not level – backboard can be leveled once unit is assembled.
- Lower hose into fill hole on top of base and Push plug tightly into fill hole.fill with water until base overflows.
*Special Instructions Try to position base so there is not a gap directly under arrows on 2 inner walls of base (this is where post and 17″ I-bolt are supported). Do not position so that the front of base overhangs the pool edge. If gap under arrows cannot be avoided, a wood block or shim must be cut to support clear plastic post pad at proper level.
Step 2
ASSEMBLE HEIGHT ADJUSTMENT ASSEMBLY
- Hold as shown in figure A as you assemble. Tighten hand knobs 1 turn only. Squeeze legs of U-bolts together to get them thru aluminum holes.

HEIGHT ADJUSTMENT ASSEMBLY
COMPLETE STEPS 3-8 ON A NON-MARRING SURFACE
Step 3
ATTACH BACKBOARD SUPPORTS TO HEIGHT ADJUSTMENT ASSEMBLY (See figure B.)
- Position bent struts on the ground, with curved cut-out on lower half.
- Run two 1/4″ X 11/4″ carriage bolts thru two small square holes on strut with square holes, thru both long backboard supports and round holes in other strut. Hand tighten each bolt using a 1/4″ washer and 1/4″ lock nut (B(1)). Then rotate each bolt head so it recesses properly into square hole, hold head in place with one hand and tighten lock nut with wrench until it almost touches washer (with washer against aluminum strut). (See figure C.)

- Position height adjustment assembly (with angled edges pointing down) between struts and run 1/2″ X 7″ carriage both thru square hole in strut, thru two top holes in height adjustment assembly and thru round hole in other strut. Then put 1/2″ split lock-washer on bolt and finger tighten with 1/2″ nut (C(1)).

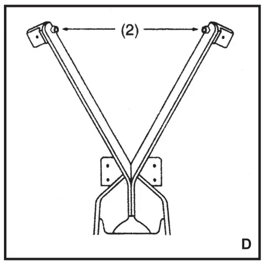
Step 4
ATTACH SUPPORTS TO BACKBOARD
(See figure D(2).)
- Run a 5/16″ X 3/4″ carriage bolt through square hole in curved brackets and attach brackets to outside of supports by hand with a 5/16° washer and 5/16″ lock nut.
(See Figure E(1).) - Run a 5/16″ X 3/4″ bolt through two upper holes on front of backboard. Then run bolts through hole in bracket and hand tighten with a 5/16° flanged lock nut. Make sure both bolt heads are recessed properly into backboard hole.
Step 5
MOUNT RIM
- Attach net to rim.
- Take two 5/W X -I ‘A” bolts and run each through a 3/8″ washer. Then run bolts through two lower holes in rim (away from backboard). Now position against backboard and run threads through lower backboard and strut holes and finger tighten on backside of strut using 3/8° washer and 5/16° lock nut (F(1)).
- Take two 5/16° X11/4° bolts and run each through a 3/8″ washer. Then tilt backboard forward so it is flush with rim and repeat for top rim holes, and finger tighten on backside of strut using 3/8″ washer and 5/16″ lock nut (F(2)).
Step 6
ASSEMBLE BREAKAWAY SYSTEM (See figure F.)
- Take 1/2″ X 8″ bolt with hole in end and two 1/2″ washers with black circle and assemble as pictured, running bolt first through curved strut cut-out on side with 1/2″ nut (F(3)), through bottom holes on height adjustment assembly and through curved strut cut-out on other strut.
(See figure G.) - Take breakaway handle and attach to hole in end of bolt with 114″ X 1 1/8′ bolt (G(1)). Tighten until snug with a 1/4′ lock nut using both wrenches.
Step 7
ATTACH BACKBOARD TO POST (See figure H.)
- With breakaway handle facing up, set backboard on its side leaning forward on the rim. Take end of post with 2″ hole and with hole facing the rear (as pictured) run post (H(1)) between two white plastic face plates and stop when 2″ hole is about 15″ past struts (as pictured) Lean top of post against top of backboard and hand tighten white hand knobs (H(2)).
- Push white post cap onto top of post
Step 8
ENGAGE BREAKAWAY HANDLE (See figure I.)
- Rotate breakaway handle until it is positioned as pictured below, with 1/4″ bolt nearest washer (1(1)). Engage handle (1(2)) until 1/4″ bolt is farthest from washer (1(3)) and top of handle touches aluminum strut. If handle will not engage, hold handle and loosen 1/2″ lock nut (F(4)) with wrench one quarter turn at a time until handle will engage.
Step 9
LOCK POST TO BASE (See figure J.)
- Carefully lower post into base hole until it rests on pool deck. It may be necessary to force post through the first time. (See figure K.)

- Take 17″ I-bolt )
run round end through hole in post and continue until it rests on the pool deck and is positioned as pictured (K(1)). (See figure L.)
- Run 12″ white capped rod through center channel on front of base, through round end of I-bolt (look through post hole and adjust) and continue until rod hits stop and is slightly recessed. (See figure M.)

- Tilt 17″ I-bolt towardspost as far as possible. Then lower post locking wedge (0 ) onto bolt with its large hole pointing down and the small hole nearest the post and let wedge rest as pictured. (See figure N.)

- Screw 5/16″ white hand knob
onto threading until tight. IMPORTANT: Base will stretch and loosen up somewhat with play. Hand knob should be periodically retightened.
Step 10
ADJUST 1/2″ NUT TENSION (See figure 0.)
With left hand holding backboard (to keep it from crashing down) disengage breakaway handle with right hand and slowly lower board. Now adjust 1/2″ nut (C(1)) with wrench so back slowly drops when pushed back into position and released. (See figure P.)
- Level background (see RESETTING BREAKAWAY AND LEVELING under MANUAL SECTION) and then push white handle grip onto end of handle.
Step 11
LEVEL BACKBOARD & RIM (left to right)
- Raise backboard up to higher setting (see RAISING AND LOWERING BACKBOARD in MANUAL SECTION).
- Using two wrenches, tighten four lock nuts (see figure F (1 & 2)) until they almost touch washers (with washers against aluminum strut). Adjust rim so four bolt heads on rim are centered in rim holes. Then adjust backboard and rim left-to-right levelness, and tighten all 1/4″ and 5/16″ lock nuts and 5/16″ flanged lock nuts on aluminum hardware with wrenches until tight.
Step 12
ADJUST BREAKAWAY TENSION
- The breakaway system is designed so that the backboard and rim will not move under normal playing conditions but will “breakaway” and slowly rotate to a downward position when unit is abused. To adjust to optimal tension:
- Raise backboard to highest setting (see RAISING AND LOWERING BACKBOARD in MANUAL SETTING).
- Hold breakaway handle in engaged position and adjust 1/2″ lock nut (see figure (F(4)) until breakaway enacts just before the base starts to tip forward when an adult jumps up and hangs on rim. DO NOT OVERTIGHTEN. Overtightening breakaway system could result in injury or damage.
Step 13
- After some play, all 1/4″ and 5/16″ lock nuts and 5/16″ flanged lock nuts on aluminum hardware should be retightened using wrenches.
MANUAL SECTION
RESETTING BREAKAWAY AND LEVELING
(See figure Q.)
- On higher settings – Grab underside of rim with left hand and handle with right. Disengage handle, adjust until level, and engage handle until it hits strut.
- On lower settings – Same as on higher settings, except adjusting hand (left hand) would grab top of backboard instead of rim.
- RAISING AND LOWERING BACKBOARD
NOTE: If back of post is splashed with water before adjusting, less dirt residue will transfer to post and movement will be easier. To Raise – (See figure R for guide.) Grab underside of strut with one hand and loosen four white hand knobs one full turn with other hand. Raise to desired height, straighten backboard and tighten hand knobs tightly.
To Lower -Grab underside of strut with one hand. With other hand, loosen four white knobs one full turn and then push downward on one of the white knobs to desired height. Then straighten backboard and tighten hand knobs tightly.
BREAKAWAY TENSION ADJUSTMENT
- See Step 12 in assembly instructions.
TAKE DOWN
WARNING: *Follow in order as unit will fall forward with no water in base.
- Lower backboard to low setting and unscrew white hand knob on post locking wedge. Then push post towards back of base (see figure (P(1)) and lift post locking wedge out when it rises up.
- Lift backboard and post up and out of base and set backboard on its side (on non-marring surface), leaning forward on the rim (see figure H). Loosen four white hand knobs and slide post out.
- Remove I-bolt, and rod from base.
- (See Figure S.) To drain base, remove fill cap and lower hose end of hand pump siphon into base until it rests on the bottom. Then at ground level, squeeze red bulb until water starts flowing and then drop red bulb into pool (or lay it on level or downward sloping ground). Re-check hose end of siphon (looking through hole in base) to make sure end is resting of very bottom of base. Base will self-drain in about 45 minutes.
CLEANING
Base
- For general cleaning it is best to get a warm bucket of water, add some cleaning detergent (such as Lysol) and scrub base with a firm non-wire brush and rinse clean.
- For Stubborn stains, acetone or lacquer thinner can be used, but be careful to keep from contacting decals. Stubborn stains can also be sanded off using 220 grit sandpaper.
- To repair scuffs or to refinish base use a 150 or 100 grit sandpaper, finishing with 220. Post, plastic parts, and hardware
- Clean with paint thinner or lighter fluid. Backboard and rim
- For general cleaning, use Windex or standard spray cleaner.
WARNING: Warranty does not cover leaving filled base outdoors in freezing temperatures.



WARRANTY
- Splash and Slam is warranted to the original owner for 3 years from date of purchase, with proof of purchase. This warranty covers defects in materials and workmanship.
- Parts returned under this warranty will be inspected. Damage which, in our judgement, occurred because of misuse, negligence or accident is not covered by this warranty. This warranty is void if the product has been altered or tampered with in any way.
- Owner may send parts presumed defective directly to Dunn-Rite Products, freight prepaid. If Dunn-Rite agrees that the products are defective and covered by this warranty, Dunn-Rite will repair or replace at its’ option, and return the parts freight collect, with no charge for repairs.
In no event shall Dunn-Rite Products be liable for incidental or consequential damages of any nature or kind, or for damages to persons or property.
2200 South J Street Elwood, IN 46036
800-798-9646 Fax: 765-552-7773






NOTE: If back of post is splashed with water before adjusting, less dirt residue will transfer to post and movement will be easier. To Raise – (See figure R for guide.) Grab underside of strut with one hand and loosen four white hand knobs one full turn with other hand. Raise to desired height, straighten backboard and tighten hand knobs tightly.










