BLAUBERG Ventilation TwinBox 150 Noise Insulated Fan for Round Air Ducts with Two Motors

This user’s manual is a main operating document intended for technical, maintenance, and operating staff. The manual contains information about purpose, technical details, operating principle, design, and installation of the TwinBox (EC) 150/200/250/315/355/400 unit and all its modifications.
Technical and maintenance staff must have theoretical and practical training in the field of ventilation systems and should be able to work in accordance with workplace safety rules as well as construction norms and standards applicable in the territory of the country.
SAFETY REQUIREMENTS
All operations described in this manual must be performed by qualified personnel only, properly trained and qualified to install, make electrical connections and maintain ventilation units.
Do not attempt to install the product, connect it to the mains, or perform maintenance yourself.
This is unsafe and impossible without special knowledge.
Disconnect the power supply prior to any operations with the unit.
All user’s manual requirements as well as the provisions of all the applicable local and national construction, electrical, and technical norms and standards must be observed when installing and operating the unit.
Disconnect the unit from the power supply prior to any connection, servicing, maintenance, and repair operations.
Only qualified electricians with a work permit for electrical units up to 1000 V are allowed for installation. The present user’s manual should be carefully read before beginning works.
Check the unit for any visible damage of the impeller, the casing, and the grille before starting installation. The casing internals must be free of any foreign objects that can damage the impeller blades.
While mounting the unit, avoid compression of the casing! Deformation of the casing may result in motor jam and excessive noise.
Misuse of the unit and any unauthorised modifications are not allowed.
Do not expose the unit to adverse atmospheric agents (rain, sun, etc.).
Transported air must not contain any dust or other solid impurities, sticky substances, or fibrous materials.
Do not use the unit in a hazardous or explosive environment containing spirits, gasoline, insecticides, etc.
Do not close or block the intake or extract vents in order to ensure the efficient air flow.
Do not sit on the unit and do not put objects on it.
The information in this user’s manual was correct at the time of the document’s preparation.
The Company reserves the right to modify the technical characteristics, design, or configuration of its products at any time in order to incorporate the latest technological developments.
Never touch the unit with wet or damp hands. Never touch the unit when barefoot.
BEFORE INSTALLING ADDITIONAL EXTERNAL DEVICES, READ THE RELEVANT USER MANUALS.
This unit is not intended for use by persons (including children) with reduced physical, sensory or mental capabilities, or lack of experience and knowledge, unless they have been given supervision or instruction concerning use of the unit by a person responsible for their safety. Children should be supervised to ensure that they do not play with the unit.
This appliance can be used by children aged from 8 years and above and persons with reduced physical, sensory or mental capabilities or lack of experience and knowledge if they have been given supervision or instruction concerning use of the appliance in a safe way and understand the hazards involved.
Cleaning and user maintenance shall not be made by children without supervision. Children shall not play with the appliance.
Connection to the mains must be made through a disconnecting device, which is integrated into the fixed wiring system in accordance with the wiring rules for design of electrical units, and has a contact separation in all poles that allows for full disconnection under overvoltage category III conditions.
Ensure that the unit is switched off from the supply mains before removing the guard.
Precautions must be taken to avoid the back-flow of gases into the room from the open flue of gas or other fuel-burning appliances.
Fixing means for attachment to the ceiling such as hooks or other devices shall be fixed with a sufficient strength to withstand 4 times the weight of the appliance.
The mounting of the suspension system shall be performed by the manufacturer, its service agent or suitably qualified persons.
The appliance is to be installed so that the blades are more than 2.3m above the floor.
THE PRODUCT MUST BE DISPOSED SEPARATELY AT THE END OF ITS SERVICE LIFE.
DO NOT DISPOSE THE UNIT AS UNSORTED DOMESTIC WASTE.
PURPOSE
The unit is designed for supply and exhaust ventilation of domestic, public and industrial premises with high requirements to the noise level and with limited space for mounting.
The unit is a component part and cannot be used for stand-alone operation.
It is rated for continuous operation.
Transported air must not contain any flammable or explosive mixtures, evaporation of chemicals, sticky substances, fibrous materials, coarse dust, soot and oil particles or environments favourable for the formation of hazardous substances (toxic substances, dust, pathogenic germs).
DELIVERY SET
| Name | Number |
| Fan | 1 pc. |
| User’s manual | 1 pc. |
| Packing box | 1 pc. |
DESIGNATION KEY

TECHNICAL DATA
The unit is designed for indoor application with the ambient temperature ranging from +1 °C up to +40 °C and relative humidity up to 80 % at 25 °C.
The maximum permissible concentration of solids and dust in the handled air is 10 mg/m3.
The unit is rated as a Class I electrical appliance.
The unit design is constantly being improved, thus some models may be slightly different from those described in this manual.
| Model | L | L1 | L2 | L3 | H | A | A1 | A2 | ØD | Weight [kg] |
| TwinBox EC 150, TwinBox 150 | 975 | 850 | 748 | – | 321 | 621 | 593 | 540 | 149 | 28 |
| TwinBox EC 200, TwinBox 200 | 975 | 850 | 748 | – | 375 | 791 | 763 | 710 | 199 | 39 |
| TwinBox EC 250, TwinBox 250 | 1062 | 939 | 837 | – | 417 | 887 | 859 | 806 | 249 | 47 |
| TwinBox EC 315, | 1293 | 1170 | 1068 | 534 | 520 | 1092 | 1065 | 1010 | 314 | 97 |
| TwinBox EC 355, TwinBox 355 | 1334 | 1170 | 1068 | 534 | 520 | 1092 | 1065 | 1010 | 354 | 97 |
| TwinBox EC 400, TwinBox 400 | 1358 | 1194 | 1092 | 546 | 551 | 1182 | 1154 | 1101 | 399 | 129 |
Technical specifications of the particular model are indicated on the unit casing.

DESIGN AND OPERATING PRINCIPLE
The casing of the fan unit is made of galvanized steel. The fan unit is equipped with a removable bottom cover for easy installation and maintenance. It is attached with screws. Heat- and sound-insulation made of non-flammable material. The round connecting spigots are rubber sealed.
Inside the fan unit there are two mixed type duct fans with energy efficient motors. The fan motors have built-in controls. The low-noise motors with ball bearings with specially selected grease ensure maintenance-free operation of the fan.
When the unit is in operation, one of the fans is always running, with the second fan as a backup. Depending on the operation algorithm of the control automatics, the fans can be switched on alternately at different time intervals. This ensures uninterrupted ventilation: in case of failure of one fan, the second one automatically switches on. Switching modes is carried out using a controller, which is not included in the basic delivery set and must be ordered separately.
In order to prevent air backflow through a non-functioning fan, a swivel damper is installed inside the casing.
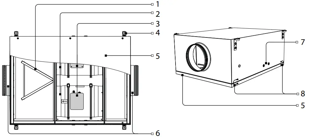
When one of the fans is switched on, the damper rotates due to the air flow from the fan and closes the duct of the inoperative fan. The main design elements of the fan unit are shown in the figure below.
- swivel damper
- duct fan
- fan terminal boxes
- mounting brackets;
- removable service panel;
- inlet and outlet spigots;
- cable glands on the unit casing;
- safety cables to prevent the service panel from falling.
MOUNTING AND SET-UP
BEFORE MOUNTING MAKE SURE THE CASING DOES NOT CONTAIN ANY FOREIGN OBJECTS (E.G. FOIL, PAPER).
WHILE INSTALLING THE UNIT ENSURE CONVENIENT ACCESS FOR SUBSEQUENT MAINTENANCE AND REPAIR.
Duct fans are designed for use with round air ducts. The units are installed in the gap between the ducts. Installation is only possible in the horizontal position, taking into account the direction of air flow, which is indicated by an arrow on the casing.
Installation of TwinBox EC 150, TwinBox 150, TwinBox EC 200, TwinBox 200, TwinBox EC 250 and TwinBox 250 models is carried out at 4 points to the mounting brackets.
The TwinBox EC 315, TwinBox EC 355, TwinBox 355, TwinBox EC 400 and TwinBox 400 models each have 6 mounting brackets (see the figure in the “Technical data” section).
It is recommended to use anchor threaded rods with nuts to fix the fan unit to the ceiling. Fasteners for fan mounting are not included in the delivery set and should be ordered separately. While choosing fasteners consider the material of the mounting surface as well as the weigh of the fan unit, refer to the “Technical data” section.
Fasteners for unit mounting should be selected by the service technician.
The safety cables on the removable service panels can be moved to the opposite side of the casing for the convenience of service work, depending on the installation location of the fan unit.
Caution!
- To get the best performance of the unit and to minimize turbulence-induced air pressure losses, connect the straight air duct section to the spigots on both sides of the unit while installing. Minimum straight air duct length: equal to 1 air duct diameter on intake side and 3 air duct diameters on outlet side
- If the air ducts are too short or not connected, protect the unit parts from ingress of foreign objects. To prevent uncontrollable access to the fan the spigots may be covered with a protecting grille or other protecting device with mesh width not more than 12.5 mm.
CONNECTION TO POWER MAINS
DISCONNECT THE POWER SUPPLY PRIOR TO ANY OPERATIONS WITH THE UNIT.
CONNECTION OF THE UNIT TO POWER MAINS IS ALLOWED BY A QUALIFIED ELECTRICIAN WITH A WORK PERMIT FOR THE ELECTRIC UNITS UP TO 1000 V AFTER CAREFUL READING OF THE PRESENT USER’S MANUAL.
THE RATED ELECTRICAL PARAMETERS OF THE UNIT ARE GIVEN ON THE MANUFACTURER’S LABEL.
ANY TAMPERING WITH THE INTERNAL CONNECTIONS IS PROHIBITED AND WILL VOID THE WARRANTY.
- The sound-insulated fan unit can only be used integrated in a ventilation system with automatic control.
- The unit is designed for connection to single-phase power mains with the parameters specified in the “Technical data” section.
- The connection must be made using durable, insulated and heat-resistant conductors (cables, wires). The actual wire cross section selection must be based on the maximum load current, maximum conductor temperature depending on the wire type, insulation, length and installation method.
- The external power input must be equipped with an automatic circuit breaker built into the stationary wiring to open the circuit in the event of overload or short-circuit. The position of the external circuit breaker must ensure free access for quick unit power-off.
The trip current of the automatic circuit breaker must exceed the maximum current consumption of the unit (refer to the “Technical data” section). The recommended trip current of the circuit breaker is the next current in the standard trip current row following the maximum current of the connected unit. The circuit breaker is not included in the delivery set and can be ordered separately. - Route the power and control cables for each motor through the cable glands on a convenient side of the casing. Route the cables inside the casing to the terminal boxes and secure them with cable ties.
- Connect the motor of each fan through the terminal block according to the electrical mains wiring diagram using a durable insulated cable. Terminal blocks for connecting the power cable and control cable with terminal markings are located inside the terminal box on the casing of each motor.

The figures below show the terminal boxes and wiring diagrams for the fans included in the fan units.
TECHNICAL MAINTENANCE
DISCONNECT THE UNIT FROM POWER SUPPLY BEFORE ANY MAINTENANCE OPERATIONS!
MAKE SURE THE UNIT IS DISCONNECTED FROM POWER MAINS BEFORE REMOVING THE PROTECTION
PRIOR TO COMMENCING ANY TECHNICAL MAINTENANCE PUT UP A PROHIBITORY SIGN ON THE FAN STARTING PANEL:
“DO NOT SWITCH ON! MEN AT WORK!”
AVOID LIQUID SPILLS ON THE MOTOR! DO NOT USE AGGRESSIVE SOLVENTS AND SHARP OBJECTS FOR CLEANING!
Clean the product surfaces and the impeller of the fans inside the casing regularly (once in 6 months) from dust and dirt.
Disconnect the fan from power mains prior to any maintenance operations.
Open the service panel of the fan unit and remove dust from the surfaces of the fans and impeller blades.
Use a soft brush, cloth, vacuum cleaner or compressed air for cleaning. Do not use water, aggressive solvents, or sharp objects as they may damage the impeller. It is forbidden to remove or change the location of the balancers on the impeller, as this can lead to increased level of vibration, noise and reduce the service life of the unit.
During technical maintenance, make sure that there are no visible defects on the unit, the mounting brackets are securely fastened to the fan casing and the unit is securely mounted.
TROUBLESHOOTING
| Problem | Possible reasons | Troubleshooting |
| The fan (-s) doesn’t (don’t) start. | No power supply. | Make sure the power supply line is connected correctly, otherwise troubleshoot a connection error. |
| Jammed motor. | Disconnect the fan from power supply. Troubleshoot the motor jamming. Restart the fan. | |
| The fan has overheated. | Disconnect the fan from power supply. Eliminate the cause of overheating. Restart the fan. | |
| Automatic circuit breaker tripping following the fan turning on. | Excessive electric current consumption caused by a short circuit. | Turn the fan off. Contact the Seller. |
| Noise, vibration. | The fan impeller is soiled. | Clean the impellers. |
| The fan or casing screw connection is loose. | Tighten the screw connection of the fan or the casing against stop. | |
| The ventilation system components (air ducts, diffusers, louvre shutters, grilles) are clogged or damaged. | Clean or replace the ventilation system components (air ducts, diffusers, louvre shutters, grilles). |
STORAGE AND TRANSPORTATION REGULATIONS
- Store the unit in the manufacturer’s original packaging box in a dry closed ventilated premise with temperature range from +5 °C to + 40 °C and relative humidity up to 70 %.
- Storage environment must not contain aggressive vapors and chemical mixtures provoking corrosion, insulation, and sealing deformation.
- Use suitable hoist machinery for handling and storage operations to prevent possible damage to the unit.
- Follow the handling requirements applicable for the particular type of cargo.
- The unit can be carried in the original packaging by any mode of transport provided proper protection against precipitation and mechanical damage. The unit must be transported only in the working position.
- Avoid sharp blows, scratches, or rough handling during loading and unloading.
- Prior to the initial power-up after transportation at low temperatures, allow the unit to warm up at operating temperature for at least 3-4 hours.
MANUFACTURER’S WARRANTY
The product is in compliance with EU norms and standards on low voltage guidelines and electromagnetic compatibility. We hereby declare that the product complies with the provisions of Electromagnetic Compatibility (EMC) Directive 2014/30/EU of the European Parliament and of the Council, Low Voltage Directive (LVD) 2014/35/EU of the European Parliament and of the Council and CE-marking Council Directive 93/68/EEC. This certificate is issued following test carried out on samples of the product referred to above.
The manufacturer hereby warrants normal operation of the unit for 24 months after the retail sale date provided the user’s observance of the transportation, storage, installation, and operation regulations. Should any malfunctions occur in the course of the unit operation through the Manufacturer’s fault during the guaranteed period of operation, the user is entitled to get all the faults eliminated by the manufacturer by means of warranty repair at the factory free of charge. The warranty repair includes work specific to elimination of faults in the unit operation to ensure its intended use by the user within the guaranteed period of operation. The faults are eliminated by means of replacement or repair of the unit components or a specific part of such unit component.
The warranty repair does not include:
- routine technical maintenance
- unit installation/dismantling
- unit setup
To benefit from warranty repair, the user must provide the unit, the user’s manual with the purchase date stamp, and the payment paperwork certifying the purchase. The unit model must comply with the one stated in the user’s manual. Contact the Seller for warranty service.
The manufacturer’s warranty does not apply to the following cases:
- User’s failure to submit the unit with the entire delivery package as stated in the user’s manual including submission with missing component parts previously dismounted by the user.
- Mismatch of the unit model and the brand name with the information stated on the unit packaging and in the user’s manual.
- User’s failure to ensure timely technical maintenance of the unit.
- External damage to the unit casing (excluding external modifications as required for installation) and internal components caused by the user.
- Redesign or engineering changes to the unit.
- Replacement and use of any assemblies, parts and components not approved by the manufacturer.
- Unit misuse.
- Violation of the unit installation regulations by the user.
- Violation of the unit control regulations by the user.
- Unit connection to power mains with a voltage different from the one stated in the user’s manual.
- Unit breakdown due to voltage surges in power mains.
- Discretionary repair of the unit by the user.
- Unit repair by any persons without the manufacturer’s authorization.
- Expiration of the unit warranty period.
- Violation of the unit transportation regulations by the user.
- Violation of the unit storage regulations by the user.
- Wrongful actions against the unit committed by third parties.
- Unit breakdown due to circumstances of insuperable force (fire, flood, earthquake, war, hostilities of any kind, blockades).
- Missing seals if provided by the user’s manual.
- Failure to submit the user’s manual with the unit purchase date stamp.
- Missing payment paperwork certifying the unit purchase.
FOLLOWING THE REGULATIONS STIPULATED HEREIN WILL ENSURE A LONG AND TROUBLE-FREE OPERATION OF THE UNIT.
USER’S WARRANTY CLAIMS SHALL BE SUBJECT TO REVIEW ONLY UPON
PRESENTATION OF THE UNIT, THE PAYMENT DOCUMENT AND THE USER’S MANUAL WITH THE PURCHASE DATE STAMP.
CERTIFICATE OF ACCEPTANCE
| Unit Type | Noise insulated fan for round air ducts with two motors |
| Model | |
| Serial Number | |
| Manufacture Date | |
| Quality Inspector’s Stamp |
SELLER INFORMATION
| Seller | ![]() | |
| Address | ||
| Phone Number | ||
| Purchase Date | ||
| This is to certify acceptance of the complete unit delivery with the user’s manual. The warranty terms are acknowledged and accepted. | ||
| Customer’s Signature | ||
INSTALLATION CERTIFICATE
| The unit is installed pursuant to the requirements stated in the present user’s manual. | ![]() | ||
| Company name | |||
| Address | |||
| Phone Number | |||
| Installation Technician’s Full Name | |||
| Installation Date: | Signature: | ||
| The unit has been installed in accordance with the provisions of all the applicable local and national construction, electrical and technical codes and standards. The unit operates normally as intended by the manufacturer. | |||
| Signature: | |||
WARRANTY CARD
| Unit Type | Noise insulated fan for round air ducts with two motors | ![]() |
| Model | ||
| Serial Number | ||
| Manufacture Date | ||
| Purchase Date | ||
| Warranty Period | ||
| Seller |
http://www.blaubergventilatoren.de/























