AC INFINITY AC-BFP4 Automatic Booster Duct Fan

AUTO BOOSTER FAN WITH PRESSURE SWITCH
Product Information
The AC Infinity Automatic Duct Booster Fan (Model: AC-BFP4) is a high-quality product designed to enhance air flow in your HVAC system. The fan comes with a differential pressure switch that automatically activates the fan whenever positive pressure is detected. With a 5-speed digital controller featuring OFF, ON, and AUTO modes, the fan can be customized to trigger and activate at specific pressure levels. The motor contains ball bearings with an estimated lifespan of 67,000 hours, allowing the fan to be mounted in any direction. The PWM-controlled motor features precise speed control, reduced rotor noise, and energy-efficient EC voltage. The product manual code is BFP2211X1 and UPC-A is 819137023789.
Product Usage Instructions
To ensure safe and proper usage of the AC Infinity Automatic Duct Booster Fan, please follow these instructions:
- Make sure your power source conforms to the electrical requirements of the product.
- Check your local code restrictions for additional safety measures that may be needed for a proper code compliant installation.
- Read all instructions before installing and using this product.
- If you are unfamiliar or have doubts about performing this product’s installation, seek the services of a qualified, trained, and licensed professional.
- Do not attempt to hardwire this product. Performing any retrofitting actions may result in personal injury and/or electrical damage, and will void this product’s warranty.
- This product must not be used in potentially hazardous locations such as flammable, explosive, chemical-laden, or wet atmospheres.
- Ducted products must always be vented to outdoor areas.
- Do not cover power cords with rugs or other fabric materials.
- This product has rotating parts. Safety precautions should be exercised during the installation, operation, and maintenance of this product.
- Do not insert or allow fingers or foreign objects to enter any ventilation or exhaust openings as it may cause electric shock, fire, or damage to this product. Do not block or tamper with this product in any manner while it is in operation.
- Do not depend on the on/off programming as the sole means of shutting power from this product. Unplug the power cord before installing, servicing, or moving this product.
- Do not operate this product while its cord is damaged, or if it malfunctions, has been dropped, or is damaged in any manner.
- After installation, do not move the fan unit as it may result in false triggers due to changing differential pressure. If movement is necessary, recalibrate the fan by following the steps on page 23 of the manual.
- The differential pressure switch has positive and negative outlets. Do NOT block or insert the tube over the negative pressure outlet.
- Use the 5-speed digital controller to customize the fan’s settings according to your needs.
WELCOME
Thank you for choosing AC Infinity. We are committed to product quality and friendly customer service. If you have any questions or suggestions, please don’t hesitate to contact us. Visit www.acinfinity.com and click contact for our contact information.
MANUAL CODE BFP2211X1
PRODUCT
Automatic Duct Booster Fan 4″
MODEL
AC-BFP4
UPC-A
819137023789
PRODUCT WARNING
TO REDUCE THE RISK OF FIRE, ELECTRIC SHOCK, OR INJURY TO PERSONS, OBSERVE THE FOLLOWING:
- Ensure your power source conforms to the electrical requirements of this product.
- Check your local code restrictions for additional safety measures that may be needed for a proper code compliant installation.
- Read all instructions before installing and using this product.
- If you are unfamiliar or have doubts about performing this product’s installation, seek the services of a qualified, trained, and licensed professional. Inappropriate installation will void this product’s warranty.
- Do not attempt to hardwire this product. Performing any retrofitting actions may result in personal injury and/or electrical damage, and will void this product’s warranty.
- This product must not be used in potentially hazardous locations such as flammable, explosive, chemical-laden, or wet atmospheres.
- Ducted products must always be vented to outdoor areas.
- Do not cover power cords with rugs or other fabric materials.
- This product has rotating parts. Safety precautions should be exercised during the installation, operation, and maintenance of this product.
- Do not insert or allow fingers or foreign objects to enter any ventilation or exhaust openings as it may cause electric shock, fire, or damage to this product. Do not block or tamper with this product in any manner while it is in operation.
- Do not depend on the on/off programming as the sole means of shutting power from this product. Unplug the power cord before installing, servicing, or moving this product.
- Do not operate this product while its cord is damaged, or if it malfunctions, has been dropped, or is damaged in any manner.
MOVEMENT AFTER INSTALLATION
Do NOT move the fan after it is fully installed. Movement of the fan unit may result in false triggers as a result of changing differential pressure and will require recalibration. See page 23 for recalibration steps.

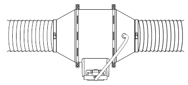
DIFFERENTIAL PRESSURE SWITCH
The differential pressure switch has positive and negative outlets. Do NOT block or insert the tube over the negative pressure outlet.

OPERATING TEMPERATURE
Do NOT let the ambient operating temperature exceed 140°F (60°C), as it may damage this product or cause it to malfunction.

KEY FEATURES

- DIGITAL CONTROLLER
5-speed controller featuring OFF, ON, and AUTO Modes for custom pressure triggering and activation levels. - DUAL BALL BEARINGS
The motor contains ball bearings with an estimated 67,000 hour lifespan. Enables the fan to be mounted in any direction. - PRESSURE SENSITIVE
Differential pressure-sensing switch automatically activates the fan whenever positive pressure is detected. - QUIET PWM MOTOR
PWM-controlled motor features precise speed control, reduced rotor noise, and energy-efficient EC voltage. - IP44 PROTECTION
The inline duct fan is sealed to Ingress Protection 44 standards, rated with high resistance to liquids and dust. - STATOR BLADE FANS
Hydro-mechanical stator blades enable efficient airflow delivery in high static pressure environments.
PRODUCT CONTENTS


INSTALLATION
MOUNTING
STEP 1
Remove the tube from the differential pressure switch.
Unscrew the bolts on both sides from the plastic rings using a Phillips screwdriver.

STEP 2
Remove the motor box from the flange bracket. Remove the wind circle between the motor box and the intake flange.

STEP 3
Use the flange bracket to set your desired fan position. Mark the four mounting holes.
Your fan MUST be mounted at least 5 ft. away from the ventilation outlet.

STEP 4
Drill four holes into the marked locations. Make sure your mounting area is structurally sound and free from obstruction.

STEP 5
If you are mounting onto anything other than a wood support or stud, insert the included four wall anchors into the drilled mounting holes.
You may need to use a hammer to secure them through the holes.

STEP 6
Align the flange bracket’s holes with the wall anchors. Screw in four wood screws with a screwdriver or drill to secure the flange bracket.
Make sure its airflow arrow is pointing in your desired direction.

STEP 7
Place the wind circle back into the intake flange.

STEP 8
Slide the motor box back into the flange bracket, making sure its airflow arrow is pointing in the same direction as the flange bracket’s arrow.
Screw the bolts back into the plastic rings to secure the motor box to the flange bracket.
Place the tube back onto the differential pressure switch. Make sure to insert the tube over the positive outlet. See page 7 for more information.

STEP 9
When installing ducting, use duct clamps (sold separately) to secure it to either end of your duct fan, making sure there is a tight seal.
Tighten the duct clamps using a flathead screwdriver.

Do NOT move the fan after it is fully installed. Movement of the fan unit may result in false triggers as a result of changing differential pressure and will require recalibration. See page 23 for recalibration steps.
CONFIGURATION SETUP
ONMIDIRECTIONAL MOUNTING
Your fan can be mounted horizontally, vertically, or diagonally in extended ductwork, crawlspace, and dryer exhaust applications. It must be mounted tightly with your desired ducting.
To achieve optimal ventilation, make sure your fan’s mounting location is free of obstruction as specified on the product warning page.
Make sure your exhaust is flowing towards your ventilation source using the arrow as a guide.

Do NOT move the fan after it is fully installed. Movement of the fan unit may result in false triggers as a result of changing differential pressure and will require recalibration. See page 23 for recalibration steps.

POWERING AND SETUP
STEP 1
Plug your fan’s power cord into an AC power outlet to power your fan.

CLEANING
STEP 1
Unplug your fan to completely unpower it.
Then remove the motor box from the mounting flange. Refer to steps 1-2 on page 11 to learn how to remove the motor box.

STEP 2
Use a damp cloth to clear the impeller and fan blades of any dust and debris. Remove the wind circle in between the motor box and input flange.

STEP 3
Clear the stator blades of any dust and debris on the opposite end. Clean the area inside the output and exhaust flanges.

STEP 4
Secure the motor box onto the mounting flanges. Refer to steps 7-9 on page 14-15 to learn how to secure the motor box.

PROGRAMMING

- MODE BUTTON
Cycles through the controller’s modes: OFF, ON, and AUTO. - SPEED BUTTON
Cycles through the levels to select a fan speed from 0-5. Pressing the speed button increases the fan speed in one unit increments.
OFF MODE
Your fan will not run while in this mode.

ON MODE
Your fan will actively run at the level set here. The ON Mode setting also serves as the maximum level the AUTO Mode will run at.

AUTO MODE
While in AUTO Mode, the fan will continuously monitor the environment for changes in pressure even while not in operation.
Once a pressure difference is detected for 5 seconds, the fan will be triggered to run.
The fan will run for 5 minutes, then pause for 5 seconds to test the atmospheric pressure. It will remain off if no difference is detected. Otherwise the fan will repeat the cycle as needed.
The fan speed must be adjusted in ON Mode before returning to AUTO Mode.


RECALIBRATION
UNINSTALLATION
STEP 1
Unplug your fan to completely unpower it.
If you need to relocate your fan, continue to step 2. Otherwise, skip to step 6.

STEP 2
Remove the tube from the differential pressure switch.
Remove the motor box and wind circle from the mounting flange.
Refer to steps 1-2 on page 11 to learn how to remove the motor box.

STEP 3
Loosen the duct clamps using a flathead screwdriver and remove the duct tubes from the flange.

STEP 4
Unscrew the wood screws with a screwdriver or drill to release the flange bracket from the wall.

STEP 5
Relocate your fan to a stable location free of obstruction.
Refer to steps 3-9 on pages 12-15 to learn how to mount your fan.

STEP 6
Plug your fan’s power cord into an AC power outlet to power your fan.
The base pressure should recalibrate once your fan is on.

FREQUENTLY ASKED QUESTIONS
Q: Can I mount this inline duct fan vertically or horizontally?
A: The automatic duct fan can be mounted in any orientation.
Q: Will I be able to hardwire this fan to my own controller or thermostat?
A: We do not recommend hardwiring or splicing our fan’s power wires. Such modifications may compromise electrical safety and will void this product’s warranty.
Q: Do I need to use a power converter if I’m outside the US?
A: This product’s voltage range is 100-240V AC. You may need a simple travel adapter to plug it into a foreign socket, or a power converter if your country uses a different voltage.
Q: I’m not getting enough airflow even after setting the fan speed to 5. What can I do?
A: Bends in ducting will reduce your fan’s CFM performance. To retain airflow, you may straighten the ducting and eliminate as many bends as possible.
Q: My fan isn’t triggering correctly. How do I fix this?
A: Check to see if your fan has been moved; this will affect its pressure detection. Refer to pages 23-25 for recalibration instructions.
AC INFINITY PRODUCTS
Ducting Tubes
The four-layer ducting tube is used to direct airflow, designed for ventilation systems in applications like HVAC, dryers, and grow rooms. It is highly durable and flexible, and can be used anywhere from tight spaces to wide open areas.

Noise Reduction Clamp
A rubber coupler designed to connect ductwork components together while dampening sound and vibrations. Built with matte black rubber and steel clamps with worm drive locks for a secure hold. Fits over inline fans and carbon filters with solid duct ports in growing and HVAC applications.

Duct Silencer
The duct silencer is designed to dampen fan and airflow noise traveling through ductwork. Made for use in inline duct applications such as HVAC, grow tents, server closets and more. Uses neoprene foam in egg crate formation to reduce noise by up to 50%.

Discover the latest innovations in environmental controls at acinfinity.com
WARRANTY
This warranty program is our commitment to you, the product sold by AC Infinity will be free from defects in manufacturing for a period of two years from the date of purchase. If a product is found to have a defect in material or workmanship, we will take the appropriate actions defined in this warranty to resolve any issues.
The warranty program applies to any order, purchase, receipt, or use of any products sold by AC Infinity or our authorized dealerships. The program covers products that have become defective, malfunctioned, or expressively if the product becomes unusable. The warranty program goes into effect on the date of purchase. The program will expire two years from the date of purchase. If your product becomes defective during that period, AC Infinity will replace your product with a new one or issue you a full refund.
The warranty program does not cover abuse or misuse. This includes physical damage, submersion of the product in water, incorrect Installation such as wrong voltage input, and misuse for any reason other than intended purposes. AC Infinity is not responsible for consequential loss or incidental damages of any nature caused by the product. We will not warrant damage from normal wear such as scratches and dings.
Contact our dealers department at [email protected] or (626) 838-4656 for more information about our dealers and distributors program. Contact our customer service department at [email protected] or 626-923-6399 for product and warranty assistance. Our business hours are Monday through Friday, 9:00 am to 5:00 pm PST.
If you have any issues with this product, contact us and we’ll happily resolve your problem or issue a full refund!
COPYRIGHT © 2023 AC INFINITY INC. ALL RIGHTS RESERVED
No part of the materials including graphics or logos available in this booklet may be copied, photocopied, reproduced, translated or reduced to any electronic medium or machine readable form, in whole or in part, without specific permission from AC Infinity Inc.
EMAIL
[email protected]
LOCATION
Los Angeles, CA



















