FEIT Smart Video Doorbell

Supplier”s Declaration of Conformity: 47 CFR § 2.1077 Compliance Information
Responsible Party: Feit Electric Company, 4901 Gregg Road, Pico Rivera, CA 90660, USA 562-463-2852
Unique Identifier: CAM/DOOR/WIFI
This device complies with part 15 of the FCC Rules. Operation is subject to the following two conditions:
- This device may not cause harmful interference, and
- this device must accept any interference received, including interference that may cause undesired operation.
Note: This equipment has been tested and found to comply with the limits for a Class B digital device, pursuant to part 15 of the FCC Rules. These limits are designed to provide reasonable protection against harmful interference in a residential installation. This equipment generates, uses and can radiate radio frequency energy and, if not installed and used in accordance with the instructions, may cause harmful interference to radio communications.
However, there is no guarantee that interference will not occur in a particular installation. If this equipment does cause harmful interference to radio or television reception, which can be determined by turning the equipment off and on, the user is encouraged to try to correct the interference by one or more of the following measures: Reorient or relocate the receiving antenna. Increase the separation between the equipment and receiver. Connect the equipment into an outlet on a circuit different from that to which the receiver is connected. Consult the dealer or an experienced radionv technician for help. Any changes or modifications not expressly approved by the manufacturer could void the user’s authority to operate the equipment. CAN ICES-005 (B).
The device has been evaluated to meet general RF exposure requirement.
The device can be used in portable exposure condition without restriction.
The device can be used in mobile (min 7.87 in.) exposure condition without restriction.
Limited Warranty
This product is warrantied to be free from defects in workmanship and materials for up to 1 year from date of purchase. If the product fails within the warranty period, please visit feit.com/help for instructions on replacemenVrefund or call 866.326.BULB. REPLACEMENT OR REFUND IS YOUR SOLE REMEDY. EXCEPT TO THE EXTENT PROHIBITED BY APPLICABLE LAW, ANY IMPLIED WARRANTIES ARE LIMITED IN DURATION TO THE DURATION OF THIS WARRANTY. LIABILITY FOR INCIDENTAL OR CONSEQUENTIAL DAMAGES IS HEREBY EXPRESSLY EXCLUDED. Some states and provinces do not allow the exclusion of incidental or consequential damages, so the above limitation or exclusion may not apply to you. This warranty gives you specific legal rights, and you may also have other rights which vary from state to state or province to province.
Pre-Assembly
TOOLS REQUIRED TO MOUNT THE DOORBELL
HARDWARE INCLUDED

| Part | Description | Quantity |
| AA | Smart Video Doorbell | 1 |
| BB | Mounting Plate | 1 |
| cc | Angle Wall Mount | 1 |
| DD | Power Kit | 1 |
| EE | Mounting Screws | 6 |
| FF | Mounting Anchors | 6 |
| GG | Angle Wall Mount Screws | 2 |
| HH | Star-shaped Screw | 1 |
| II | Reset Pin | 1 |
| JJ | Star-shaped Screwdriver | 1 |
| KK | Double-Sided Tape | 1 |
| LL | Wire Terminal Block | 1 |
| MM | Wire Terminal Extenders | 2 |
| NN | Terminal Screws | 2 |
Description

| Item | Description |
| External Power Port | 12-24VAC 1OVA transformer (not included) for a single doorbell application. For two doorbells ringing the same mechanical chime box, there needs to be 20 or 30 VA transformer. |
| Doorbell Button | Press to activate the doorbell. |
| Status Light | • Blinking RED = Pairing Mode • Solid RED = No Wi-Fi Connection • Blinking BLUE = Connecting to Wi-Fi • Solid BLUE = Connected to Wi-Fi |
| SD Card Slot | Add 128GB or less microSD card to enable recording (not included). Only supports microSD card with FAT32 format. |
| Reset | Press and hold for 5 seconds with the Reset Pin (II) to reset the doorbell. |
Mounting & Installation
Shut Off the Power
Shut Off the power to your doorbell at the circuit or fuse breaker before installing.
Mark Screw Positions
Mark screw positions using the Mounting Plate (BB) on your wall.
Installing the Mounting Plate
Drill holes at the marked points if installing on a hard surface such as concrete or brick. Insert Mounting Anchors (FF) into holes. You can skip this step if installing on wood or siding.
Use the Mounting Screws (EE) to attach the Mounting Plate (BB) to the wall (see Fig.1).
Optional Angled Wall Mount: Use the Mounting Screws (EE) to attach the Angle Wall Mount (CC) to the wall, then attach the Mounting Plate (BB) to the Angle Wall Mount (CC). Use the Angle Wall Mount Screws (GG) to screw in the Mounting Plate (BB) (see Fig. 2a & 2b).
NOTE: Feed your doorbell wires through the center hole before mounting.
Installing the Smart Video Doorbell
Attach your doorbell wires to the External Power Port on the back of your Smart Video Doorbell (AA). Use the provided Wire Extenders (MM) and Wire Terminal Block (LL) if your existing doorbell wires are too short. Tighten the Terminal Screws (NN) with the screwdriver. Attach the Smart Video Doorbell (AA) onto the Mounting Plate (BB). Then secure it with a Star-Shaped Screw (HH) at the bottom of the Smart Video Doorbell (AA), using the Star-shaped Screwdriver (JJ).
NOTE: Your existing doorbell wires can go to any terminal on the External Power Port.
Power Kit Installation
Turn Off Power
Shut Off power to your doorbell and mechanical chime at the circuit or fuse breaker before installing. Ring your doorbell again to confirm the power is Off. You will not be able to hear any sound.
NOTE: For 12-24VAC normal operation, install the Power Kit to give consistent power to your Smart Doorbell. Choose “Mechanical Chime” after pairing the device. Check your installation if the Power Kit is buzzing or hot to touch. Your wiring may be wrong. Consult a professional electrician for further assistance.
Locate Existing Mechanical Chime
Locate your existing mechanical chime. It box that produces the sound when your doorbell is pressed. Remove the cover an example of a mechanical chime).
Install Power Kit
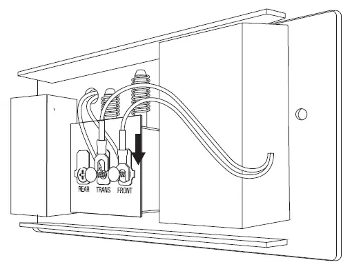
Slightly unscrew the “FRONT” terminal and “TRANS” terminal. Connect each wire of the Power Kit (DD) to each screw. It does not matter which wire connects to which screw. Leave the existing doorbell wires and tighten both screws.

Locate the Power Kit (DD) included in the packaging. The transformer terminal is usually labeled TRANS, T, AC or 0. The front terminal is usually labeled FRONT, F, 1 or C1.
Replace The Cover
Use the included Double-Sided Tape (KK) to stick on the back of the Power Kit (DD). Position the Power Kit (DD) where space is available. It is important that the wires DO NOT interfere with any moving mechanical parts of the chime. Replace the cover.
APP Setup
Download and install the Feit Electric app
- Search for the Feit Electric app in the App Store or Google Play
- Download and install the Feit Electric app on your smart device.
Set up the smart video doorbell using the Feit Electric app
- Check to be sure the camera is in pairing I 111•’ The RED indicator light must be blinking rapidly to connect. If not already blinking, press and hold the , � Reset Button until you hear an audible tone. Use the Feit Electric app to complete the set up.
- Tap Add Device or the + sign, then select Camera and You will be prompted to enter your Wi-Fi network and password.
- Follow the directions in the app to pair your device using the QR code. It may take 2-3
- You can find more pairing methods in the drop down menu on the device set-up
Troubleshooting
|
Doorbell will not connect to my Wi-Fi network | • Make sure the LED is blinking red. If the LED is not blinking red, you will need to press and hold Reset Button located at the bottom of the doorbell (see the Description section). • Make sure the Wi-Fi network is a 2.4GHz network, device will not connect to a 5GHz network. • Test your Wi-Fi network with other devices such as your phone or computer to make sure it is operating properly. • The Wi-Fi connection may be out of range dur ng pairing. Use your phone to check range, it is recommended to have at least 2 signal bars showing for proper connection. • Your Wi-Fi network password is case sensitive, make sure you are entering it correctly. |
|
The doorbell is offline | • There could be a temporary issue with your internet connection (e.g., service disruption). Please try again in a few minutes. • Make sure your Wi-Fi router is turned On. • The doorbell may not have power to it, make sure the wall switch and breaker is in the On position. • Make sure the doorbell is getting a good signal from your Wi-Fi router. Use your phone to check range, it is recommended to have at least 2 signal bars showing for proper connection. • The doorbell may have been disconnected from your Wi-Fi network, press and hold Reset Button (see the Description section) until you see a blinking red LED and hear an audible tone. |
| What do the blinking LEDs mean? | • Blinking RED = Pair ng Mode • Solid RED = No Wi-Fi Connection • Blinking BLUE = Connecting to Wi-Fi • Solid BLUE= Connected to Wi-Fi |
|
Live video stream is slow to load | Doorbell streaming issues may be caused by any of the following: • Your phone’s cellular connection, which relies on mobile coverage. • Limited internet bandwidth at home. For example, other video streaming services running at the same time on your network can cause congestion slowing down the internet upload and download speeds. • Wi-Fi reception may not be stable or work reliably if the doorbell’s Wi-Fi signal strength is less than 2 signal bars. You may need to install a Wi-Fi repeater or extender to boost the Wi-Fi signal. |
| How do I reset the doorbell to reenter pairing mode? | • Press and hold reset button located at the bottom of the doorbell (see the Description section) until you see a blinking red LED and hear an audible tone. |
|
The doorbell is not recording | • Make sure you have added optional microSD card (not included). • Make sure Record Button is turned On in app, under SD Card Settings. This is located in the upper right corner in the control panel. • Make sure that the microSD card is installed correctly. To confirm the doorbell is recognizing the microSD card, go to the SD Card Settings in the Settings menu and make sure microSD Card Capacity menu shows Total Capacity, Used and Free Space. If this does not appear you may consider reformatting the microSD card. WARNING: Reformatting microSD card will delete all videos stored on card. Please go through the troubleshooting section before doing so or contact our Customer Support Team. |
| How do I set the doorbell to Event or Continuous Recording? | • In the Settings menu under SD Card Settings make sure Record Button is turned On and then select Event Recording or Continuous Recording. |
| How can I check the available space on the SD Card? | • In the Settings menu under SD Card Settings, you will see Used Space and Free Space. Note: Doorbell only supports 128GB or less microSD cards with FAT32 format. |
| What happens when the microSD card reaches full capacity? | • Once the microSD card reaches full capacity, new videos will start rewriting (deleting) over the oldest videos. |
|
Can I use a new microSD card if I do not want to record over existing videos? | • Yes, you can use a new microSD card if you do not want to record over existing videos by removing the doorbell from the mounting plate and replacing the existing microSD card with a new one as long as it does not exceed 128GB. Once this is completed you will need to format the microSD card by going to the SD Card Settings in the Settings menu and pressing Format SD Card then Confirm. WARNING: Reformatting microSD card will delete all content stored on card. |




















