Ring Video Doorbell 3 Plus
User Manual

1. Charge the provided battery
Plug the battery in.
First, fully charge the battery by plugging it into a power source using the provided orange cable.
The small light on top will glow green once fully charged.

Insert the battery.
After charging, insert the battery in the bottom of your Video Doorbell until it clicks into place.

2. Set up your Video Doorbell in the Ring app.
Download the Ring app.
The Ring app walks you through setting up and managing your Video Doorbell.
Search for “Ring” in one of the app stores below, or visit: ring.com/app

Set up your Video Doorbell near your Wi-Fi router.
In the Ring app, select Set Up a Device.
When prompted, select Doorbells, and follow the in-app instructions.
Grab your Wi-Fi password

Try it out!
After setup, push the button on the front of your Video Doorbell to see video from the camera in the Ring app.

3. Install your Video Doorbell.
Select your install height.
Install Video Doorbell approximately four feet (1.20 metres) above the ground for optimal performance.
If you’re connecting to existing doorbell wiring that’s higher than four feet, thus limiting where you can install your new Doorbell, use the provided wedge mount to angle your Doorbell down.

Steps for wiring to an existing doorbell

Remove your existing doorbell. (optional)
If replacing an existing doorbell, shut off power at the breaker. Then remove it from the wall and disconnect the wires.
Your Video Doorbell is compatible with doorbell systems supplying 8-24 volts AC at 50 or 60Hz, 40VA max.
Do not wire your Video Doorbell to a DC-powered intercom
system or other DC power source.
Do you have an in-home chime?
If desired, the chime can ring when the button on your Ring Doorbell is pressed.
Just follow the in-app instructions during setup.

Don’t have an in-home chime?
If you see the “No In-Home Chime” button during setup, be sure to press it.
—————————————
NO IN-HOME CHIME
—————————————
To change your wiring settings after setup, go to Device Settings > Chime Connection.
Also, consider purchasing a Ring Chime or Chime Pro, which allow you to hear Ring alerts from anywhere in your home.

Insert the mini-level.
Insert the mini-level into your Video Doorbell to make sure it’s even when you install it.
Install the anchors. (optional)
If installing on stucco, brick, or concrete, mark 4 drill holes. Use the provided masonry drill bit to drill holes in your wall, then insert the included anchors.

If you’re installing on wood, skip this step and toss the anchors in that drawer of stuff you never use.
Connect the wires. (optional)
Connect the wires coming out of your wall to the screws on the back of your Video Doorbell.
Either wire can connect to either screw. The order doesn’t matter.

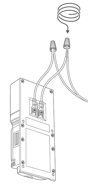
Attach the wire extensions. (optional)
If you have trouble connecting the wires coming out of your wall to the back of your Video Doorbell, use the provided wire extensions and wire nuts.

Screw it in.
Feed all the wires (and the wire nuts, if you used them) into your wall and secure your Video Doorbell on the wall using four screws.

Install the faceplate.
Place one of the provided faceplates on your Video Doorbell by slotting it in at the top and clicking it into place.

Secure the faceplate.
Lastly, insert one of the provided security screws into the bottom, and tighten with the starshaped end of the screwdriver bit.
That’s it! Your Video Doorbell is now ready to use.

For additional help, visit: ring.com/help
Or give us a call…
US: 1 800 656 1918
Canada: 1 855 300 7289
Worldwide: +1 310 929 7085
AU: 1 300 205 983
NZ: +64 9 887 9871
To review your warranty coverage, please visit www.ring.com/warranty
© 2020 Ring LLC or its affiliates.
Ring and all related logos are trademarks of Ring LLC or its affiliates.
For a list of all our customer support numbers,
Visit: ring.com/callus



















