FEIT ELECTRIC CAM/DOOR/WIFI Smart Video Doorbell User Manual


Safety Information
IMPORTANT SAFEGUARDS:
ALWAYS FOLLOW BASIC SAFETY PRECAUTIONS WHEN USING ELECTRICAL PRODUCTS, ESPECIALLY WHEN CHILDREN ARE PRESENT.
CAUTION: Your transformer should match the normal operation voltage. Do not use DC power supplies with wired chimes. Not all chimes are compatible with the Smart Doorbell.
Mechanical Chime – For 12-24VAC normal operation, install the Power Kit to give consistent power to your Smart Doorbell. Choose “Mechanical Chime” setting in the app after pairing the device to function property. Check your installation if the Power Kit is buzzing or hot to touch . Your wiring may be wrong. Consult a professional electrician for further assistance.
Digital Chime – For 12-24VAC normal operation, DO NOT install the Power Kit Choose “None” setting in the app after pairing the device to function properly.
Intercom System – Incompatible with the Smart Doorbell.
CAUTION: Requires a transformer (not included): 12-24VAC 60Hz. This product is not user-serviceable. Do not attempt to open the product enclosure for any reason. Before installing your smart video doorbell, thoroughly review enclosed installation guide. If you do not have sufficient electrical wiring experience, please refer to a do-it-yourself wiring handbook or have your smart video doorbell installed by a qualified licensed electrician. Reliable operating temperature is -4°F to 122°F (-20°C to 50°C). This product must be installed in accordance with the applicable installation code by a person familiar with the construction and operation of the product and hazards involved. Min. 90°C supply conductors.
CAUTION: Intended for outdoor use. May be used indoors.
CAUTION: If you are unfamiliar or inexperienced with your home’s electrical systems, contact a certified electrician for assistance.
WARNING: This product may represent a possible shock or fire hazard if improperly installed or attached in any way. Product should be installed in accordance with the owner’s manual, current electrical codes and/or the current National Electric Code (NEC).
RISK OF ELECTRIC SHOCK: Tum off the main power at the circuit breaker before installing.
FCC Statement
Supplier’s Declaration of Conformity: 47 CFR § 2.1077 Compliance Information
Responsible Party: Feit Electric Company, 4901 Gregg Road, Pico Rivera, CA 90660, USA 562-463-2852
Unique Identifier: CAM/DOOR/WIFI
This device complies with part 15 of the FCC Rules. Operation is subject to the following two conditions: (1) This device may not cause harmful interference, and (2) this device must accept any interference received, including interference that may. cause undesired operation. Note: This equipment has been tested and found to comply with the limits for a Class B digital device pursuant to part 15 of the FCC Rules. These limits are designed to provide reasonable protection against harmful interference in a residential installation. This equipment generates, uses and can radiate radio frequency energy and, if not installed and used in accordance with the instructions, may cause harmful interference to radio communications. However, there is no guarantee that interference we not occur in a particular installation. If this equipment does cause harmful interference to radio or television reception, which can be determined by turning the equipment off and on, the user is encouraged to try to correct the interference by one or more of the following measures: Reorient or relocate the receiving antenna. Increase the separation between the equipment and receiver. Connect the equipment into an outlet on a circuit different from that to which the receiver is connected. Consult the dealer or an experienced radian technician for help. Any changes or modifications not expressly approved by the manufacturer could void the user’s authority to operate the equipment. CAN ICES-005 (B).
The device has been evaluated to meet general RF exposure requirement.
The device can be used in portable exposure condition without restriction.
The device can be used in mobile (min 7.87 in.) exposure condition without restriction.
Limited Warranty
This product is warrantied to be free from defects in workmanship and materials for up to 1 year from date of purchase. If the product fails within the warranty period, please visit feit.com/help for instructions on replacement/refund or call 866.326.BULB. REPLACEMENT OR REFUND IS YOUR SOLE REMEDY. EXCEPT TO THE EXTENT PROHIBITED BY APPLICABLE LAW, ANY IMPLIED WARRANTIES ARE LIMITED IN DURATION TO THE DURATION OF THIS WARRANTY. LIABILITY FOR INCIDENTAL OR CONSEQUENTIAL DAMAGES IS HEREBY EXPRESSLY EXCLUDED. Some states and provinces do not allow the exclusion of incidental or consequential damages, so the above limitation or exclusion may not apply to you. This warranty gives you specific legal rights, and you may also have other rights which vary from state to state or province to province.
Pre-Assembly
TOOLS REQUIRED TO MOUNT THE DOORBELL

HARDWARE INCLUDED


Description


Mounting & Installation
1 Shut Off the Power
Shut Off the power to your doorbell at the circuit or fuse breaker before installing.

2 Mark Screw Positions
Mark screw positions using the Mounting Plate (BB) on your wall.

3 Installing the Mounting Plate
Drill holes at the marked points if installing on a hard surface such as cocreator brick. Insert Mounting Anchors (FF) into holes. You can skip this step if installing on wood or siding.

Use the Mounting Screws (EE) to attach the Mounting Plate (BB) to the wall (see Fig.1 ).

Optional Angled Wall Mount Use the Mounting Screws (EE) to attach the Angle Wall Mount (CC) to the wall, then attach the Mounting Plate (BB) to the Angle Wall Mount (CC). Use the Angle Wall Mount Screws (GG) to screw in the Mounting Plate (BB) (see Fig. 2a & 2b).

NOTE: Feed your doorbell wires through the center hole before mounting.
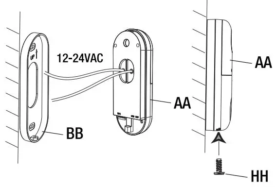
4 Installing the Smart Video Doorbell
Attach your doorbell wires to the External Power Port on the back of your Smart Video Doorbell (AA). Use the provided Wire Extenders (MM) and Wire Terminal Block (LL) if your existing doorbell wires are too short. Tighten the Terminal Screws (NN) with the screwdriver. Attach the Smart Video Doorbell (AA) onto the Mounting Plate (BB). Then secure it with a Star-Shaped Screw (HH) at the bottom of the Smart Video Doorbell (AA), using the Star-shaped Screwdriver (JJ).
NOTE: Your existing doorbell wires can go to any terminal on the External Power Port.

Power Kit Installation
1 Turn Off Power
Shut Off power to your doorbell and mechanical chime at the circuit or fuse breaker before installing. Ring your doorbell again to confirm the power is Off. You will not be able to hear any sound.
NOTE: Your transformer should match the normal operation voltage. Do not use DC power supplies with wired chimes. Not all chimes are compatible with the Smart Doorbell.
Mechanical Chime – For 12-24VAC normal operation, install the Power Kit to give consistent power to your Smart Doorbell. Choose “Mechanical Chime” setting in the app after pairing the device to function properly. Check your installation if the Power Kit is buzzing or hot to touch. Your wiring may be wrong. Consult a professional electrician for further assistance.
Digital Chime – For 12-24VAC normal operation, DO NOT install the Power Kit. Choose “None” setting in the app after pairing the device to function properly.
Intercom System – Incompatible with the Smart Doorbell.

2 Locate Existing Mechanical Chime
Locate your existing mechanical chime. It is a box that produces the sound when your doorbell is pressed. Remove the cover (here is an example of a mechanical chime).

3 Install Power Kit
Slightly unscrew the “FRONT” terminal and “TRANS” terminal. Connect each wire of the Power Kit (DD) to each screw. It does not matter which wire connects to which screw. Leave the existing doorbell wires and tighten both screws.

4 Replace The Cover
Use the included Double-Sided Tape (KK) to stick on the back of the Power Kit (DD). Position the Power Kit (DD) where space is available. It is important that the wires DO NOT interfere with any moving mechanical parts of the chime. Replace the cover.

APP Setup
Download and install the Feit Electric app
- Search for the Feit Electric app in the App Store or Google Play Store.
- Download and install the Feit Electric app on your smart device.

Set up the smart video doorbell using the Feit Electric app
- Check to be sure the camera is in pairing mode The RED indicator light must be blinking rapidly to connect. If not already blinking, press and hold the
Reset Button until you hear an audible tone. Use the Feit Electric app to complete the set up. - Tap Add Device or the + sign, then select Camera and confirm. You will be prompted to enter your Wi-Fi network and password.
- Follow the directions in the app to pair your device using the QR code. It may take 2-3 attempts.
- You can find more pairing methods in the drop down menu on the device set-up page.
Be sure to connect to a 2.4 GHz Wi-Fi network that covers your installation location.

Need Help?
Thank you for your purchase. Questions, comments or feedback?
We’d love to hear from you. Visit feit.com/help for support
or connect with us: 

Troubleshooting


FEIT ELECTRIC COMPANY I PICO RIVERA, CA I www.feit.com
























