Mega Bass Trap VMT Bass Trap Kit
Installation Guide
Mega Bass Trap VMT Bass Trap Kit
MATERIAL NEEDED
Included
Not Included
Remove the steel plate from the Mega Bass Trap top cover.
Remove the flat metal plate from the base of the Mega Bass Trap.
Attach the metal plate that you unscrewed from the Mega Bass Trap cover, to the mdf base plate.
Use the supplied gauge to mark the fixation points.
Use the previously marked point indicated in the diagram as a reference to mark the following points.
Repeat this step 3x, until you complete 3 holes in the same direction.
Please check if the points are marked correctly, before drilling the holes in the wall.
Repeat the process to make the mark in the adjacent wall.


Confirm that you have the points marked according to diagram.
If necessary, open the holes in the marked places, and apply the wall plugs. Fix the profile indicated, with screws suitable for the wall where you are making the installation.
Repeat the same steps to make the markings in the another wall.
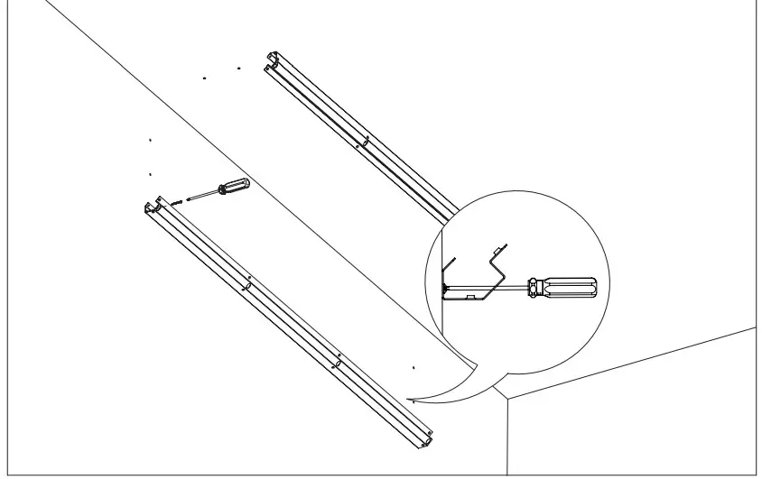
After installing the second profile, fix the protection bars with the unpainted screws provided.
If necessary, open the holes in the marked places, and apply the wall plugs. Fix the side covers, with screws suitable for the wall where you are making the installation.
Repeat the same process for the other side.
Pet Filling
Install the VMT Panel.
Fix the finishing profiles with the paintend screws supplied.

Main Office, R&D & Logistics
Avenida do Pólo 3, Nº 159, Carvalhosa
4590-137 Paços de Ferreira, Portugal
Office
Rua Quinta do Bom Retiro Nº 16, Armazém 9
2820-690 Charneca da Caparica, Portugal
T (+351) 212 964 100
Info and Sales
E [email protected]
www.vicoustic.com
© Vicoustic, 2022 | V1
No parts of this document might be copied and/or published without written consent of Vicoustic.
















