Unbranded FIT25W13G Admiral LED Band Instruction Manual
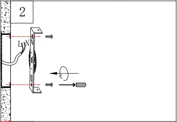
Installation Instruction





Warning
- Please wear gloves during the installation.
Do not install on ceiling which is damp or with wet limewater.- Cut off the electricity before installation in case of being shocked.
- Make sure the connected bolt is tightly locked before getting through the electricity.
- Do cut off the electricity before washing or repairing,and use the scour without causticity.
- Please cut off the electricity and wait until the bulbgets cooling before replacing the bulb incase of beingburned.
Do not install on ceiling which is damp or with wet limewater.















