V I V O PP-RD-069B Pop-up Cloth Room Divider

Scan the QR code with your mobile device or follow the link for helpful videos and specifications related to this product.
Instruction Manual
https://vivo-us.com/products/pp-rd-069b

GET IN TOUCH | Monday-Friday from 7:00am-7:00pm CST
WARNING
If you do not understand these directions, or if you have any doubts about the safety of the installation, please call a qualified technician. Check carefully to make sure there are no missing or defective parts. Improper installation may cause damage or serious injury. Do not use this product for any purpose that is not explicitly specified in this manual and do not exceed weight capacity. We cannot be liable for damage or injury caused by improper mounting, incorrect assembly, or inappropriate use.
WARNING: CHOKING HAZARD
SMALL PARTS – NOT FOR CHILDREN UNDER 3 YEARS. ADULT SUPERVISION IS REQUIRED.
PACKAGE CONTENTS

ASSEMBLY STEPS
STEP 1
Secure Small Inserts (S-D) into one end of Crossbars (E) and Crossbars With Extension (D). Assemble Large Inserts (S-E) into the bottoms of Lower Vertical Supports (B).

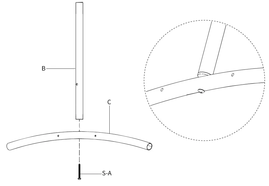
STEP 2
Assemble Feet (C) to Lower Vertical Supports (B) using ST4x40mm Screws (S-A) and a Phillips screwdriver.

STEP 3
Insert Lower Vertical Supports (B) into the bottom of Upper Vertical Supports (A).

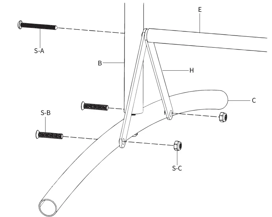
STEP 4
Assemble Braces (H) to feet (C) using M5x25mm Screws (S-B) and M5 Nuts (S-C). Secure x1 Crossbar (E) to x1 Lower Vertical Support (B) using ST4x40mm Screw (S-A).

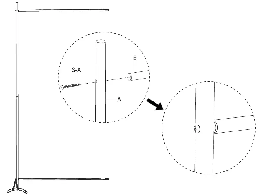
STEP 5
Assemble x1 Crossbar (E) to x1 Vertical Support (A) using ST4x40mm Screw (S-A) and a Phillips screwdriver.

STEP 6
Insert Crossbars with Extensions (D) to assembled Crossbars (E).

STEP 7
Slide Divider (F) onto the crossbar assembly.

STEP 8
Secure the other upright assembly to the crossbar assembly using ST4x40mm Screws (S-A) and a Phillips screwdriver.

STEP 9
Assemble End Caps (G) to Upper Vertical Supports (A) and Feet (C).

Love your new VIVO setup and want to share?
Tag us in your photo! @vivo_us
Open Monday – Friday 7:00am – 7:00pm CST,
our dedicated support team can offer immediate assistance with rapid response times. If any parts are received damaged or defective, please contact us. We are happy to replace parts to ensure you have a fully functioning product.



















