GUBI Timberline Floor Lamp Instruction Manual
CONTENTS

ASSEMBLY INSTRUCTIONS
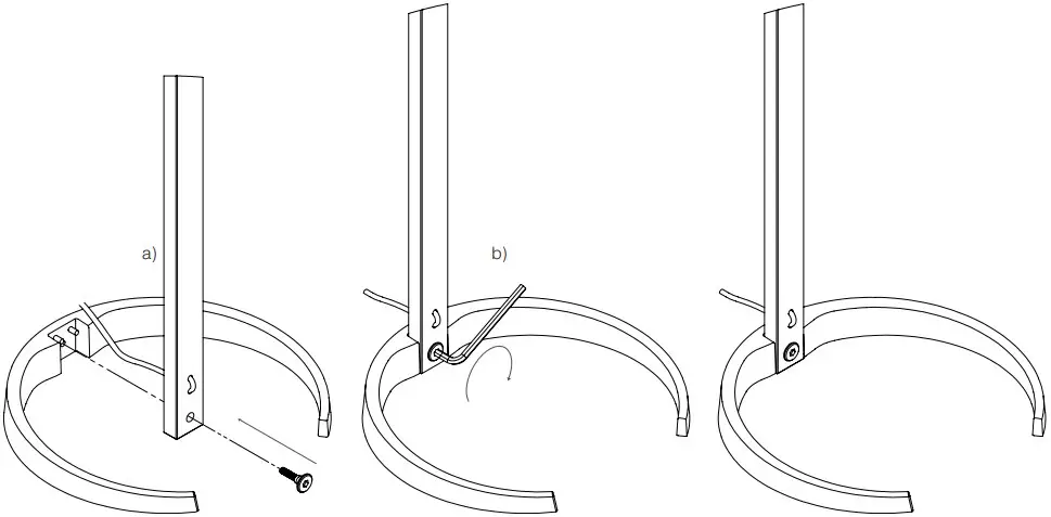
- Place the curved stem on the base and fix them with the bolt (a), tightening it with the tool (b).

- Take out the shade and the ring from package (a), unfold the shade (b), and click the five hooks on the ring (c). It is recommended to carry out this operation in two.
Fix the shade with the lampshade holder internal ring (d).
Adjust the position of shade as you prefer (e)
CARE INSTRUCTIONS
Daily cleaning can be done by wiping the frame with a clean dry cloth. Should the surface need more attention this can be cleaned with water and a light detergent or soap applied with a damp cloth. Wipe after with a clean dry cloth. Avoid any abrasive materials.
TROUBLESHOOTING
If lamp does not light, turn off the power. Check the bulb for a broken filament. Replace bulb if necessary, then turn it on.
If the lamp still does not light, please contact customer service at the local dealer. If the external flexible cable or cord of this lamp is damaged, it must be replaced by a qualified electrician in order to avoid a hazard.
ENVERIOMENTAL PROTECTION
Electrical products must be thrown out with domestic waste. They must be taken to a communal collecting point for environmentally friendly disposal in accordance with local regulations. Contact your local authorities or retailer for advice on recycling. The packaging material is recyclable. Dispose of the packaging in an environmentally friendly manner and make it available for recyclable material collection-service. Do not incinerate.
For enquiries contact GUBI A/S – CVR: 17940384
Klubiensvej 7-9. 2150 Nordhavn. Copenhagen, Denmark
T +45 69 15 60 60
[email protected]
GUBI.COM





















