glitzhome 9 Foot Pre-Lit Flocked Pencil Spruce Artificial Christmas Tree

Carefully unpack and identify each component before beginning assembly. Before you begin, please refer to the parts list to make sure that you have all parts. Please take care when assembling the unit and always place the parts on a clean, safe surface. If you require assistance with assembly or parts, please call 888-357-7263.
Before Assembling
- Please check and make sure all the parts have been received.
- Tools are not required for assembly.
- The length of an extension cord is 59 inches, please set up the tree in a suitable place away from the power socket.
Package Content

Part List

Assembly Instructions
- Step 1 Assemble the stand on a stable surface. Unfold the stand and insert the screws as indicated on Figure l.

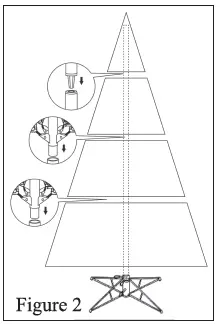
- Step 2 Insert the trunk in the stand as indicated on Figure 2 When the trunk consists of more than one part, begin by inserting into the stand (Part E) the lower parts of the tree (Part D, Part C, Part B) in respective order, ending with the top (Part A).

- Step 3 Unfold the branches one-by-one beginning with the lowest.

- Step 4 Make the final adjustment for an elegant look.

- Step 5 Connect the lights to the power line (Part F).

Disassembly and Storage
- Remove all decorations.
- Disassemble the tree in reverse order of assembly.
- Suggest storing the tree in its original carton box or in a storage bag and keep in a cool dry place.
Caution
- To be assembled by or under the supervision of an adult.
- Keep plastic bags out of reach of children.
- Keep away from fire or hot temperatures. Do not light a candle on or near the tree. Do not leave lighted electric cords unattended.
- Do not overload with heavy ornaments and/or too many decorations.
- Place the tree on an even surface to ensure stability.
- This tree is intended for indoor use only.
- Keep this information for future reference.
Made in China.
Get social with us and discover more about our products, tips, and exclusive discounts!
Glitzhome Corporation (Shanghai), Ltd.





















