glitzhome 2014600095 9ft Deluxe Pre-Lit Flocked Pine Artificial Christmas Tree

Disassembly and Storage
Remove all decorations.
Disassemble the tree in reverse order of assembly. Suggest to store the tree in its original carton box or in storage bag and keep in a cool dry place.
Caution
To be assembled by or under the supervision of an adult. Keep plastic bags out of reach of children. Keep away from fire or hot temperatures. Do not light a candle on or near the tree. Do not leave lighted electric cords unattended. Do not overload with heavy ornaments and/or too many decorations. Place the tree on an even surface to ensure stability. This tree is intended for indoor use only. Keep this information for future reference. Made in China
Before Assembling
- Please check and make sure all the parts have been received.
- Tools are not required for assembly.
- The length of extension cord is 59 inch, please set up the tree in the suitable place away from the power socket.
Content:
| Reference No. | Height | Number of tree parts | Stand |
| 2014600095 | 9′ | 4 | Metal |
Part List:
| Code | A | B | C | D | E | F |
| Part | ![]() | ![]() |
| ![]() | ![]() | ![]() |
| Description | Tree Top | Upper part | Middle part | Lower Part | Stand | Power line and Transformer |
| QTY/PC |
Assembly Instructions
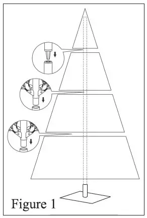
- Step 1 Insert the trunk in the stand as indicated on Figure 1
When the trunk consists of more than one part, begin by inserting into the stand (Part D) the lower parts of the tree (Part C, Part B) in respective order, ending with the top (Part A).

- Step 2 Unfold the branches one-by-one beginning with the lowest.

- Step 3 Make final adjustment for an elegant look.

- Step 4 Connect the lights to power line (Part E).

























