velex VX163 Gauge Hole Receivers

THIS PACKAGE CONTAINS
- Marine Media Player with Bluetooth x 1
- U mounting bracket (Pre-installed) x 1
- Screw Posts (Pre-installed) x 2
- Hex Nuts (Pre-installed) x 2
- User Manual x 1
Before You Start
Disconnect negative battery terminal. Consult a qualified technician for instruction. Avoid installing the unit where it would be subject to high temperatures, such as from direct sunlight, or where it would be subject to dust, dirt or excessive vibration.

Getting Started
Once a suitable location has been decided, drill the hole and secure the stereo using the metal mounting bracket.
| Color Connection | |
| Red | 12V Ignition / Accessory |
| Yellow | Battery |
| Black | Ground |
| Grey | Right Front (+) |
| Grey/Black | Right Front(-) |
| White | Left Front (+) |
| White/Black | Left Front (-) |
| Violet | Right Rear(+) |
| Violet/Black | Right Rear(-) |
| Green | Left Rear(+) |
| Green/Black | Left Rear(-) |
- Tip: When a suitable ground wire is not present in the vehicle wiring harness. Connect the black ground wire to the vehicle chassis.
- Fuse: When replacing the fuse, make sure new fuse is the correct type and amperage. Using an incorrect fuse could damage the radio.
Installation

Mounting the Radio
- Choose a mounting location on the dashboard or instrument panel that will allow room behind to run radio cables to the power source. Consider how you will use the AUX IN, LINE OUT and USB connectors and route the appropriate extension cables to an accessible area.
- Cut a hole (Diameter: 80mm/3.15 inch)in the dash board using the template provided on page 8. At least 3.5-inch depth is needed to mount the radio. IMPORTANT! Do not mount this unit where it can be submerged in water.
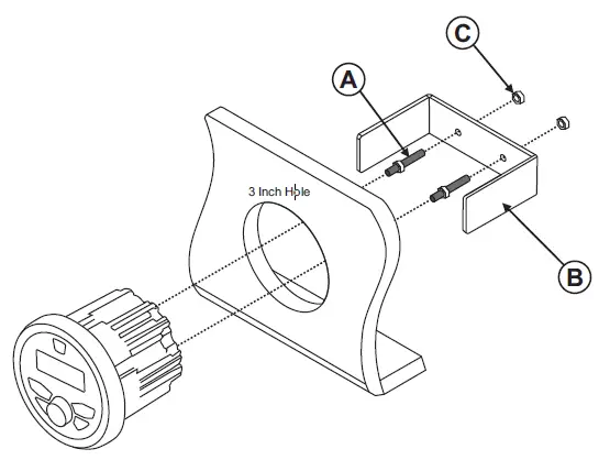
- Attach the included screw posts (A) to the back of the radio.
- Place the radio in front of the dashboard opening so the wiring can be brought through the opening.
- After completing the wiring connections(page 2), turn the radio on to confirm operation (vehicle accessory switch must be on). If the radio does not operate. Recheck all wiring until the problem is corrected. Once proper operation is achieved, turn the accessory switch off and proceed with final mounting of the radio. Refer to the wiring diagram.
NOTE: Before final installation, test the wiring connections to make sure the unit is connected properly and the system works. - Insert the radio into the mounting hole.
- Place the ‘U’ bracket (B) over the screw posts and secure the radio to the dash using the included hex nuts (C).
Control Locations – Receiver

- Power
- Tune Up/Next Track
- Tune Down/Previous Track
- Play/Pause
- Volume knob (Rotate) / SEL/Confirm (Press)
- Source
- Band
- Preset
General Operation
Power on/off — Press the ‘ ‘ button to turn the unit on. Short press to turn the unit off. Brightness — Press ‘ ‘ to adjust the back light brightness ( High / Medium / Off). Changing Modes — Press SRC to select between AM/FM, USB, Auxiliary and Bluetooth Music. Modes of operation are shown in the display. Volume — Adjust volume by rotating the volume knob. Mute — Press ‘>II’ to silence the audio. Press ‘>II’ again to resume listening at previous selected volume. Auxiliary InputsInsert a 3.5mm connector in the AUX port, the other end of 3.5mm connector to the headphone output of an audio device (3.5 mm audio cable sold separately ).
Audio setting

System setting

AM/FM Tuner Operation
- Press the SRC button to select TUNER
- Press >II button to MUTE, press again to UNMUTE
- To manual adjust frequency press >>I or |<<
- Press the PRESET button to recall PRESETS 1-6
- Press BAND to switch between FM1, FM2, FM3, MW1, MW2, WB;
Tuner Function Setting

- A – STORE: Automatic search the strong radio stations and store them into PRESET.
- M- STORE: Manual Store the Radio Station, tune to the favorite station, activate the M-STORE, the PRESET number will flashing on the LCD display, use the VOL+/VOL- button to adjust to your desired PRESET number ( P1 – P18 ) , then press >II button to manually save the station.
- LOCAL – ON/OFF.
- AREA – Select between EUROPE / AUST / USA frequency.
- RDS – ON/OFF; AF / TA / PTY – ON/OFF.
USB Operation (MP3/WMA)
Playing MP3/WMA Files To play MP3/WMA files, insert a USB device (not supplied) containing MP3/WMA files.
- Track Select – Press >> to skip to the beginning of the next track. – Press << to return to the beginning of the previous track. Press and
- Pause Press >II button to temporarily stop playback. Press >II button again to resume playback. Fast forward and reverse Press and hold >> or << to fast forward or reverse a track. Folder Search Short press BND button, ‘ROOT’ display on the screen, enable to select between folders. Short press >> or << button ( or Rotate the VOL knob ) to select folders; Short press >II button to enter into the selected folder; After select the folder, press >> or << button ( or Rotate the VOL knob) to select the songs; Short press >II button to play the selected song; Short press PRESET button to activate ‘RDM ALL(Random)’ – ‘RPT ALL(Repeat) ‘ – ‘RPT SONG’ and ‘RPT FLD’ function.
Bluetooth Operation
Preparation-Before using a Bluetooth device, it must be paired and connected. Ensure that Bluetooth is activated on your device before beginning the pairing process.
Pairing To pair your smartphone to VX163, press the SRC button to select ‘BT AUDIO’ mode, the ‘Bluetooth’ icon will be flashing on the LCD screen. Activate the Bluetooth on your smartphone to search for new devices. Connect with the device name ‘ VX163 ‘ when found. (If pin number is required by smartphone, please enter ‘0000’). Once pairing is successful, the ‘Bluetooth’ icon will be displayed on the screen. Press >> or << button to select next or previous track. Press >II button to pause or continue playback. While BT mode, Long press the ‘Band’ button to force disconnect the current Bluetooth connection.
DAB Operation (available for VX163D only)
Note: DAB+ ( Digital Audio Broadcasting) is only available for some European countries and Australia where has the Digital Radio Broadcasting. Press SRC button to switch to DAB+ mode, VX163D will automatically scan for local digital stations. This process may take a few seconds depending on the numbers of available stations. As DAB+ stations are found, they will be automatically stored into the DAB+ band memories. Once scanning is complete, VX163D will begin playing the station stored in the first memory location. And the station will be displayed on the screen.
Tuning DAB+ stations
Press I<< or >>I button to tune to previous / next DAB+ station. A – STORE: Long press BAND button for automatically scan and save the stations.
Specifications
General
- Power supply requirements: DC 12V Negative Ground
- Load impedance: 4-8 Ohms/channel
- Maximum output power: 40W x 4 (CH)
- Operate temperature: -10-50℃
- FM Tuner: Tuning range: 87.9MHz-107.9MHz (USA) 87.5MHz-108MHZ (EUR)
- AM Tuner: Tuning range: 530KHz-1710 KHz (USA) 522KHz-1620 KHz (EUR)
- DAB+ (VX150D only) Tuning Range: BAND III 174-240 Mhz
USB playback
- Signal to Noise Ratio: 55dB
- Frequency Response: 50Hz- 20KHz
- A/D Conversion Filter: 16BIT
- USB Storage Capacity: 16GB Max
Bluetooth
Version: 3.0
Note: Specification may change without notice.
Trouble Shooting
| ISSUE | OPTIONS |
|
Unit will not turn on (no power) | Cause: Yellow/red wire not connected or incorrect voltage Action: Check connections for proper voltage (11-16V DC) |
| Cause: Black wire not connected Action: Check connection to ground | |
| Cause: Fuse blown Action: Replace the fuse | |
|
Unit has power (but no sound) | Cause: Speaker wire not connected Action: Check connections at speakers |
| Cause: One or more speaker wires touching each other or touching chassis ground Action: Insulate all bare speaker wires from each other and chassis ground | |
|
Unit blows fuses | Cause: Yellow/red wire touching chassis ground Action: Check for pinched wire |
| Cause: Speaker wires touching chassis ground Action: Check for pinched wire | |
| Cause: Incorrect fuse rating Action: Use fuse with correct rating |
Cutting Template

FCC Statement
This device complies with part 15 of the FCC Rules. Operation is subject to the following two conditions: (1) This device may not cause harmful interference, and (2) this device must accept any interference received, including interference that may cause undesired operation. Any Changes or modifications not expressly approved by the party responsible for compliance could void the user’s authority to operate the equipment.
Note: This equipment has been tested and found to comply with the limits for a Class B digital device, pursuant to part 15 of the FCC Rules. These limits are designed to provide reasonable protection against harmful interference in a residential installation. This equipment generates uses and can radiate radio frequency energy and, if not installed and used in accordance with the instructions, may cause harmful interference to radio communications. However, there is no guarantee that interference will not occur in a particular installation. If this equipment does cause harmful interference to radio or television reception, which can be determined by turning the equipment off and on, the user is encouraged to try to correct the interference by one or more of the following measures:
- Reorient or relocate the receiving antenna.
- Increase the separation between the equipment and receiver.
- Connect the equipment into an outlet on a circuit different from that to which the receiver is connected.
- Consult the dealer or an experienced radio/TV technician for help.

















