VX230 Instruction Manual
Quick Start Guide
For Gauge Hole Receivers
Not all features listed in this QSG are available on all models.
THIS PACKAGE CONTAINS
| Marine Media Player with Bluetooth User Manual | x 1 |
| U mounting bracket (Pre-installed) | x 1 |
| Screw Posts (Pre-installed) | x 2 |
| Hex Nuts (Pre-installed) | x 2 |
Mounting &Wiring
Please read the entire manual before installation.
Before You Start
Disconnect negative battery terminal. Consult a qualified technician for instruction.
Avoid installing the unit where it would be subject to high temperatures, such as from direct sunlight, or where it would be subject to dust, dirt, or excessive vibration.

Getting Started
Once a suitable location has been decided, drill the hole and secure the stereo using the metal mounting bracket.
Color | Connection |
| Red | 12V Ignition / Accessory |
| Yellow | Battery |
| Black | Ground |
| Grey | Right Front (+) |
| Grey/Black | Right Front(-) |
| White | Left Front (+) |
| White/Black | Left Front (-) |
| Violet | Right Rear(+) |
| Violet/Black | Right Rear(-) |
| Green | Left Rear(+) |
| Green/Black | Left Rear(-) |
Tip: When a suitable ground wire is not present in the vehicle wiring harness.
Connect the black ground wire to the vehicle chassis.
Fuse: When replacing the fuse, make sure the new fuse is the correct type and amperage. Using an incorrect fuse could damage the radio.
Installation

Mounting the Radio
- Choose a mounting location on the dashboard or instrument panel that will allow room behind to run radio cables to the power source. Consider how you will use the AUX IN, LINE OUT and USB connectors and route the appropriate extension cables to an accessible area.
- Cut a hole (Diameter: 80mm/3.15 inch )in the dashboard using the template provided on page 8. At least a 3.5-inch depth is needed to mount the radio.
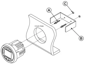
IMPORTANT! Do not mount this unit where it can be submerged in water. - Attach the included screw posts (A) to the back of the radio.
- Place the radio in front of the dashboard opening so the wiring can be brought through the opening.
- After completing the wiring connections(page 2), turn the radio on to confirm operation (vehicle accessory switch must be on). If the radio does not operate.
Recheck all wiring until the problem is corrected. Once the proper operation is achieved, turn the accessory switch off and proceed with the final mounting of the radio. Refer to the wiring diagram.
NOTE: Before final installation, test the wiring connections to make sure the unit is connected properly and the system works. - Insert the radio into the mounting hole.
- Place the ‘U’ bracket (B) over the screw posts and secure the radio to the dash using the included hex nuts (C).
Control Locations – Receiver

| 1. Power/Source 2. Tune Down/Previous Track 3. Tune-Up/Next Track 4. Volume Up | 5. Volume Down 6. Band/Scan 7. Play/Pause/MUTE 8. Setting/Clock |
General Operation
Power on/off – Press the ‘
‘ button to turn the unit on. Short press seconds to turn the unit off. ‘
‘ for 3 Changing Modes Press ‘SRC’ to select between Radio (AM/FM), USB, Auxiliary, and Bluetooth Music. Modes of operation are shown in the LCD display.
Volume – Adjust the volume using the volume up/down button.
Auxiliary inputs Insert a 3.5mm connector in the AUX port, the other end of a 3.5mm connector to the headphone output of an audio device (3.5 mm audio cable sold separately ).
SEL-Press SEL to select the audio setup menu option, VOL/BASS/TREBLE/ BALANCE/FADE/LOUD(ON/OFF), EQ (Class/Pop/ Off), STEREO/MONO, DX/LOCAL, AREA EURO/USA, TIME SETTING AND RESET (FACTORY DEFAULT).
The relative icon will be displayed on LCD.
Radio (AM/FM) Tuner Operation
Please connect to AM/FM aerial (not included) to ensure good radio reception.
Automatically Store Station: Switch to FM mode, long press BND for 2-3 seconds.
Switch between Manual / AUTO search – Press << or >> button for 2 seconds to switch between Manual / AUTO search.
When Manual is selected, short press >> button to move radio frequency up to one step at a time, press << button momentarily to move down one step at a time. 5 seconds time out to quit and LCD display ‘RECOVERY’ and then back to the selected frequency.
When AUTO is selected, short press >> or << button to seek the next strong station, 5 seconds time out to quit and LCD display ‘RECOVERY’ and back to the station frequency.
Pick up Preset: Short press >> button and jump to the next Preset station;
USB Operation (MP3/WMA)
To play MP3/WMA files, insert a USB device (not supplied) containing MP3/WMA files.
Switch to USB mode, the radio will automatically play music files from its first track.
Track Select-Press >> to skip to the beginning of the next track.
Press << to skip to the beginning of the previous track.
Press and hold the BND button for 3 seconds to enter Track search from 0001-9999.
Track 0000 will be displayed on LCD, press VOL+ or VOL- to adjust the tracking number then press the ‘SEL’ button to confirm the selection.
Pause
Press >II button to temporarily stop playback.
Press > II button again to resume playback.
Fast forward and reverse
Press and hold >> or << to fast forward or reverse a track.
Bluetooth Operation
Preparation-Before using a Bluetooth device, it must be paired and connected.
Ensure that Bluetooth is activated on your device before beginning the pairing process.
Pairing
To pair your smartphone to VX230, press the SRC button to select ‘BT’ mode, the ‘CONNECT’ will be flash on the LCD screen.
Activate the Bluetooth on your smartphone to search for new devices. Connect with the device name ‘ VELEX ‘ when found. (If pin number is required by smartphone, please enter ‘0000’). Once pairing is successful, ‘CONNECTED’ will be displayed on the screen.
Press >> or << button to select next or previous track.
Press >II button to pause or continue playback.
Clock Display and Adjustment
Press SEL momentarily several times until LCD display AM/PM + 0000, press and hold SEL for 2-3 seconds to enter Time Setting, use VOL+ or VOL- button to adjust the hour, then short press the SEL button to enter the minute setting, again use the VOL button to set the correct minute, 3 seconds time out to quit and the system will remember the time you’ve adjusted.
Specifications
General | |
| Power supply requirements: | DC 12V Negative Ground |
| Load impedance: | 4-8 Ohms/channel |
| Maximum output power: | 40W x 4 (CH) |
| Operate temperature: | -10-50 ℃ |
| FM Tuner: Tuning range: | 87.9MHz-107.9MHz (USA) 87.5MHz-108MHZ (EUR) |
| AM Tuner: Tuning range: | 530KHz-1710 KHz (USA) 522KHz-1620 KHz (EUR) |
USB playback | |
| Signal to Noise Ratio: | 55dB |
| Frequency Response: | 50Hz- 20KHz |
| A/D Conversion Filter: | 16BIT |
| USB Storage Capacity: | 16GB Max |
Bluetooth | |
| Version: | 5.0 |
*Note: Specification may change without notice.
Trouble Shooting
ISSUE | OPTIONS |
| The unit will not turn on (no power) | Cause: Yellow/red wire not connected or incorrect voltage Action: Check connections for proper voltage (11-16V DC) |
| Cause: Black wire not connected Action: Check connection to ground | |
| Cause: Fuse blown Action: Replace the fuse | |
| The unit has power (but no sound) | Cause: Speaker wire not connected Action: Check connections at speakers |
| Cause: One or more speaker wires touching each other or touching chassis ground Action: Insulate all bare speaker wires from each other and chassis ground | |
| Unit blows fuses | Cause: Yellow/red wire touching chassis ground Action: Check for pinched wire |
| Cause: Speaker wires touching chassis ground Action: Check for pinched wire | |
| Cause: Incorrect fuse rating Action: Use fuse with correct rating |
Cutting Template




















