RYOBI A90SG01 Chainsaw Sharpening

For use with RYOBI FVM51, TVM01, RRT100, and RRT200 Rotary Tools.
![]() | WARNING! To reduce the risk of injury, user must read and understand the operator’s manual for their rotary tool and this instruction sheet. Always wear eye protection with side shields marked to comply with ANSI Z87.1. Ensure compatibility and fit before using this accessory. Do not use this accessory if a part is damaged or missing. If you are not comfortable performing any of the functions described in these instructions, take your unit to an authorized service center. |
![]() | WARNING: Never install, remove, or adjust any attachment head while rotary tool is running. Failure to stop the motor can cause serious personal injury. Never operate rotary tool without an attachment head or the collar installed. |
![]() | WARNING: Follow all guidelines and warnings in your chainsaw owner’s manual for saw chain maintenance, removal, and reinstallation instructions. Damage to saw chain or improper removal and reinstallation may lead to serious injury. |
NOTE: Follow all guidelines and warnings in your rotary tool operator’s manual.
Use the sharpening guide to control the position of the bit when grinding along a saw chain.
INSTALLING THE CHAINSAW SHARPENING GUIDE
See Figures 1 – 4.
The sharpening guide may be used on four different sizes of chains (see the chart in figure 3). Once you have determined the size or pitch of your chain and the number of spacers needed, follow the steps below to install.
- Verify the rotary tool switch is in the OFF (O) position and unplug the rotary tool or remove the battery pack, if applicable.
- Remove accessories and quick-change collet according to the rotary tool operator’s manual.
- Hold the collar firmly, then turn it counterclockwise to loosen and remove.
- Install the quick-change collet and accessory according to the rotary tool operator’s manual. Ensure collet and accessory are secure.
- Insert the appropriate sharpening bit leaving approximately 1/4 in. space between the sharpening bit and the collet.
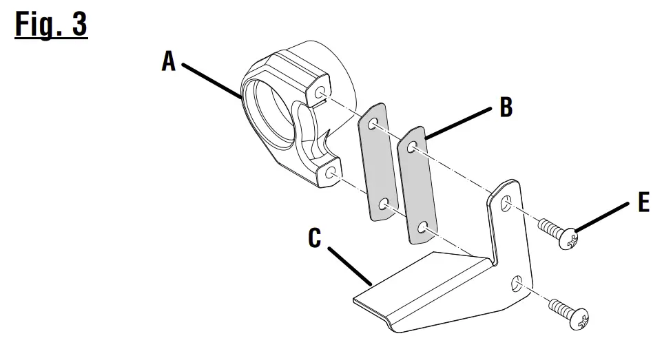
- Assemble the attachment by inserting the screws through the guide and spacers, if needed, into the clamp.
- Hold the attachment head firmly and turn it clockwise to tighten and secure.
- Check to be sure the guide is positioned correctly relative to the sharpening bit.
USING THE CHAINSAW SHARPENING GUIDE
See Figure 5.
- Consult your operator’s manual to properly tension the chain prior to sharpening.
- Place the saw on a flat, level surface.
- Carefully inspect the chain for any damaged or broken sections.
NOTE: Always wear heavy gloves when handling the saw chain. Do not sharpen if chain has been damaged. - Verify the rotary tool switch is set to the OFF (O) position and insert the power cord into an outlet or install the battery pack, if applicable.
- Start the tool and select the appropriate speed according to the rotary tool operator’s manual.
- Position the sharpening guide as shown, keeping the sharpening bit level with the top plate of the tooth.
- Slowly guide the sharpening bit against the tooth.
- File all left hand cutters in one direction. Rotate the chainsaw to the other side of the chain and file the right hand cutters.
- Remove the filings with a wire brush if necessary.
- When finished, turn off the rotary tool.
Figures
A – Collar (collier, collar)
A – Quick-change collet
B – Sharpening bit

A – Clamp
B – Spacers
C – Guide
D – Screw

| Chain Size/Pitch | Sharpening Bit Diameter | Number of Spacers |
| 1/4 in. pitch | 5/32 in. | No spacers needed |
| 3/8 in. pitch | 7/32 in. | Two spacers needed |
| 3/8 in. pitch (low profile) | 5/32 in. | No spacers needed |
| .325 in. pitch | 3/16 in. | One spacer needed |
A – Attachment head


Customer Support
TTI CONSUMER POWER TOOLS, INC.
P.O. Box 1288, Anderson, SC 29622
Phone 1-800-525-2579 www.ryobitools.com

















