HiKOKI WH 36DC Power Tools 36V Impact Driver

GENERAL POWER TOOL SAFETY
WARNING
Read all safety warnings, instructions, illustrations, and specifications provided with this power tool. Failure to follow all instructions listed below may result in electric shock, fi re, and/or serious injury.
Save all warnings and instructions for future reference
The term “power tool” in the warnings refers to your mains-operated (corded) power tool or battery-operated (cordless) power tool.
- Work area safety
- Keep the work area clean and well-lit.
Cluttered or dark areas invite accidents. - Do not operate power tools in explosive atmospheres, such as in the presence of flammable liquids, gases or dust.
Power tools create sparks that may ignite the dust or fumes. - Keep children and bystanders away while operating a power tool.
Distractions can cause you to lose control.
- Keep the work area clean and well-lit.
- Electrical safety
- Power tool plugs must match the outlet. Never modify the plug in any way. Do not use any adapter plugs with earthed (grounded) power tools. Unmodifi ed plugs and matching outlets will reduce risk of electric shock.
- Avoid body contact with earthed or grounded surfaces, such as pipes, radiators, ranges and refrigerators.
There is an increased risk of electric shock if your body is earthed or grounded. - Do not expose power tools to rain or wet conditions.
Water entering a power tool will increase the risk of electric shock. - Do not abuse the cord. Never use the cord for carrying, pulling or unplugging the power tool. Keep cord away from heat, oil, sharp edges or moving parts.
Damaged or entangled cords increase the risk of electric shock. - When operating a power tool outdoors, use an extension cord suitable for outdoor use.
Use of a cord suitable for outdoor use reduces the risk of electric shock. - If operating a power tool in a damp location is unavoidable, use a residual current device (RCD) protected supply.
Use of an RCD reduces the risk of electric shock.
- Personal safety
- Stay alert, watch what you are doing and use common sense when operating a power tool. Do not use a power tool while you are tired or under the influence of drugs, alcohol or medication. A moment of inattention while operating power tools may result in serious personal injury.
- Use personal protective equipment. Always wear eye protection.
Protective equipment such as a dust mask, non-skid safety shoes, hard hat or hearing protection used for appropriate conditions will reduce personal injuries. - Prevent unintentional starting. Ensure the switch is in the off -position before connecting to a power source and/or battery pack, picking up or carrying the tool.
Carrying power tools with your fi nger on the switch or energizing power tools that have the switch on invites accidents. - Remove any adjusting key or wrench before turning the power tool on.
A wrench or a key left attached to a rotating part of the power tool may result in personal injury. - Do not overreach. Keep proper footing and balance at all times.
This enables better control of the power tool in unexpected situations. - Dress properly. Do not wear loose clothing or jewelry. Keep your hair and clothing away from moving parts.
Loose clothes, jewelry or long hair can be caught in moving parts. - If devices are provided for the connection of dust extraction and collection facilities, ensure these are connected and properly used.
Use of dust collection can reduce dust-related hazards. - Do not let familiarity gained from the frequent use of tools allow you to become complacent and ignore tool safety principles.
A careless action can cause severe injury within a fraction of a second.
- Power tool use and care
- Do not force the power tool. Use the correct power tool for your application.
The correct power tool will do the job better and safer at the rate for which it was designed. - Do not use the power tool if the switch does not turn it on and off.
Any power tool that cannot be controlled with the switch is dangerous and must be repaired. - Disconnect the plug from the power source and/or remove the battery pack, if detachable, from the power tool before making any adjustments, changing accessories, or storing power tools. Such preventive safety measures reduce the risk of starting the power tool accidentally.
- Store idle power tools out of the reach of children and do not allow persons unfamiliar with the power tool or these instructions to operate the power tool.
Power tools are dangerous in the hands of untrained users. - Maintain power tools and accessories. Check for misalignment or binding of moving parts, breakage of parts and any other condition that may affect the power tool’s operation.
If damaged, have the power tool repaired before use. Many accidents are caused by poorly maintained power tools. - Keep cutting tools sharp and clean.
Properly maintained cutting tools with sharp cutting edges are less likely to bind and are easier to control. - Use the power tool, accessories and tool bits etc. in accordance with these instructions, taking into account the working conditions and the work to be performed.
Use of the power tool for operations diff erent from those intended could result in a hazardous situation. - Keep handles and grasping surfaces dry, clean and free from oil and grease. Slippery handles and grasping surfaces do not allow for safe handling and control of the tool in unexpected situations.
- Do not force the power tool. Use the correct power tool for your application.
- Battery tool use and care
- Recharge only with the charger specifi ed by the manufacturer.
A charger that is suitable for one type of battery pack may create a risk of fire when used with another battery pack. - Use power tools only with specifi cally designated battery packs.
Use of any other battery packs may create a risk of injury and fi re. - When battery pack is not in use, keep it away from other metal objects, like paper clips, coins, keys, nails, screws or other small metal objects, that can make a connection from one terminal to another. Shorting the battery terminals together may cause burns or a fi re.
- Under abusive conditions, liquid may be ejected from the battery; avoid contact. If contact accidentally occurs, flush with water. If liquid contacts eyes, additionally seek medical help. Liquid ejected from the battery may cause irritation or burns.
- Do not use a battery pack or tool that is damaged or modifi ed.
Damaged or modifi ed batteries may exhibit unpredictable behavior resulting in fi re, explosion or risk of injury. - Do not expose a battery pack or tool to fi re or excessive temperature.
Exposure to fi re or temperature above 130°C may cause an explosion. - Follow all charging instructions and do not charge the battery pack or tool outside the temperature range specified in the instructions. Charging improperly or at temperatures outside the specified range may damage the battery and increase the risk of fi re.
- Recharge only with the charger specifi ed by the manufacturer.
- Service
- Have your power tool serviced by a qualified repair person using only identical replacement parts.
This will ensure that the safety of the power tool is maintained. - Never service damaged battery packs. Service of battery packs should only be performed by the manufacturer or authorized service providers.
- Have your power tool serviced by a qualified repair person using only identical replacement parts.
PRECAUTION
Keep children and infi rm persons away. When not in use, tools should be stored out of reach of children and infi rm persons.
CORDLESS IMPACT DRIVER SAFETY
WARNINGS
Hold the power tool by insulated gripping surfaces, when performing an operation where the fastener may contact hidden wiring. Fasteners contacting a “live” wire may make exposed metal parts of the power tool “live” and could give the operator an electric shock.
ADDITIONAL SAFETY WARNINGS
- This is a portable tool for tightening and loosening screws, bolts and nuts. Use it only for this operation.
- Make sure to securely hold the tool during operation. Failure to do so can result in accidents or injuries. (Fig. 14)

- Make sure that the battery is installed firmly. If it is as all lose it could come off and cause an accident.
- Preparing and checking the work environment. Make sure that the work site meets all the conditions laid forth in the precautions.
- Do not allow foreign matter to enter the hole for connecting the rechargeable battery.
- Never disassemble the rechargeable battery and charger.
- Never short-circuit the rechargeable battery. Short-circuiting the battery will cause a great electric current and overheat. It results in burn or damage to the battery.
- Do not dispose of the battery in fi re. If the battery is burnt, it may explode.
- Bring the battery to the shop from which it was purchased as soon as the post-charging battery life becomes too short for practical use. Do not dispose of the exhausted battery.
- Do not insert objects into the air ventilation slots of the charger. Inserting metal objects or inflammables into the charger air ventilation slots will result in an electrical shock hazard or a damaged charger.
- Check the actual tightening torque with a torque wrench.
- Stop the tool before switching the direction of rotation. Always release the switch and wait for tool to stop before switching the direction of rotation.
- Never touch the turning part. Do not allow the turning part section to get near your hands or any other part of your body. You could be cut or caught in the turning part. Also, be careful not to touch the turning part after using continuously it for a long time. It gets quite hot and could burn you.
- Please use the designated attachments which are listed in the operations manual and HiKOKI’s catalog. Accidents or injuries could result from not doing so.
- Make sure to fi rmly install the attachments in the anvil. If the attachment is not firmly installed it might come out and cause injuries.
After installing the driver bit, pull lightly out the bit to make sure that it does not come loose during use. If the guide sleeve does not return to its original position, then the bit is not installed properly. - Resting the unit after continuous work.
- The power tool is equipped with a temperature protection circuit to protect the motor. Continuous work may cause the temperature of the unit to rise, activating the temperature protection circuit and automatically stopping operation. If this happens, allow the power tool to cool before resuming use.
- The motor may stop in the event the tool is overloaded. In this should occur, release the tool’s switch and eliminate the cause of the overload.
Avoid touching the front case which can heat up during continuous operation. - The use of the battery in a cold condition (below 0 degrees Centigrade) can sometimes result in weakened tightening torque and reduced amount of work. This, however, is a temporary phenomenon and returns to normal when the battery warms up.
- Install securely the hook. Unless the hook is securely installed, it may cause an injury while using it. When electing to carry the tool hooked to your hip belt, make sure to detach the tool bit and side handle. Failure to do so may result in unexpected injury.
- Do not touch the metal parts, as it gets very hot during continuous work.
- Do not look directly into the light. Such actions could result in eye injury. Wipe off any dirt or grime attached to the lens of the LED light with a soft cloth, being careful not to scratch the lens. Scratches on the lens of the LED light can result in decreased brightness.
- Do not use the product if the tool or the battery terminals (battery mount) are deformed. Installing the battery could cause a short circuit that could result in smoke emission or ignition.
- Keep the tool’s terminals (battery mount) free of swarf and dust.
- Prior to use, make sure that swarf and dust have not collected in the area of the terminals.
- During use, try to avoid swarf or dust on the tool from falling on the battery.
- When suspending operation or after use, do not leave the tool in an area where it may be exposed to falling swarf or dust. Doing so could cause a short circuit that could result in smoke emission or ignition.
- Always use the tool and battery at temperatures between – 5°C and 40°C.
- Always charge the battery at an ambient temperature of 0–40°C.
CAUTION ON LITHIUM-ION BATTERY
To extend the lifetime, the lithium-ion battery equips with the protection function to stop the output.
In the cases of 1 to 3 described below, when using this product, even if you are pulling the switch, the motor may stop. This is not the trouble but the result of the protection function.
- When the battery power remaining runs out, the motor stops. In such a case, charge it up immediately.
- If the tool is overloaded, the motor may stop. In this case, release the switch of tool and eliminate causes of overloading. After that, you can use it again.
- If the battery is overheated under overload work, the battery power may stop. In this case, stop using the battery and let the battery cool. After that, you can use it again.
Furthermore, please heed the following warning and caution.
WARNING
In order to prevent any battery leakage, heat generation, smoke emission, explosion and ignition beforehand, please be sure to heed the following precautions.
- Make sure that swarf and dust do not collect on the battery.
- During work make sure that swarf and dust do not fall on the battery.
- Make sure that any swarf and dust falling on the power tool during work do not collect on the battery.
- Do not store an unused battery in a location exposed to swarf and dust.
- Before storing a battery, remove any swarf and dust that may adhere to it and do not store it together with metal parts (screws, nails, etc.).
- Do not pierce battery with a sharp object such as a nail, strike with a hammer, step on, throw or subject the battery to severe physical shock.
- Do not use an apparently damaged or deformed battery.
- Do not use the battery in reverse polarity.
- Do not connect directly to electrical outlets or car cigarette lighter sockets.
- Do not use the battery for a purpose other than those specified.
- If the battery charging fails to complete even when a specified recharging time has elapsed, immediately stop further recharging.
- Do not put or subject the battery to high temperatures or high pressure such as into a microwave oven, dryer, or high-pressure container.
- Keep away from fi re immediately when leakage or foul odor are detected.
- Do not use in a location where strong static electricity generates.
- If there is battery leakage, foul odor, heat generated, discolored or deformed, or in any way appears abnormal during use, recharging or storage, immediately remove it from the equipment or battery charger, and stop use.
- Do not immerse the battery or allow any fl uids to fl ow inside. Conductive liquid ingress, such as water, can cause damage resulting in fire or explosion. Store your battery in a cool, dry place, away from combustible and flammable items. Corrosive gas atmospheres must be avoided.
CAUTION
- If liquid leaking from the battery gets into your eyes, do not rub your eyes and wash them well with fresh clean water such as tap water and contact a doctor immediately.
- If left untreated, the liquid may cause eye problems. If liquid leaks onto your skin or clothes, wash well with clean water such as tap water immediately. There is a possibility that this can cause skin irritation.
- If you fi nd rust, foul odor, overheating, discolor, deformation, and/or other irregularities when using the battery for the first time, do not use and return it to your supplier or vendor.
WARNING
If a conductive foreign matter enters in the terminal of the lithium-ion battery, the battery may be shorted, causing fi re. When storing the lithium-ion battery, obey surely the rules of following contents.
- Do not place conductive debris, nail and wires such as iron wire and copper wire in the storage case.
- To prevent shorting from occurring, load the battery in the tool or insert securely the battery cover for storing until the ventilator is not seen.
REGARDING LITHIUM-ION BATTERY TRANSPORTATION
When transporting a lithium-ion battery, please observe the following precautions.
WARNING
Notify the transporting company that a package contains a lithium-ion battery, inform the company of its power output and follow the instructions of the transportation company when arranging transport.
- Lithium-ion batteries that exceed a power output of 100 Wh are considered to be in the freight classifi cation of Dangerous Goods and will require special application procedures.
- For transportation abroad, you must comply with international law and the rules and regulations of the destination country.

USB DEVICE CONNECTION PRECAUTIONS (UC18YSL3)
When an unexpected problem occurs, the data in a USB device connected to this product may be corrupted or lost. Always make sure to back up any data contained in the USB device prior to use with this product.
Please be aware that our company accepts absolutely no responsibility for any data stored in a USB device that is corrupted or lost, nor for any damage that may occur to a connected device.
WARNING
- Prior to use, check the connecting USB cable for any defect or damage. Using a defective or damaged USB cable can cause smoke emission or ignition.
- When the product is not being used, cover the USB port with the rubber cover. The buildup of dust etc. in the USB port can cause smoke emission or ignition.
NOTE
- There may be an occasional pause during USB recharging.
- When a USB device is not being charged, remove the USB device from the charger. Failure to do so may not only reduce the battery life of a USB device but may also result in unexpected accidents.
- It may not be possible to charge some USB devices, depending on the type of device.
PRECAUTIONS REGARDING THE DUST-RESISTANCE AND WATERPROOFING FUNCTIONS
This product conforms to IP56 protection class ratings (dust-resistance and water-proofi ng) for electrical equipment as stipulated by the international IEC regulations. (Only the main unit conforms to the IP56 protection class ratings when equipped with a battery.)
Descriptions of IP Codes
IP56 Protection rating for water penetration
Must be no adverse effects on the equipment when sprayed with powerful jets of water from all directions (water-proofed). (100 L of water per minute sprayed for approximately three minutes from a distance of approximately three meters with the use of a spray nozzle with a diameter of 12.5 mm.)
Protection rating for external assault by solid objects
Dust that may cause adverse effects on the equipment must not be able to enter (dust resistance). (The equipment to be left non-operable in a test chamber in which particles of talcum powder with a diameter of fewer than 75 μm are floating in the air with the use of an agitation pump at a rate of 2 kg per cubic meter for eight hours.).
The equipment has been designed to withstand the effects of dust and water, but there is no guarantee that it will not malfunction. Do not use or leave the equipment in locations where it is subject to excessive amounts of dust, or in locations where it is submerged in water or subject to rainwater.
NAMES OF PARTS
(Fig. 1–Fig. 14) in below table
| 1 | Protector | 14 | Charge indicator lamp |
| 2 | Hammer case | 15 | Driver bit (sold separately) |
| 3 | Guide sleeve | 16 | Groove |
| 4 | LED Light | 17 | Screw |
| 5 | Trigger switch | 18 | Remaining battery indicator switch |
| 6 | Switch panel | 19 | Remaining battery indicator lamp |
| 7 | Battery | 20 | Display panel |
| 8 | Hook | 21 | Light section switch |
| 9 | Handle | 22 | Tightening mode selector switch |
| 10 | Push button | 23 | Tightening mode indicator lamp |
| 11 | Housing | 24 | Rubber cover |
| 12 | Color plate (sold separately) | 25 | USB port |
| 13 | Latch | 26 | USB cable |
SYMBOLS
WARNING
The following show symbols used for the machine. Be sure that you understand their meaning before use.



Depending on the attached battery. The heaviest weight is measured with BSL36B18 (sold separately).
STANDARD ACCESSORIES
In addition to the main unit (1 unit), the package contains the accessories listed. Standard accessories are subject to change without notice.
APPLICATIONS
Driving and removing of machine screws, wood screws, tapping screws, etc.
SPECIFICATIONS
The specifi cations of this machine are listed.

NOTE
- Existing batteries (BSL3660/3620/3626, BSL18xx, and BSL14xx series) cannot be used with this tool.
- Due to HiKOKI’s continuing program of research and development, the specifications herein are subject to change without prior notice.
CHARGING
Before using the power tool, charge the battery as follows.
- Connect the charger’s power cord to the receptacle. When connecting the plug of the charger to a receptacle, the pilot lamp will blink in red (At 1- second intervals).
- Insert the battery into the charger.
Firmly insert the battery into the charger as shown in Fig. 3 (on page 2).

- Charging
When inserting a battery in the charger, the charge indicator lamp will blink in blue. When the battery becomes fully recharged, the charge indicator lamp will light up in green.- Charge indicator lamp indication
The indications of the charge indicator lamp will be as shown in Table 1, according to the condition of the charger or the rechargeable battery.
- Charge indicator lamp indication
Regarding the temperatures and charging time of the rechargeable battery The temperatures and charging time will become as shown in Table 2.
| Charger | UC18YSL3 | ||||||
|
Battery | Type of battery | Li-ion | |||||
| Temperatures at which the battery can be recharged | 0°C–50°C | ||||||
| Charging voltage | V | 14.4 | 18 | ||||
| BSL14xx series | BSL18xx series | Multi volt series | |||||
| (4 cells) | (8 cells) | (5 cells) | (10 cells) | (10 cells) | |||
| Charging time, approx. (At 20°C) |
min | BSL1415S: 15 BSL1415: 15 BSL1415X: 15 BSL1420: 20 BSL1425: 25 BSL1430C : 30 | BSL1430: 20 BSL1440 : 26 BSL1450: 32 BSL1460: 38 | BSL1815S: 15 BSL1815: 15 BSL1815X: 15 BSL1820: 20 BSL1825: 25 BSL1830C: 30 BSL1850C : 32 | BSL1830: 20 BSL1840: 26 BSL1850: 32 BSL1860: 38 | BSL36A18: 32 BSL36B18: 52 | |
| USB | Charging voltage | V | 5 | ||||
| Charging current | A | 2 | |||||
NOTE
The recharging time may vary according to the ambient temperature and power source voltage.
- Disconnect the charger’s power cord from the receptacle.
- Hold the charger firmly and pull out the battery.
NOTE
Be sure to pull out the battery from the charger after use, and then keep it.
Regarding electric discharge in case of new batteries, etc
As the internal chemical substance of new batteries and batteries that have not been used for an extended period is not activated, the electric discharge might be low when using them the first and second time. This is a temporary phenomenon, and the normal time required for recharging will be restored by recharging the batteries 2–3 times.
How to make the batteries perform longer
- Recharge the batteries before they become completely exhausted
When you feel that the power of the tool becomes weaker, stop using the tool and recharge its battery. If you continue to use the tool and exhaust the electric current, the battery may be damaged and its life will become shorter. - Avoid recharging at high temperatures
A rechargeable battery will be hot immediately after use. If such a battery is recharged immediately after use, its internal chemical substance will deteriorate, and the battery life will be shortened. Leave the battery and recharge it after it has cooled for a while.
CAUTION
- If the battery is charged while it is heated because it has been left for a long time in a location subject to direct sunlight or because the battery has just been used, the charge indicator lamp of the charger lights for 0.3 seconds, does not light for 0.3 seconds (off for 0.3 seconds). In such a case, first let the battery cool, then start charging.
- When the charge indicator lamp fl ickers (at 0.2-second intervals), check for and take out any foreign objects in the charger’s battery connector. If there are no foreign objects, it is probable that the battery or charger is malfunctioning. Take it to your authorized Service Center.
- Since the built-in microcomputer takes about 3 seconds to confirm that the battery being charged with UC18YSL3 is taken out, wait for a minimum of 3 seconds before reinserting it to continue charging. If the battery is reinserted within 3 seconds, the battery may not be properly charged.
MOUNTING AND OPERATION
| Action | Figure | Page |
| Removing and inserting the battery | ![]() | 2 |
| Charging | ![]() | 2 |
| Mounting the bit | ![]() | 2 |
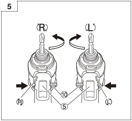
| Reversing the rotational direction | ![]() | 2 |
| Switch operation | ![]() | 3 |
| Removing and mounting the hook | ![]() | 3 |
| Remaining battery indicator | ![]() | 3 |
| How to use the LED light*1 | ![]() | 3 |
| Tightening mode selector function*2 | ![]() | 4 |
| Charging a USB device from an electrical outlet | 11-a![]() | 4 |
| Charging a USB device and battery from an electrical outlet | 11-b | 4 |
| How to recharge a USB device | ![]() | 4 |
| When charging of USB device is completed | ![]() | 5 |
| Selecting accessories | ― | 226 |

1 How to use the LED light
NOTE
- Press the light section switch on the switch panel to change the lighting mode of the LED light from “Always-ON” → “SW interlocked” → “OFF”.
- To conserve battery power, make sure to extinguish the light as much as possible.
- To prevent the battery power consumption caused by forgetting to turn off the LED light, the light goes off automatically in about 10 minutes.
Tightening mode selector function
CAUTION
Select tightening mode while the trigger switch is released. Failure to do so could result in malfunction.
By using the Tightening mode selector switch, the tightening torque can be adjusted according to the type of work. The Tightening mode switches between 5 diff erent modes each time the Tightening mode selector switch is pressed. Upon pulling the trigger switch in bolt single mode, the driver will automatically stop after applying a number of impacts. Soft/power/bolt and self-drilling screw mode will commence impact upon pulling the trigger switch and will continuously apply impact without auto-stopping.
Soft mode is a mode that does not inflict damage on thin nails or decorative materials. Power mode can be used for normal work up to heavy load work.
Bolt mode has a short pull margin for the trigger switch, making the driver ideal for high-speed tightening work. The bolt single mode controls the impact, allowing control of the tightening force. Use this mode for delicate work such as tightening bolts for racks, fences, furniture, etc. Self-drilling screw mode is ideal for tightening self-drilling screws by reducing the chances of overtightening that could result in severing the screw head, breaking the screw, or slippage.
NOTE
- The appropriate mode diff ers depending on the screw and the material being screwed. Drive in a few test screws and adjust the mode setting accordingly.
- The tightening mode selector switch can only be set after the battery has been installed in the driver and the trigger switch has been pulled once.
MAINTENANCE AND INSPECTION
- Inspecting the driver bit Using a broken bit or one with a worn-out tip is dangerous because the bit can slip. Replace it.
- Inspecting the mounting screws
Regularly inspect all mounting screws and ensure that they are properly tightened. Should any of the screws be loose, retighten them immediately. Failure to do so could result in serious hazards. - Maintenance of the motor
The motor unit winding is the very “heart” of the power tool. Exercise due care to ensure the winding does not become damaged and/or wet with oil or water. - Inspection of terminals (tool and battery)
Check to make sure that swarf and dust have not collected on the terminals. On occasion check prior, during and after the operation.
CAUTION
Remove any swarf or dust which may have been collected on the terminals. Failure to do so may result in malfunction. - Cleaning on the outside
When the power tool is stained, wipe with a soft dry cloth or a cloth moistened with soapy water. Do not use chloric solvents, gasoline or paint thinner, for they melt plastics. - Storage
Store the power tool and battery in a place in which the temperature is less than 40°C and out of reach of children.
NOTE
Storing lithium-ion batteries.
Make sure the lithium-ion batteries have been fully charged before storing them. Prolonged storage (3 months or more) of batteries with a low charge may result in performance deterioration, significantly reducing battery usage time or rendering the batteries incapable of holding a charge. However, significantly reduced battery usage time may be recovered by repeatedly charging and using the batteries two to fi ve times.
If the battery usage time is extremely short despite repeated charging and use, consider the batteries dead and purchase new batteries.
CAUTION
In the operation and maintenance of power tools, the safety regulations and standards prescribed in each country must be observed.
Important notice on the batteries for the HiKOKI cordless power tools
Please always use one of our designated genuine batteries. We cannot guarantee the safety and performance of our cordless power tool when used with batteries other than those designated by us, or when the battery is disassembled and modified (such as disassembly and replacement of cells or other internal parts).
GUARANTEE
We guarantee HiKOKI Power Tools in accordance with statutory/country specific regulation. This guarantee does not cover defects or damage due to misuse, abuse, or normal wear and tear. In case of a complaint, please send the Power Tool, undismantled, with the GUARANTEE CERTIFICATE found at the end of this Handling instruction, to a HiKOKI Authorized Service Center.
Information concerning airborne noise and vibration
The measured values were determined according to EN62841 and declared in accordance with ISO 4871.
- Measured A-weighted sound power level: 100 dB (A)
- Measured A-weighted sound pressure level: 89 dB (A) Uncertainty K: 3 dB (A).
- Wear hearing protection.
- Vibration total values (triax vector sum) are determined according to EN62841.
- Impact tightening of fasteners of the maximum capacity of the tool:
- Vibration emission value ah = 13.3 m/s2
- Uncertainty K = 1.5 m/s2
The declared vibration total value and the declared noise emission value have been measured in accordance with a standard test method and may be used for comparing one tool with another. They may also be used in a preliminary assessment of exposure.
WARNING
- The vibration and noise emission during actual use of the power tool can differ from the declared total value depending on the ways in which the tool is used especially what kind of workpiece is processed; and
- Identify safety measures to protect the operator that is based on an estimation of exposure in the actual conditions of use (taking account of all parts of the operating cycle such as the times when the tool is switched off and when it is running idle in addition to the trigger time).
NOTE
Due to HiKOKI’s continuing program of research and development, the specifications herein are subject to change without prior notice.
TROUBLESHOOTING
Use the inspections in the table below if the tool does not operate normally. If this does not remedy the problem, consult your dealer or the HiKOKI Authorized Service Center.
Power tool
| Symptom | Possible cause | Remedy |
| Tool doesn’t run | No remaining battery power | Charge the battery. |
| The trigger switch was held down while the battery was inserted. | The safety function was activated. If the trigger switch is released once and then pulled again, the tool will run. | |
| Tool suddenly stopped | Tool was overburdened. | Get rid of the problem causing the overburden. |
| The battery is overheated. | Let the battery cool down. | |
| The trigger switch was held down for 5 minutes or more. | This is not a malfunction. The motor was automatically stopped to prevent failure of the tool. | |
| Tool bits -can’t be attached -fall off | The shape of the attachment portion doesn’t match. | Use a bit with a hexagonal shaft that has a width across flats of 6.35 mm. |
| If you are using an L-type tool bit, replace it with an S-type bit. | ||
| Switch can’t be pulled. | Forward/reverse selector button is positioned halfway. | Press the button firmly into position for the desired direction of rotation. |
| An abnormal high-pitched noise occurs when the trigger switch is pulled. | The trigger switch is being pulled only slightly. | This is not a malfunction. It does not occur if the trigger switch is pulled more fully. |
| Screw head slips or comes loose. | Bit number doesn’t match with the screw size. | Install a suitable bit. |
| The bit is worn. | Replace with a new bit. | |
| Battery cannot be installed. | Attempting to install a battery other than that specified for the tool. | Please install a multi-volt type battery. |
Charger
| Symptom | Possible cause | Remedy |
| The charge indicator lamp rapidly flickers purple, and battery charging doesn’t begin. | The battery is not inserted all the way. | Insert the battery firmly. |
| There is foreign matter in the battery terminal or where the battery is attached. | Remove the foreign matter. | |
| The charge indicator lamp blinks red, and battery charging doesn’t begin. | The battery is not inserted all the way. | Insert the battery firmly. |
| The battery is overheated. | If left alone, the battery will automatically begin charging if its temperature decreases, but this may reduce battery life. It is recommended that the battery be cooled in a well-ventilated location away from direct sunlight before charging it. | |
| Battery usage time is short even though the battery is fully charged. | The battery’s life is depleted. | Replace the battery with a new one. |
| The battery takes a long time to charge. | The temperature of the battery, the charger, or the surrounding environment is extremely low. | Charge the battery indoors or in another warmer environment. |
| The charger’s vents are blocked, causing its internal components to overheat. | Avoid blocking the vents. | |
| The cooling fan is not running. | Contact a HiKOKI Authorized Service Center for repairs. | |
| The USB power lamp has switched off and the USB device has stopped charging. | The battery’s capacity has become low. | Replace the battery with one that has capacity remaining. |
| Plug the charger’s power plug into an electric socket. |
| Symptom | Possible cause | Remedy |
| USB power lamp does not switch off even though the USB device has finished charging. | The USB power lamp lights up green to indicate that USB charging is possible. | This is not a malfunction. |
| It is unclear what the charging status of a USB device is, or whether its charging is complete. | The USB power lamp does not switch off even when charging is complete. | Examine the USB device that is charging to confirm its charging status. |
| Charging of a USB device pauses midway. | The charger was plugged into an electrical socket while the USB device was being charged using the battery as the power source. | This is not a malfunction. The charger pauses USB charging for about 5 seconds when it is differentiating between power sources. |
| A battery was inserted into the charger while the USB device was being charged using a power socket as the power source. | ||
| Charging of the USB device pauses midway when the battery and the USB device are being charged at the same time. | The battery has become fully charged. | This is not a malfunction. The charger pauses USB charging for about 5 seconds while it checks whether the battery has successfully completed charging. |
| Charging of the USB device doesn’t start when the battery and the USB device are being charged at the same time. | The remaining battery capacity is extremely low. | This is not a malfunction. When the battery capacity reaches a certain level, USB charging automatically begins. |
GUARANTEE CERTIFICATE
- Model No.
- Serial No.
- Date of Purchase
- Customer Name and Address
- Dealer Name and Address (Please stamp dealer name and address).
CONTACT INFORMATION
Hikoki Power Tools Deutschland GmbH
Siemensring 34, 47877 willich, Germany Tel: +49 2154 49930 Fax: +49 2154 499350 URL: http://www.hikoki-powertools.de.
Hikoki Power Tools Netherlands B.V.
Brabanthaven 11, 3433 PJ Nieuwegein, The Netherlands Tel: +31 30 6084040 Fax: +31 30 6067266 URL: http://www.hikoki-powertools.nl.
Hikoki Power Tools (U.K.) Ltd.
Precedent Drive, Rooksley, Milton Keynes, MK 13, 8PJ, United Kingdom Tel: +44 1908 660663 Fax: +44 1908 606642 URL: http://www.hikoki-powertools.uk.
Hikoki Power Tools France S.A.S.
Parc de l’Eglantier 22, rue des Cerisiers, Lisses-C.E. 1541, 91015 EVRY CEDEX, France Tel: +33 1 69474949 Fax: +33 1 60861416 URL: http://www.hikoki-powertools.fr.
Hikoki Power Tools Belgium N.V./S.A.
Koningin Astridlaan 51, B-1780 Wemmel, Belgium Tel: +32 2 460 1720 Fax: +32 2 460 2542 URL http://www.hikoki-powertools.be.
Hikoki Power Tools Italia S.p.A
Via Piave 35, 36077, Altavilla Vicentina (VI), Italy Tel: +39 0444 548111 Fax: +39 0444 548110 URL: http://www.hikoki-powertools.it.
Hikoki Power Tools lbérica, S.A.
C/ Puigbarral, 26-28, Pol. Ind. Can Petit, 08227 Terrassa (Barcelona), Spain Tel: +34 93 735 6722 Fax: +34 93 735 7442 URL: http://www.hikoki-powertools.es.
Hikoki Power Tools Österreich GmbH
IndustrieZentrum NÖ –Süd, Straße 7, Obj. 58/A6 2355 Wiener Neudorf, Austria Tel: +43 2236 64673/5 Fax: +43 2236 63373 URL: http://www.hikoki-powertools.at.
Hikoki Power Tools Norway AS
Kjeller Vest 7, N-2007 Kjeller, Norway Tel: (+47) 6692 6600 Fax: (+47) 6692 6650 URL: http://www.hikoki-powertools.no.
Hikoki Power Tools Sweden AB
Rotebergsvagen 2B SE-192 78 Sollentuna, Sweden Tel: (+46) 8 598 999 00 Fax: (+46) 8 598 999 40 URL: http://www.hikoki-powertools.se.
Hikoki Power Tools Denmark A/S
Lillebaeltsvej 90, 6715 Esbjerg N, Denmark Tel: (+45) 75 14 32 00 Fax: (+45) 75 14 36 66 URL: http://www.hikoki-powertools.dk.
Hikoki Power Tools Finland Oy
Tupalankatu 9, 15680 Lahti, Finland Tel: (+358) 20 7431 530 Fax: (+358) 20 7431 531 URL: http://www.hikoki-powertools.fi.
Hikoki Power Tools Hungary Kft.
1106 Bogáncsvirág u.5-7, Budapest, Hungary Tel: +36 1 2643433 Fax: +36 1 2643429 URL: http://www.hikoki-powertools.hu.
Hikoki Power Tools Polska Sp. z o. o.
ul. Gierdziejewskiego 1 02-495 Warszawa, Poland Tel: +48 22 863 33 78 Fax: +48 22 863 33 82 URL: http://www.hikoki-narzedzia.pl.
Hikoki Power Tools Czech s.r.o.
Modřická 205, 664 48 Moravany, Czech Republic Tel: +420 547 422 660 Fax: +420 547 213 588 URL: http://www.hikoki-powertools.cz.
Hikoki Power Tools Romania S.R.L.
Ring Road, No. 66, Mustang Traco Warehouses, Warehouse No.1, Pantelimon City, 077145, Ilfov County, Romania Tel: +40 371 135 109 Fax: +40 372 899 765 URL: http://www.hikoki-powertools.ro.
EC DECLARATION OF CONFORMITY
We declare under our sole responsibility that Cordless Impact Driver, identified by type and specific identification code *1), is in conformity with all relevant requirements of the directives *2) and standards *3). Technical fi le at *4) – See below. The European Standard Manager at the representative offi ce in Europe is authorized to compile the technical fi le. The declaration is applicable to the product affixed CE marking.
- WH36DC C361427S
- 2006/42/EC, 2014/30/EU, 2014/35/EU, 2011/65/EU
- EN62841-1:2015
- EN62841-2-2:2014
- EN60335-1:2012+A11:2014
- EN60335-2-29:2004+A2:2010
- EN55014-1:2006+A1:2009+A2:2011
- EN55014-2:1997+A1:2001+A2:2008
- Representative offi ce in Europe
Hikoki Power Tools Deutschland GmbH
Siemensring 34, 47877 Willich, Germany
Head offi ce in Japan.
Koki Holdings Co., Ltd.
Shinagawa Intercity Tower A, 15-1, Konan 2-chome, Minato-ku, Tokyo, Japan.
110 Code No. C99739071 G Printed in China.

































