FREEDOM 73053444 Raised Garden Bed Kit

Read all instructions prior to installing product.
Refer to manufacturers safety instructions when operating any tools.
WARNING:
- Improper installation of this product can result in personal injury. Always wear safety goggles when
cutting, drilling and assembling the product. - Incorrect installation may cause harm to the product or individual.
NOTICE:
- DO NOT attempt to assemble the kit if parts are missing or damaged.
- DO NOT return the product to the store. For assistance or replacement parts call: 1-888-418-4400.
BEFORE YOU BEGIN
Check your local zoning laws.
- Local zoning laws and Home Owners Associations may regulate the location, style and height of your product or even require a permit signoff beforehand.
- Check local codes for frost line depth and regulations.
- You must have the utility companies clearly mark your property for electrical, gas or water lines to avoid puncturing any unseen underground utilities.
TOOLS/MATERIALS NEEDED
| Safety Glasses | |
| Level | |
| No. 2 Square Drill Bit | |
| Drill | |
| Rubber Mallet | |
| Shovel |
Raised Garden Bed
Component list:
| QTY. Description | |
| 4 | Posts |
| 4 | Top Rails |
| 4 | Bottom Rails |
| 4 | Infill Boards |
| 4 | Post Caps |
| 16 | 10×11⁄2″ Square Drive Screw |
| 8 | Post Inserts |
| 1 | PVC Glue Tube |

Installation Instructions
Planning
a. Posts provided with kit are designed to be close to the ground for added stability, with bottom rail section making contact with the ground. A level ground section is preferable.
b. Pre-install the garden bed kit using instructions provided and use as reference for marking (4) post locations. Use chalk or other means necessary to mark post location(s).
Procedure
a. Match lengths of components on raised garden kit according to length.
b. Insert infill board into bottom and top rail ensuring boards are flush on both ends (Fig. 1 & 2).

c. Perform STEP B on remaining (3) raised garden wall sections.
d. Take (1) Post from Kit and insert assembled wall into routed post (Fig. 3).
e. Insert second wall assembly into remaining routed section of post. Repeat process for remaining components.
f. Install post inserts into posts. The top rail should be flush with the opening on side of post insert. Once rails are in place and secured, use (2) #10×11 ⁄2″ screws to attach post insert to rails (Fig. 4).
g. Once all (4) post inserts are installed on the top, flip garden bed 180 degrees and install remaining (4) post inserts provided with the kit. Secure each post insert using (2) #10×11 ⁄2″ screws. Ensure screws are flush with insert.
NOTE:
- Install (4) bottom inserts once all (4) top inserts have been installed and secured.
- Garden bed is symmetrical; top and bottom orientation are identical.
Placement
a. Once raised garden is assembled, place raised garden in desired location; flat ground being preferable.
b. Mark each post location. Remove the bed from the location. At each mark dig a 1″ deep hole using a shovel or post hole digger
c. Position raised garden bed into dug holes, use rubber mallet and level as needed.
d. Pack soil around dug post holes once raised garden is positioned.
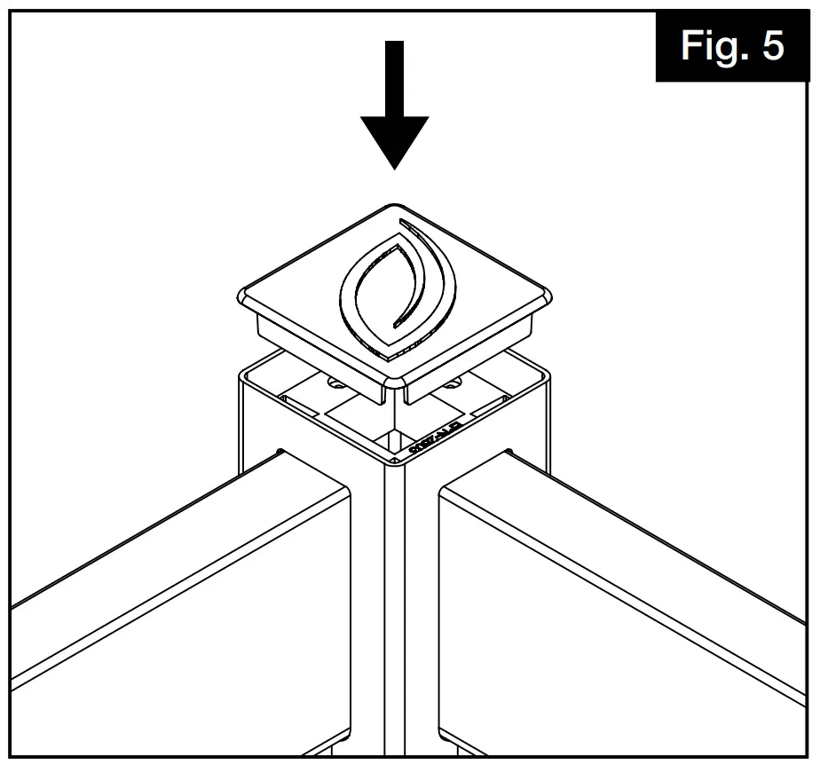
e. Apply glue on inside rim of each post top, then attach to posts (Fig. 5).
Customer Support
Barrette Outdoor Living
7830 Freeway Circle, Middleburg Heights, OH 44130
freedomproduct.com • (888) 418-4400















