Contact Us!
Do NOT return this item.
Contact our friendly customer service department for help first.
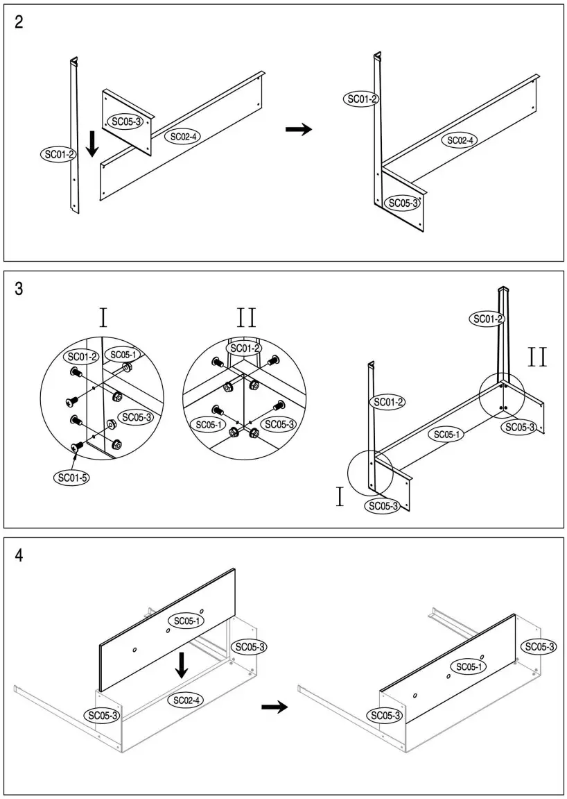
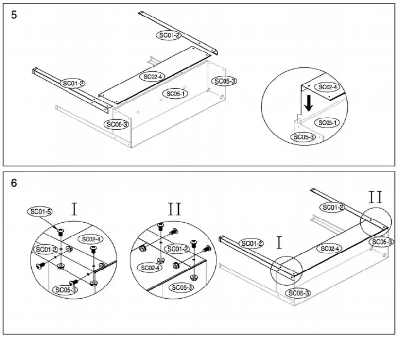
Before You Start
- Please read all instructions carefully.
- Retain instructions for future reference.
- Seperate and count all parts and hardware.
- Read through each step carefully and follow the proper order.
- We recommend that, where possible, all items are assembled near to the area in which they will be placed in use, to avoid moving the product unnecessarily once assembled.
- Always place the product on a flat, steady and stable surface.
- Keep all small parts and packaging materials for this product away from babies and children as they potentially pose a serious choking hazard.
LIST
| IMAGE | NO. | mm | QTY |
| SC05-1 | 1000×300 | 1 | |
| SC01-2 | 800 | 4 | |
| SC05-3 | 300 | 2 | |
| SC02-4 | 1000 | 2 | |
| SC01-5 | M6×10 | 16 | |
| Gp-P1 | 4 |
















