Alpulon ZMWV194 Outdoor Raised Wooden Planter Vegetable Flower Bed User Manual
Package Contents


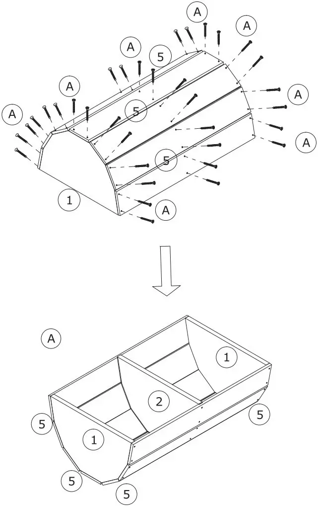
Installation Instruction





Alpulon ZMWV194 Outdoor Raised Wooden Planter Vegetable Flower Bed User Manual







Download manual
Here you can download full pdf version of manual, it may contain additional safety instructions, warranty information, FCC rules, etc.