Hcc Teletron GED7 Smart Lamp
In the box
- CD Desk lamp

- @ Adapter

- @ Quick Start Guide

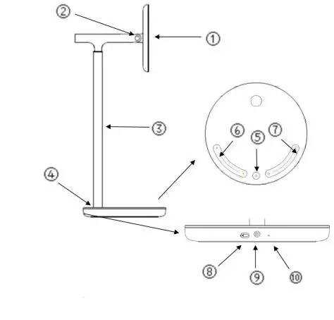
Product Overview
- Lamp head{ light}
- Hinge
- Lamp pole
- Rotation
- On/Off
- Slide {color temp.}
- Slide {brightness}
- USB
- DC jack
- Reset
OPeration
- CD Insert the power plug into the DC Jack at the base, and

- the larger power brick into the socket.
- @ Powering on/off
- Touch down on the on/off button once to turn the lamp on/off.

- @ Slide
- a} Right slide to adjust the lamp’s brightness
- b} Left slide to adjust the lamp’s color temperature

- @ Connect with your device
- a) USB connect
- b) Wifi Google Assistant
Adjustment
- CD Light source angled upwards and downwards from 0
- @The lamp pole rotated left 45° and right 45°.
- @ Adjust the length from 442mm to 658mm.

Factory Reset
The reset hole is on the back of the base. Power on the lamp, and insert a straightened tool into the hole for 5 seconds until the light flashes. The reset completely when the flash stops, and the lamp is re-lited on.

specification
- Model: GED7
- Operating temperature:-10~40°C Operating humidity: Q~85%RH Service life:2500h
- Color rendering index: Ra 93 TLCl:>95
- Rated input power: W
- Rated input:100~24ov 50/60Hz
Warning
- If the power code is damaged, it must be replaced by the manufacturer or a qualified service engineer to avoid and risk to safety.
- Suitability for use ‘indoors’.
- Please use the power resource correctly in the door.
- Do not disassemble the product. The light-emitting diode may cause damage to your eye.
User Set UP Guild Line
This equipment complies with FCC and IC radiation exposure limits set forth for an uncontrolled environment. This equipment should be installed and operated with a minimum distance of 20 cm between the radiator and your body. This transmitter must not be co-located or operating in conjunction with any other antenna or transmitter. This device complies with part 15 of the FCC rules and RSS-247 of Industry Canada. Operation is subject to the following two conditions: (1) this device may not cause harmful interference, and (2) this device must accept any interference received, including interference that may cause undesired operation. This Class B digital apparatus complies with Canadian ICES-003. Cet appareil numerique de la classe B est conforme a la norme NMB-003 du Canada. MANUFACTURER: HCC TELETOON (HK) TECHNOLOGY CO.,LIMITED ADDRESS: RM 1501 GRAND MILLENNIUM PLAZA(LOWER BLK) 181 QUEEN’S RD CENTRAL



























