Yes, you can
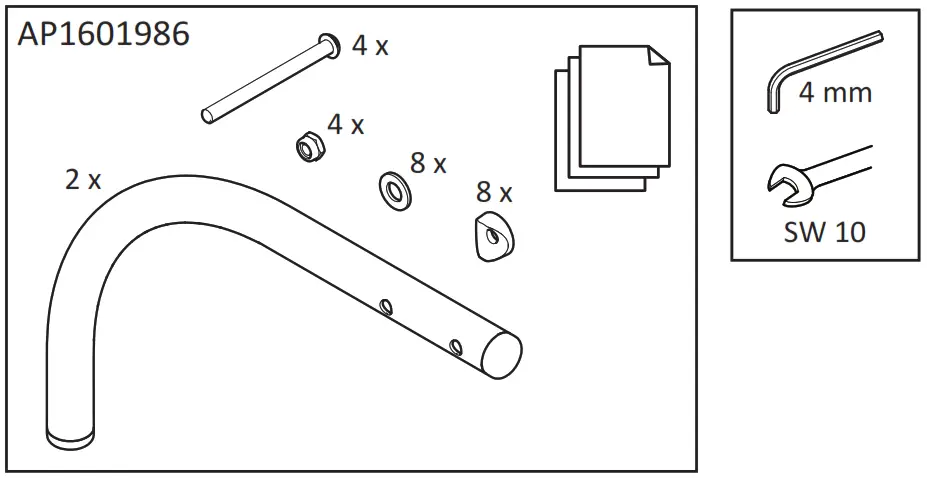
AP1601986 Aquatec Ocean Accessory Front Anti tipper
Instructions
AP1601986 Aquatec Ocean Accessory Front Anti tipper
Aquatec® Ocean Accessory
Front Anti tipper
Ocean Ergo
Ocean Ergo XL


Yes, you can
Invacare GmbH
Am Achener Hof 6
D-88316 Isny
Germany![]()


















